TOP
|
特許
|
意匠
|
商標
特許ウォッチ
Twitter
他の特許を見る
10個以上の画像は省略されています。
公開番号
2025164861
公報種別
公開特許公報(A)
公開日
2025-10-30
出願番号
2025137422,2024119199
出願日
2025-08-21,2020-09-24
発明の名称
遊技機
出願人
株式会社三洋物産
代理人
個人
主分類
A63F
5/04 20060101AFI20251023BHJP(スポーツ;ゲーム;娯楽)
要約
【課題】処理が好適に実行されるようにすることが可能な遊技機を提供すること。
【解決手段】主側MPUは、インデックス値カウンタの値が、「0」~「255」の数値範囲において当該数値範囲の最小値及び最大値を含まない「11」~「15」の数値範囲に含まれているか否かを特定し、インデックス値カウンタの値が「11」~「15」の数値範囲に含まれていることが特定された場合に所定の処理を実行する。主側MPUは、インデックス値カウンタの値を「11」減算する演算を実行し、当該演算の実行後の演算結果が「5」未満であることを特定することによりインデックス値カウンタの値が「11」~「15」の数値範囲に含まれていることを特定する。
【選択図】 図69
特許請求の範囲
【請求項1】
所定のプログラムにおいて、所定の第1プログラムアドレスには、所定の第2プログラムアドレスをジャンプ先とする所定の第1ジャンプ命令が設定されており、
前記所定の第2プログラムアドレス又は前記所定の第2プログラムアドレスに設定されている命令が実行対象となった後に実行対象となるプログラムアドレスには、所定の第3プログラムアドレスをジャンプ先とする所定の第2ジャンプ命令が設定されており、
前記所定の第1ジャンプ命令が実行対象の命令となった場合、及び前記所定の第2ジャンプ命令が実行対象の命令となった場合に、ジャンプ条件が成立しているか否かを特定するために参照される所定参照記憶領域を備え、
前記所定参照記憶領域の状態は、前記所定の第1ジャンプ命令の実行前後で維持される構成であり、
前記所定の第2ジャンプ命令が実行対象となった場合に参照されるのは、前記所定の第1ジャンプ命令が実行対象となった場合に参照される前記所定参照記憶領域と同一の前記所定参照記憶領域であり、
前記所定の第2ジャンプ命令においてジャンプ条件が満たされる前記所定参照記憶領域の状態は、前記所定の第1ジャンプ命令においてジャンプ条件が満たされる前記所定参照記憶領域の状態と同一の状態である構成であり、
前記所定の第1ジャンプ命令には、当該所定の第1ジャンプ命令が設定されている前記所定の第1プログラムアドレスを基準としてジャンプ先である前記所定の第2プログラムアドレスを特定するための情報が設定されていることを特徴とする遊技機。
発明の詳細な説明
【技術分野】
【0001】
本発明は、遊技機に関するものである。
続きを表示(約 8,100 文字)
【背景技術】
【0002】
遊技機としてパチンコ遊技機やスロットマシンが知られている。例えば、パチンコ遊技機では、遊技球を貯留する貯留部を備えており、当該貯留部に貯留された遊技球が遊技球発射装置に案内されて、遊技者の発射操作に応じて遊技領域に向けて発射される。そして、例えば遊技領域に設けられた入球部に遊技球が入球した場合に、例えば抽選処理が実行されたり、例えば遊技者が使用可能な遊技球の数を増加させるための処理が実行される。
【0003】
スロットマシンでは、メダルなどの遊技価値がベットされている状況でスタートレバーが操作されて新たなゲームが開始される場合に制御手段にて抽選処理が実行される。また、抽選処理が実行された場合には制御手段にて回転開始制御が実行されることによりリールの回転が開始され、当該リールの回転中にストップボタンが操作された場合には制御手段にて回転停止制御が実行されることによりリールの回転が停止される。そして、リールの回転停止後の停止結果が抽選処理の当選役に対応したものである場合には、当該当選役に対応した特典が遊技者に付与される(例えば特許文献1参照)。
【先行技術文献】
【特許文献】
【0004】
特開2014-045989号公報
【発明の概要】
【発明が解決しようとする課題】
【0005】
ここで、上記例示等のような遊技機においては、処理が好適に実行される必要があり、この点について未だ改良の余地がある。
【0006】
本発明は、上記例示した事情等に鑑みてなされたものであり、処理が好適に実行されるようにすることが可能な遊技機を提供することを目的とするものである。
【課題を解決するための手段】
【0007】
上記課題を解決すべく請求項1記載の発明は、所定のプログラムにおいて、所定の第1プログラムアドレスには、所定の第2プログラムアドレスをジャンプ先とする所定の第1ジャンプ命令が設定されており、
前記所定の第2プログラムアドレス又は前記所定の第2プログラムアドレスに設定されている命令が実行対象となった後に実行対象となるプログラムアドレスには、所定の第3プログラムアドレスをジャンプ先とする所定の第2ジャンプ命令が設定されており、
前記所定の第1ジャンプ命令が実行対象の命令となった場合、及び前記所定の第2ジャンプ命令が実行対象の命令となった場合に、ジャンプ条件が成立しているか否かを特定するために参照される所定参照記憶領域を備え、
前記所定参照記憶領域の状態は、前記所定の第1ジャンプ命令の実行前後で維持される構成であり、
前記所定の第2ジャンプ命令が実行対象となった場合に参照されるのは、前記所定の第1ジャンプ命令が実行対象となった場合に参照される前記所定参照記憶領域と同一の前記所定参照記憶領域であり、
前記所定の第2ジャンプ命令においてジャンプ条件が満たされる前記所定参照記憶領域の状態は、前記所定の第1ジャンプ命令においてジャンプ条件が満たされる前記所定参照記憶領域の状態と同一の状態である構成であり、
前記所定の第1ジャンプ命令には、当該所定の第1ジャンプ命令が設定されている前記所定の第1プログラムアドレスを基準としてジャンプ先である前記所定の第2プログラムアドレスを特定するための情報が設定されていることを特徴とする。
【発明の効果】
【0008】
本発明によれば、処理が好適に実行されるようにすることが可能となる。
【図面の簡単な説明】
【0009】
第1の実施形態におけるスロットマシンの正面図である。
前面扉を開いた状態を示すスロットマシンの斜視図である。
筐体の正面図である。
各リールの図柄配列を示す図である。
表示窓部から視認可能となる図柄と組合せラインとの関係を示す説明図である。
入賞態様と付与される特典との関係を示す説明図である。
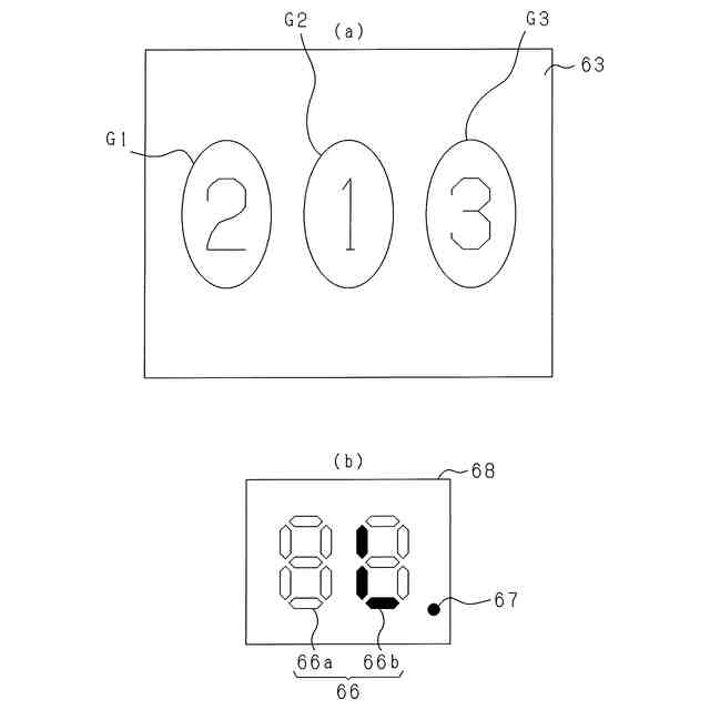
(a)共通表示領域の正面図であり、(b)兼用表示部にて実行される停止順対応表示の表示内容を説明するための説明図である。
(a),(b)画像表示装置にて実行される停止順報知の報知内容と兼用表示部にて実行される停止順対応表示の表示内容との関係を説明するための説明図である。
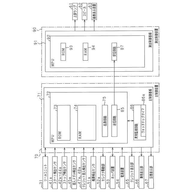
スロットマシンの電気的構成図である。
主側MPUにて実行されるメイン処理を示すフローチャートである。
主側MPUにて実行されるタイマ割込み処理を示すフローチャートである。
主側MPUにて実行される停電時処理を示すフローチャートである。
主側MPUにて実行される通常処理を示すフローチャートである。
主側RAMの構成を説明するための説明図である。
主側MPUにて実行される開始待ち処理を示すフローチャートである。
主側MPUにて実行されるベット対応処理を示すフローチャートである。
(a)主側MPUにて実行されるベット状態管理処理を示すフローチャートであり、(b)主側MPUにて実行される開始時の設定処理を示すフローチャートである。
主側MPUにて実行される役の抽選処理を示すフローチャートである。
3枚ベット時の役抽選テーブルを説明するための説明図である。
2枚ベット時の役抽選テーブルを説明するための説明図である。
リールの停止順序と成立する入賞態様との関係を説明するための説明図である。
主側MPUにて実行されるリール制御処理を示すフローチャートである。
スロットマシンに存在している遊技状態及び遊技区間を説明するための説明図である。
(a)兼用表示部にて停止順対応表示が実行される条件、比率表示が実行される条件及び付与数表示が実行される条件を説明するための説明図であり、(b)インデックス値カウンタの値、停止順種別カウンタの値及び兼用表示部にて実行される停止順対応表示の表示内容の関係を説明するための説明図であり、(c)主側ROMの構成を説明するための説明図である。
主側MPUにて実行される抽選結果対応処理を示すフローチャートである。
主側MPUにて実行される入賞判定処理を示すフローチャートである。
主側MPUにて実行される管理用処理を示すフローチャートである。
主側MPUにて実行されるポート出力処理を示すフローチャートである。
(a)~(i)兼用表示部にて停止順対応表示及び付与数表示が実行される様子を示すタイムチャートである。
(a)~(f)兼用表示部にて比率表示及び付与数表示が実行される様子を示すタイムチャートである。
(a)遊技区間エリアの構成を説明するための説明図であり、(b)遊技状態エリアの構成を説明するための説明図である。
主側MPUにて実行される遊技終了時の対応処理を示すフローチャートである。
主側MPUにて実行されるCB用処理を示すフローチャートである。
主側MPUにて実行される遊技区間の第1制御処理を示すフローチャートである。
(a)解除ゲーム数抽選テーブルの内容を説明するための説明図であり、(b)主側MPUにて実行される解除ゲーム数抽選処理を示すフローチャートである。
主側MPUにて実行される遊技区間の第2制御処理を示すフローチャートである。
主側MPUにて実行されるエンディング対応処理を示すフローチャートである。
主側MPUにて実行されるゲーム開始時の有利抽選処理を示すフローチャートである。
主側MPUにて実行される通常用処理を示すフローチャートである。
主側MPUにて実行されるゲーム開始時の有利状態用処理を示すフローチャートである。
主側MPUにて実行される疑似ボーナス用処理を示すフローチャートである。
主側MPUにて実行されるAT用処理を示すフローチャートである。
(a)第1上乗せ抽選テーブルの内容を説明するための説明図であり、(b)第2上乗せ抽選テーブルの内容を説明するための説明図であり、(c)主側MPUにて実行される開始時上乗せ用処理を示すフローチャートである。
主側MPUにて実行されるコマンド出力処理を示すフローチャートである。
主側MPUから演出側MPUに対してコマンドを送信するための主制御基板及び演出制御基板の電気的構成を説明するための説明図である。
(a)ヘッダのデータ構成を説明するための説明図であり、(b)フッタのデータ構成を説明するための説明図であり、(c)開始時コマンド、終了時コマンド及び復電コマンドに設定される記憶エリアの主側RAMにおける設定態様を説明するための説明図である。
(a)開始時コマンド及び終了時コマンドのデータ構成を説明するための説明図であり、(b)変換後開始時コマンドのデータ構成を説明するための説明図であり、(c)変換後終了時コマンドのデータ構成を説明するための説明図である。
(a)開始時コマンドの変換態様を説明するための説明図であり、(b)終了時コマンドの変換態様を説明するための説明図である。
(a)変換後開始時コマンドに基づいて演出側MPUが把握する内容を説明するための説明図であり、(b)変換後終了時コマンドに基づいて演出側MPUが把握する内容を説明するための説明図である。
主側MPUにて実行される共通コマンド送信処理を示すフローチャートである。
主側MPUにて実行される最上位集約処理を示すフローチャートである。
演出側MPUにて実行されるコマンド受信対応処理を示すフローチャートである。
演出側MPUにて実行される最上位設定処理を示すフローチャートである。
演出側MPUにて実行されるコマンド変換処理を示すフローチャートである。
演出側MPUにて実行される開始時受信対応処理を示すフローチャートである。
演出側MPUにて実行される入賞結果受信対応処理を示すフローチャートである。
演出側MPUにて実行される終了時受信対応処理を示すフローチャートである。
演出側MPUにて実行される第2区間対応処理を示すフローチャートである。
演出側MPUにて実行される疑似ボーナス状態対応処理を示すフローチャートである。
演出側MPUにて実行されるAT状態対応処理を示すフローチャートである。
(a)主側MPUの構成を説明するための説明図であり、(b)主側ROMにおけるデータ及びプログラムの設定態様を説明するための説明図である。
(a)ジャンプ命令の種類を説明するための説明図であり、(b)主側MPUにて実行される電源遮断待機処理のプログラム内容を説明するための説明図であり、(c)行番号「1001」のOUT命令が実行された場合におけるジャンプフラグの状態を説明するための説明図である。
(a)スロットマシンからホールコンピュータに信号を外部出力するための構成を説明するための説明図であり、(b)主側MPUにて実行される外部出力設定処理を示すフローチャートであり、(c)AT状態フラグの値及びAT状態信号カウンタの値とAT状態信号との関係を説明するための説明図である。
(a)主側MPUにて実行されるAT状態信号設定処理のプログラム内容を説明するための説明図であり、(b),(c)AT状態信号設定処理及びAT状態信号設定処理の比較例において、「ADR112」というプログラムアドレスから「ADR114」というプログラムアドレスにジャンプするために設定されているジャンプ命令を説明するための説明図である。
「246」を加算する前のAレジスタの値と、「246」を加算した後のAレジスタの値及びキャリーフラグCFの値との関係を説明するための説明図である。
主側MPUにて実行される抽選結果対応処理のプログラム内容を説明するための説明図である。
(a)抽選結果対応処理の第1比較例のプログラム内容を説明するための説明図であり、(b)「1」~「9」のインデックス値に当選していることを条件として停止順種別カウンタに停止順種別番号を設定する処理を実行するために設定されている命令について説明するための説明図である。
(a),(b)抽選結果対応処理及び抽選結果対応処理の第2比較例において、「ADR122」というプログラムアドレス及び「ADR125」というプログラムアドレスから「ADR126」というプログラムアドレスにジャンプするために設定されているジャンプ命令を説明するための説明図である。
(a)「11」減算前のAレジスタの値と、「11」減算後のAレジスタの値及び「11」減算後のキャリーフラグの値との関係を説明するための説明図であり、(b)主側MPUにて実行される開始時上乗せ用処理のプログラム内容を説明するための説明図である。
(a)開始時上乗せ用処理の第1比較例のプログラム内容を説明するための説明図であり、(b)開始時上乗せ用処理及び開始時上乗せ用処理の第1比較例において、第1上乗せ抽選テーブルを選択するために設定されている命令及び第2上乗せ抽選テーブルを選択するために設定されている命令を説明するための説明図である。
(a),(b)開始時上乗せ用処理及び開始時上乗せ用処理の第2比較例において「ADR131」というプログラムアドレス及び「ADR132」というプログラムアドレスから「ADR133」というプログラムアドレスにジャンプするために設定されているジャンプ命令を説明するための説明図である。
(a)第2の実施形態における主側RAM74の構成を説明するための説明図であり、(b)主側MPUにて実行される共通コマンド送信処理を示すフローチャートである。
主側MPUにて実行される最上位集約処理を示すフローチャートである。
(a)第3の実施形態における主側RAMの構成を説明するための説明図であり、(b)主側MPUにて実行される共通コマンド送信処理を示すフローチャートである。
主側MPUにて実行される最上位集約処理を示すフローチャートである。
(a)第4の実施形態における共通データテーブルのデータ構成を説明するための説明図であり、(b)主側RAMの構成を説明するための説明図である。
主側MPUにて実行される共通コマンド送信処理を示すフローチャートである。
主側MPUにて実行される最上位集約処理を示すフローチャートである。
(a)第5の実施形態における主側ROMの共通データテーブルが設定されているアドレス範囲のうち、開始時コマンドに設定されるデータが格納されている主側RAMの記憶エリアのアドレスが設定されているアドレス範囲、及び終了時コマンドに設定されるデータが格納されている主側RAMの記憶エリアのアドレスが設定されているアドレス範囲を説明するための説明図であり、(b)開始時コマンドのデータ構成を説明するための説明図であり、(c)終了時コマンドのデータ構成を説明するための説明図である。
(a)主側MPUから演出側MPUに対してコマンドを送信するための主制御基板及び演出制御基板の電気的構成を説明するための説明図であり、(b)最上位設定エリアの構成を説明するための説明図である。
主側MPUにて実行される共通コマンド送信処理を示すフローチャートである。
演出側MPUにて実行されるコマンド受信対応処理を示すフローチャートである。
演出側MPUにて実行される最上位設定処理を示すフローチャートである。
(a)第6の実施形態における共通データテーブルの構成を説明するための説明図であり、(b)開始時コマンドのデータ構成を説明するための説明図であり、(c)終了時コマンドのデータ構成を説明するための説明図である。
主側RAMの構成を説明するための説明図である。
主側MPUにて実行される共通コマンド送信処理を示すフローチャートである。
主側MPUにて実行される最上位集約処理を示すフローチャートである。
演出側MPUにて実行される最上位設定処理を示すフローチャートである。
(a)第7の実施形態における兼用表示部が全消灯状態となる条件、兼用表示部にて停止順対応表示が実行される条件、比率表示が実行される条件及び付与数表示が実行される条件を説明するための説明図であり、(b)主側RAMの構成を説明するための説明図であり、(c)主側MPUにて実行される開始時の設定処理を示すフローチャートである。
主側MPUにて実行されるリール制御処理を示すフローチャートである。
主側MPUにて実行されるポート出力処理を示すフローチャートである。
(a)~(k)兼用表示部にて停止順対応表示が行われるゲームにおいて兼用表示部が全消灯状態となる様子を示すタイムチャートである。
(a)~(i)兼用表示部にて停止順対応表示が行われないゲームにおいて兼用表示部が全消灯状態となる様子を示すタイムチャートである。
(a)第8の実施形態における主側RAMの構成を説明するための説明図であり、(b)主側MPUにて実行される抽選結果対応処理を示すフローチャートである。
主側MPUにて実行されるタイマ減算処理を示すフローチャートである。
(a)~(j)兼用表示部にて停止順対応表示が行われないゲームにおいて兼用表示部が全消灯状態となる様子を示すタイムチャートである。
(a)第9の実施形態における兼用表示部にて実行される非誘導表示の表示態様を説明するための説明図であり、(b)兼用表示部にて非誘導表示が実行される条件、停止順対応表示が実行される条件、比率表示が実行される条件及び付与数表示が実行される条件を説明するための説明図であり、(c)主側MPUにて実行される抽選結果対応処理を示すフローチャートである。
主側MPUにて実行されるポート出力処理を示すフローチャートである。
(a)~(h)兼用表示部にて非誘導表示が実行される様子を示すタイムチャートである。
(a)第10の実施形態における主側MPUにて実行される開始時上乗せ用処理のプログラム内容を説明するための説明図であり、(b),(c)開始時上乗せ用処理及び開始時上乗せ用処理の第3比較例において「ADR141」というプログラムアドレス及び「ADR142」というプログラムアドレスから「ADR133」というプログラムアドレスにジャンプするために設定されているジャンプ命令を説明するための説明図である。
【発明を実施するための形態】
【0010】
<第1の実施形態>
以下、遊技機の一種であるスロットマシン10に本発明を適用した場合の第1の実施形態を、図面に基づいて詳細に説明する。図1はスロットマシン10の正面図であり、図2はスロットマシン10の前面扉12を開いた状態の斜視図であり、図3は筐体11の正面図である。
(【0011】以降は省略されています)
この特許をJ-PlatPat(特許庁公式サイト)で参照する
関連特許
株式会社三洋物産
遊技機
2か月前
株式会社三洋物産
遊技機
1か月前
株式会社三洋物産
遊技機
1か月前
株式会社三洋物産
遊技機
1か月前
株式会社三洋物産
遊技機
1か月前
株式会社三洋物産
遊技機
1か月前
株式会社三洋物産
遊技機
1か月前
株式会社三洋物産
遊技機
1か月前
株式会社三洋物産
遊技機
1か月前
株式会社三洋物産
遊技機
1か月前
株式会社三洋物産
遊技機
1か月前
株式会社三洋物産
遊技機
1か月前
株式会社三洋物産
遊技機
1か月前
株式会社三洋物産
遊技機
1か月前
株式会社三洋物産
遊技機
1か月前
株式会社三洋物産
遊技機
1か月前
株式会社三洋物産
遊技機
1か月前
株式会社三洋物産
遊技機
1か月前
株式会社三洋物産
遊技機
1か月前
株式会社三洋物産
遊技機
1か月前
株式会社三洋物産
遊技機
1か月前
株式会社三洋物産
遊技機
1か月前
株式会社三洋物産
遊技機
1か月前
株式会社三洋物産
遊技機
1か月前
株式会社三洋物産
遊技機
1か月前
株式会社三洋物産
遊技機
1か月前
株式会社三洋物産
遊技機
1か月前
株式会社三洋物産
遊技機
1か月前
株式会社三洋物産
遊技機
1か月前
株式会社三洋物産
遊技機
1か月前
株式会社三洋物産
遊技機
1か月前
株式会社三洋物産
遊技機
1か月前
株式会社三洋物産
遊技機
1か月前
株式会社三洋物産
遊技機
1か月前
株式会社三洋物産
遊技機
1か月前
株式会社三洋物産
遊技機
1か月前
続きを見る
他の特許を見る