TOP
|
特許
|
意匠
|
商標
特許ウォッチ
Twitter
他の特許を見る
10個以上の画像は省略されています。
公開番号
2025164612
公報種別
公開特許公報(A)
公開日
2025-10-30
出願番号
2024068714
出願日
2024-04-19
発明の名称
受発注システム
出願人
株式会社HANABENI
代理人
個人
主分類
G06Q
30/06 20230101AFI20251023BHJP(計算;計数)
要約
【課題】引渡日より所定期間以上前に商品の受発注が行われることを促進しロスの低減を図る受発注システム
【解決手段】商品の販売の申出を行う第1の商品表示処理部と、第1の商品表示処理部により利用者端末に表示され、候補日から選択された引渡日または発送日が指定された前記商品の購入の意思決定に関する情報を、利用者端末から受け付ける第1の受注処理部と、前記商品のキャンセル受付処理部と、前記商品の購入のキャンセルに係る利用者に対して、未来の商品購入時に対価として利用できるポイントまたは割引クーポンを付与するキャンセル時還元処理部と、前記キャンセル受付処理部で受け付けられた前記商品について、前記第1の受注処理部が受け付ける際に指定された前記引渡日または発送日を含むキャンセル商品情報を利用者端末に表示し、前記引渡日または発送日が特定された前記商品の販売の申出を行う第2の商品表示処理部と、を有する受発注システム。
【選択図】図1
特許請求の範囲
【請求項1】
所定の商品の情報と、表示時より所定期間以上未来の引渡日または発送日の候補日とを利用者端末に表示し、前記商品の販売の申出を行う第1の商品表示処理部と、
前記第1の商品表示処理部により利用者端末に表示され、前記候補日から選択された前記引渡日または発送日が指定された前記商品の購入の意思決定に関する情報を、利用者端末から受け付ける第1の受注処理部と、
前記第1の受注処理部によって受け付けられた前記商品の購入について、前記商品の購入をキャンセルする意思表示に関する情報を、前記商品の購入に係る利用者の利用者端末から受け付けるキャンセル受付処理部と、
前記キャンセル受付処理部で受け付けられた前記商品の購入のキャンセルに係る利用者に対して、前記商品を提供する提供者に対する未来の商品購入時に対価として利用できるポイントまたは割引クーポンを付与するキャンセル時還元処理部と、
前記キャンセル受付処理部で受け付けられた前記商品について、前記第1の受注処理部が受け付ける際に指定された前記引渡日または発送日を含むキャンセル商品情報を利用者端末に表示し、前記引渡日または発送日が特定された前記商品の販売の申出を行う第2の商品表示処理部と、
前記第2の商品表示処理部により表示された前記商品の購入の意思決定に関する情報を、利用者端末から受け付ける第2の受注処理部と、を有する受発注システム。
続きを表示(約 960 文字)
【請求項2】
前記第1の商品表示処理部は、前記商品の販売の申出を行う際において、前記商品を第1の価格として表示し、
前記第2の商品表示処理部は、前記キャンセル受付処理部で受け付けられた前記商品についての販売の申出を行う際において、前記商品の価格を前記第1の価格より安い第2の価格として表示する、請求項1に記載の受発注システム。
【請求項3】
前記キャンセル時還元処理部が前記商品の購入のキャンセルに係る利用者に対して付与する前記ポイントまたは割引クーポンの価値は、前記第2の価格以下である請求項2に記載の受発注システム。
【請求項4】
前記キャンセル時還元処理部が前記商品の購入のキャンセルに係る利用者に対して付与する前記ポイントまたは割引クーポンの価値は、キャンセル時における前記第1の受注処理部により受け付けられた前記商品の前記引渡日または発送日までの期間の長さに応じて異なる請求項1に記載の受発注システム。
【請求項5】
前記第2の商品表示処理部が前記キャンセル受付処理部で受け付けられた前記商品について販売の申出を行う際における前記商品の価格は、前記第1の受注処理部により受け付けられた前記引渡日または発送日までの期間の長さに応じて変動する請求項1に記載の受発注システム。
【請求項6】
前記キャンセル時還元処理部が前記商品の購入のキャンセルに係る利用者に対して付与する前記ポイントまたは割引クーポンの価値は、前記キャンセル受付処理部で受け付けられた前記商品について、前記第2の受注処理部が購入を受け付けた際における前記商品の価格に対応する請求項1に記載の受発注システム。
【請求項7】
前記キャンセル時還元処理部が付与した前記ポイントまたは割引クーポンについて、他の利用者に譲渡したい旨の意思表示を、前記ポイントまたは割引クーポンを付与された利用者から受け付けるポイント譲渡受付部と、
前記ポイント譲渡受付部で受け付けた前記ポイントまたは割引クーポンについて、前記ポイントまたは割引クーポンの利用条件を表示して、譲渡の申出が行われている旨を表示するポイント譲渡表示部と、を有する請求項1に記載の受発注システム。
発明の詳細な説明
【技術分野】
【0001】
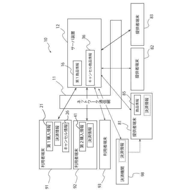
本発明は、通信ネットワークを介して提供者の商品を利用者が発注する受発注システムに関する。
続きを表示(約 2,000 文字)
【背景技術】
【0002】
近年の環境意識の高まりを受けて、社会における様々なロス、たとえば食品のロスや衣類ロスのような様々ロスを低減するための取り組みがなされている。特に、大量一括生産方式を用いてコストダウンを図り、市場競争力を得ようとする経済活動を見直すべきであるとの機運が高まっている。
【0003】
一方、社会におけるロスの低減を目指す場合においては、サービスや商品の提供者や製造者が考え方や在り方を変える必要があるのに加えて、サービスや商品の利用者および消費者も、考え方や行動様式を変える必要がある。たとえば、サービスや商品の利用者および消費者が、価格だけでなく、環境対策などを意識した購買行動を行うようになれば、社会におけるロスの低減に向けて大きな追い風となる。
【0004】
例えば、消費者の購買行動の偏りが大きく劣化の激しい食品などの分野では、購入者が引渡時より所定期間前に予約購入し、提供者側が受注してから生産するいわゆる受注生産方式の割合を高めることで、ロスの低減を大きく図ることができる。また、スマートフォンなどを利用して、簡単に料理を事前予約購入可能なシステムも提案されている(特許文献1等参照)。
【0005】
このように、購入者が引渡時よりかなり前に商品を予約購入することは、ロスの低減につながり社会的メリットが大きいと考えられる。しかしながら、現状においては、購入時点から引渡および提供時までの期間の長い商品は不人気の傾向にあり、このような状況を打開する対策が期待されている。
【先行技術文献】
【特許文献】
【0006】
特開2011-248706号公報
【発明の概要】
【発明が解決しようとする課題】
【0007】
本発明は、引渡日または発送日より所定期間以上前に商品の受発注が行われることを促進しロスの低減を図る受発注システムに関する。
【課題を解決するための手段】
【0008】
本発明に係る受発注システムは、
所定の商品の情報と、表示時より所定期間以上未来の引渡日または発送日の候補日とを利用者端末に表示し、前記商品の販売の申出を行う第1の商品表示処理部と、
前記第1の商品表示処理部により利用者端末に表示され、前記候補日から選択された前記引渡日または発送日が指定された前記商品の購入の意思決定に関する情報を、利用者端末から受け付ける第1の受注処理部と、
前記第1の受注処理部によって受け付けられた前記商品の購入について、前記商品の購入をキャンセルする意思表示に関する情報を、前記商品の購入に係る利用者の利用者端末から受け付けるキャンセル受付処理部と、
前記キャンセル受付処理部で受け付けられた前記商品の購入のキャンセルに係る利用者に対して、前記商品を提供する提供者に対する未来の商品購入時に対価として利用できるポイントまたは割引クーポンを付与するキャンセル時還元処理部と、
前記キャンセル受付処理部で受け付けられた前記商品について、前記第1の受注処理部が受け付ける際に指定された前記引渡日または発送日を含むキャンセル商品情報を利用者端末に表示し、前記引渡日または発送日が特定された前記商品の販売の申出を行う第2の商品表示処理部と、
前記第2の商品表示処理部により表示された前記商品の購入の意思決定に関する情報を、利用者端末から受け付ける第2の受注処理部と、を有する。
【0009】
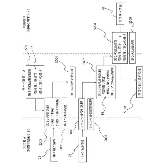
本発明に係る受発注システムは、キャンセル受付処理部がキャンセルを受け付け、キャンセル時還元処理部がキャンセルした利用者にポイントや割引クーポンを提供することで、商品を引渡日や発送日より所定期間以上前に予約購入する際における利用者の心理的障壁を下げることができる。また、第2の商品表示処理部により、キャンセルされた商品は、引渡日または発送日が固定された状態で再販売されるため、キャンセル発生時における売れ残りによるロスを抑制するとともに、キャンセル発生時においても提供者の売上増加を図ることができる。このようなシステムは、商品の提供者と商品を購入する利用者との双方にメリットを与えることができるので、効果的に商品の事前受発注を促進し、ロスを低減することができる。
【0010】
また、たとえば、前記第1の商品表示処理部は、前記商品の販売の申出を行う際において、前記商品を第1の価格として表示し、
前記第2の商品表示処理部は、前記キャンセル受付処理部で受け付けられた前記商品についての販売の申出を行う際において、前記商品の価格を前記第1の価格より安い第2の価格として表示してもよい。
(【0011】以降は省略されています)
この特許をJ-PlatPat(特許庁公式サイト)で参照する
関連特許
他の特許を見る