TOP
|
特許
|
意匠
|
商標
特許ウォッチ
Twitter
他の特許を見る
10個以上の画像は省略されています。
公開番号
2025164335
公報種別
公開特許公報(A)
公開日
2025-10-30
出願番号
2024068215
出願日
2024-04-19
発明の名称
ディスプレイファイル
出願人
株式会社ポケモン
代理人
個人
主分類
B42F
5/04 20060101AFI20251023BHJP(製本;アルバム;ファイル;特殊印刷物)
要約
【課題】被収納物の鑑賞の多様化を図ることができるディスプレイファイルを提供する。
【解決手段】ディスプレイファイル1は、第1台紙20と、第1台紙20に対向可能な第2台紙30と、第1台紙20の端部と第2台紙30の端部とを接続する接続部40と、被収納物を収納可能であり、1以上の連結孔910が設けられている袋体90を、1以上の連結孔910において第1台紙20に着脱可能に連結すると共に連結孔910に通され、接続部40が設けられていない第1台紙20の少なくとも一の縁近傍に設けられる連結部55とを備える。
【選択図】図4
特許請求の範囲
【請求項1】
第1台紙と、
前記第1台紙に対向可能な第2台紙と、
前記第1台紙の端部と前記第2台紙の端部とを接続する接続部と、
被収納物を収納可能であり、1以上の連結孔が設けられている袋体を、1以上の前記連結孔において前記第1台紙に着脱可能に連結すると共に前記連結孔に通され、前記接続部が設けられていない前記第1台紙の少なくとも一の縁近傍に設けられる連結部と
を備えるディスプレイファイル。
続きを表示(約 1,000 文字)
【請求項2】
前記第2台紙が、前記接続部を軸として前記第1台紙に対して360°回動可能である請求項1に記載のディスプレイファイル。
【請求項3】
前記袋体が、前記第1台紙の表面及び裏面から突出する前記連結部に沿って前記第1台紙に対して360°回動可能である請求項1に記載のディスプレイファイル。
【請求項4】
前記第1台紙と前記第2台紙とが対向したとき、前記第1台紙に設けられた1以上の前記連結部に対向する位置であって、前記第2台紙の少なくとも一の縁に設けられる1以上の切欠き部
を更に備える請求項1に記載のディスプレイファイル。
【請求項5】
前記袋体が前記連結部に沿って回動することにより、前記第1台紙の表面と前記袋体の裏面とが対向する形態、前記第2台紙の裏面と前記袋体の裏面とが対向する形態、前記第1台紙の裏面と前記袋体の表面とが対向する形態、及び前記第2台紙の表面と前記袋体の表面とが対向する形態からなる群から選択されるいずれか1つの形態になる請求項1に記載のディスプレイファイル。
【請求項6】
前記袋体が、前記被収納物を収納可能な複数の収納部と、一の収納部と当該一の収納部の隣の他の収納部との間に設けられ透過性を有する収納接続部とを有する請求項1に記載のディスプレイファイル。
【請求項7】
前記連結部が、複数設けられ、
複数の前記袋体が、複数の前記連結部それぞれに互いに独立して連結される請求項1に記載のディスプレイファイル。
【請求項8】
前記第1台紙の表面、前記第1台紙の裏面、前記第2台紙の表面、及び前記第2台紙の裏面からなる群から選択される少なくとも1つの面に、所定の画像が表示される請求項1に記載のディスプレイファイル。
【請求項9】
前記第1台紙の表面、前記第1台紙の裏面、前記第2台紙の表面、及び前記第2台紙の裏面からなる群から選択される少なくとも1つの面の端近傍に、前記袋体を前記第1台紙若しくは前記第2台紙に固定可能な固定部
を更に備える請求項1に記載のディスプレイファイル。
【請求項10】
前記袋体の表面及び前記袋体の裏面はそれぞれ、前記第1台紙の表面若しくは裏面又は前記第2台紙の表面若しくは裏面のいずれと対向させるかについて設定されており、
前記袋体の表面及び裏面には、前記設定を示す目印が付されている請求項1に記載のディスプレイファイル。
(【請求項11】以降は省略されています)
発明の詳細な説明
【技術分野】
【0001】
本発明は、ディスプレイファイルに関する。特に、本発明は、トレーディングカード等のアナログのカード形状の被収納物を収納し、鑑賞可能なディスプレイファイルに関する。
続きを表示(約 2,200 文字)
【背景技術】
【0002】
従来、カード類収納用台紙と、このカード類収納用台紙の綴じ代部に接着されてその綴じ代部の表裏両面を覆う綴じ込み部材と、カード類収納用台紙が多数枚重合され綴じ込み部材の綴じ込み側が無線綴りされた無線綴じ部とからブロック状の被綴じ体が構成され、このブロック状の被綴じ体に表紙を装丁して構成されるカード類収納用製本が知られている(例えば、特許文献1参照)。特許文献1に記載のカード類収納用製本によれば、全体の薄性化、軽量化に対応することができる。
【先行技術文献】
【特許文献】
【0003】
特開2001-270584公報
【発明の概要】
【発明が解決しようとする課題】
【0004】
しかし、特許文献1に記載のカード類収納用製本等を含め様々な従来のファイルや所定のカード類を収納する従来のアルバムにおいては、透明なカード類収納用のシートのポケットにカードを収納するのでカードを鑑賞できるものの、シートの端部がファイルやアルバムの背表紙に綴じられていることから、カード等の被収納物の鑑賞の多様化を図ることができない。
【0005】
したがって、本発明の目的は、被収納物の鑑賞の多様化を図ることができるディスプレイファイルを提供することにある。
【課題を解決するための手段】
【0006】
本発明は、上記目的を達成するため、第1台紙と、第1台紙に対向可能な第2台紙と、第1台紙の端部と第2台紙の端部とを接続する接続部と、被収納物を収納可能であり、1以上の連結孔が設けられている袋体を、1以上の連結孔において第1台紙に着脱可能に連結すると共に連結孔に通され、接続部が設けられていない第1台紙の少なくとも一の縁近傍に設けられる連結部とを備えるディスプレイファイルが提供される。
【発明の効果】
【0007】
本発明に係るディスプレイファイルによれば、被収納物の鑑賞の多様化を図ることができるディスプレイファイルを提供できる。
【図面の簡単な説明】
【0008】
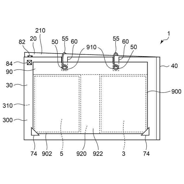
本実施形態に係るファイル本体の構成図である。
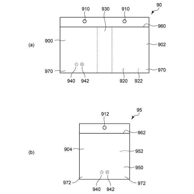
本実施形態に係るディスプレイファイルの袋体の構成図である。
本実施形態に係るディスプレイファイルの構成図である。
本実施形態に係るディスプレイファイルの使用方法の概要図である。
本実施形態に係るディスプレイファイルの使用方法の概要図である。
本実施形態に係るディスプレイファイルの使用方法の概要図である。
本実施形態に係るディスプレイファイルの使用方法の概要図である。
本実施形態に係るディスプレイファイルが備える袋体の背景の図である。
本実施形態に係るディスプレイファイルが備える袋体の他の背景の図である。
本実施形態に係るディスプレイファイルの第1の変形例の図である。
本実施形態に係るディスプレイファイルの第2の変形例の図である。
本実施形態に係るファイル本体の変形例の図である。
【発明を実施するための形態】
【0009】
[実施の形態]
<ディスプレイファイル1の概要>
本実施形態に係るディスプレイファイル1は、被収納物を収納するディスプレイファイルであって、第1台紙及び第2台紙を備える。そして、第1台紙の端部と第2台紙の端部とが一体的に接続されることでファイル本体が構成される。ファイル本体は、第1台紙と第2台紙とが略平面状になるように展開することが可能な見開き状態と、第1台紙の表面と第2台紙の表面とが向かい合う閉じ状態と、第1台紙と第2台紙との接続部分において当該状態から折り返して第1台紙の裏面と第2台紙の裏面とが向かい合う閉じ状態との各状態を取り得る構成を備える。更に、ディスプレイファイル1においては、第1台紙(若しくは第2台紙)の縁部近傍であって、第2台紙(若しくは第1台紙)との接続部分ではない縁部近傍に、カード等の被収納物を収納可能なポケットを有する袋体(例えば、リフィル)が連結される。袋体は、連結部分を基点にして若しくは連結部分に沿って第1台紙(若しくは第2台紙)に対して回動可能に設けられる。これにより、ディスプレイファイル1においては、袋体を第1台紙に連結させた場合、袋体を回動させることによって第1台紙の表面、第1台紙の裏面、第2台紙の表面、若しくは第2台紙の裏面を背景に袋体を配置できる。なお、袋体を第2台紙に連結させた場合は、第2台紙の表面、第2台紙の裏面、第1台紙の表面、若しくは第1台紙の裏面を背景に袋体を配置できる。
【0010】
したがって本実施形態に係るディスプレイファイル1においては、ファイル本体の表裏面、つまり、第1台紙の表面若しくは裏面、又は第2台紙の表面若しくは裏面を台紙として用いることができるので、袋体に収納される被収納物のデザインに応じて適切な台紙を適宜選択できる。すなわち、ディスプレイファイル1においては、第1台紙の表面及び裏面、並びに第2台紙の表面及び裏面のそれぞれに所定のデザインを施すことで、袋体に収納した被収納物と各面のデザインとの組み合わせを変えて被収納物を飾ることができ、ユーザは被収納物の鑑賞を楽しむことができる。
(【0011】以降は省略されています)
この特許をJ-PlatPat(特許庁公式サイト)で参照する
関連特許
他の特許を見る