TOP
|
特許
|
意匠
|
商標
特許ウォッチ
Twitter
他の特許を見る
10個以上の画像は省略されています。
公開番号
2025164279
公報種別
公開特許公報(A)
公開日
2025-10-30
出願番号
2024068108
出願日
2024-04-19
発明の名称
電子機器、ファクシミリ通信システム、プログラム、情報処理方法
出願人
株式会社リコー
代理人
個人
,
個人
主分類
H04N
1/32 20060101AFI20251023BHJP(電気通信技術)
要約
【課題】既存の相手先情報の更新漏れを抑制すること。
【解決手段】本発明は、ファクスデータに含まれている画像データから、相手先に関する第1の相手先情報を抽出する文字情報抽出機能部18と、前記文字情報抽出機能部が抽出した第1の相手先情報が有する1つ以上の第1の文字列と、既存の第2の相手先情報が項目ごとに有する第2の文字列を比較する相手先情報比較判断部15と、前記第1の文字列の一部又は全体が前記第2の文字列と一致した前記項目を有する前記第2の相手先情報を、更新候補リストに登録する更新候補管理部14と、前記更新候補リストを表示させる表示制御部12と、前前記更新候補リストから更新する前記第2の相手先情報の選択を受け付ける操作受付部11と、を有する電子機器30である。
【選択図】図4
特許請求の範囲
【請求項1】
ファクスデータに含まれている画像データから、相手先に関する第1の相手先情報を抽出する文字情報抽出機能部と、
前記文字情報抽出機能部が抽出した第1の相手先情報が有する1つ以上の第1の文字列と、既存の第2の相手先情報が項目ごとに有する第2の文字列を比較する相手先情報比較判断部と、
前記第1の文字列の一部又は全体が前記第2の文字列と一致した前記項目を有する前記第2の相手先情報を、更新候補リストに登録する更新候補管理部と、
前記更新候補リストを表示させる表示制御部と、
前記更新候補リストから更新する前記第2の相手先情報の選択を受け付ける操作受付部と、
を有する電子機器。
続きを表示(約 1,700 文字)
【請求項2】
前記表示制御部は、前記操作受付部が選択を受け付けた前記第2の相手先情報と、前記画像データから抽出された1つ以上の前記第1の文字列を表示させ、
前記操作受付部は、前記表示制御部が表示した前記第1の文字列の編集を受け付け、
前記操作受付部が前記第1の文字列で更新する前記項目の選択を受け付けた場合、編集された前記第1の文字列で前記第2の相手先情報の前記項目を更新する更新部を有する、
請求項1に記載の電子機器。
【請求項3】
前記表示制御部は、前記操作受付部が選択を受け付けた前記第2の相手先情報の各項目であって、前記第1の文字列の一部又は全体が一致した前記第2の文字列を有する前記項目に対応付けて、前記画像データから抽出された前記第1の文字列を表示させ、
前記操作受付部が前記第1の文字列で更新する前記項目の選択を受け付けた場合、
前記更新部は、前記第2の相手先情報の前記項目に対応付けて表示されている前記第1の文字列で該項目を更新する、
請求項2に記載の電子機器。
【請求項4】
前記表示制御部は、前記操作受付部が選択を受け付けた前記第2の相手先情報と、前記画像データから抽出された1つ以上の前記第1の文字列を表示させる場合、前記画像データのサムネイルを表示させる、
請求項2又は3に記載の電子機器。
【請求項5】
前記表示制御部は、前記操作受付部が選択を受け付けた前記第2の相手先情報の各項目に対応付けてチェックボックスを表示させ、
前記操作受付部は前記チェックボックスのチェックにより前記第1の文字列で更新する前記第2の相手先情報の前記項目の選択を受け付ける、
請求項3に記載の電子機器。
【請求項6】
前記相手先情報比較判断部は、前記第1の文字列から特定の文字列又は特定の記号を除いて、前記第2の文字列と比較する、
請求項1に記載の電子機器。
【請求項7】
前記相手先情報比較判断部が、前記文字情報抽出機能部が抽出した第1の文字列と、既存の前記第2の相手先情報が項目ごとに有する第2の文字列を比較した結果、前記第2の相手先情報が有する全ての前記項目で前記第1の文字列と前記第2の文字列が部分一致も完全一致もしない場合、
前記更新候補管理部は、前記第1の相手先情報を未登録の相手先情報として前記更新候補リストに登録する、
請求項1に記載の電子機器。
【請求項8】
前記ファクスデータのTSIと既存の前記第2の相手先情報が有するFAX番号とが一致せず、かつ、
前記相手先情報比較判断部が、前記文字情報抽出機能部が抽出した第1の文字列と、既存の前記第2の相手先情報が項目ごとに有する第2の文字列を比較した結果、前記第2の相手先情報が有する全ての前記項目で前記第1の文字列と前記第2の文字列が部分一致も完全一致もしない場合、
前記更新候補管理部は、前記第1の相手先情報を未登録の相手先情報として前記更新候補リストに登録する、
請求項7に記載の電子機器。
【請求項9】
前記文字情報抽出機能部は、前記第1の文字列の文字ごとに認識確率を算出し、
前記相手先情報比較判断部は、前記第1の文字列のうち前記認識確率が閾値未満の文字を除いて前記第2の文字列と比較する、
請求項1に記載の電子機器。
【請求項10】
前記文字情報抽出機能部は、複数の前記ファクスデータが有する画像データからそれぞれ他の相手先情報を抽出し、
前記操作受付部が前記第2の相手先情報の選択を受け付けた場合、
前記表示制御部は、前記操作受付部が選択を受け付けた前記第2の相手先情報と、前記画像データから抽出された1つ以上の前記第1の文字列を表示させると共に、
前記第1の相手先情報と同じTSIと対応付けられている、前記他の相手先情報が有する前記第1の文字列を表示させるための表示部品を表示する、
請求項2に記載の電子機器。
(【請求項11】以降は省略されています)
発明の詳細な説明
【技術分野】
【0001】
本発明は、電子機器、ファクシミリ通信システム、プログラム、及び情報処理方法に関する。
続きを表示(約 2,000 文字)
【背景技術】
【0002】
ファクシミリ装置等の電子機器にはファクスの相手先情報を登録する機能が搭載されている。例えば、電子機器は、相手先から送信されるTSI(送信側情報)を基に相手先情報を登録することが一般的である。
【0003】
ファクスデータにOCR(光学式文字認識)を行い、TSIを取得し、相手先情報を登録する技術が知られている(例えば特許文献1参照)。特許文献1には、OCRで取得したTSIを基に未登録リストを作成し、ユーザーへ提示することにより相手先情報の登録を補助する技術が開示されている。
【発明の概要】
【発明が解決しようとする課題】
【0004】
しかしながら、従来の技術では、既存の相手先情報を更新することが適切なケースにおいて、更新漏れが生じるおそれがあるという問題がある。すなわち、従来の技術は、未登録である相手先情報を管理する技術であるので、新規登録ではなく更新のために使用すべき相手先情報が未登録リストにある場合に、見落としによる更新漏れが生じるおそれがある。
【0005】
本発明は、上記課題に鑑み、既存の相手先情報の更新漏れを抑制する技術を提供する。
【課題を解決するための手段】
【0006】
上記課題に鑑み、本発明は、ファクスデータに含まれている画像データから、相手先に関する第1の相手先情報を抽出する文字情報抽出機能部と、前記文字情報抽出機能部が抽出した第1の相手先情報が有する1つ以上の第1の文字列と、既存の第2の相手先情報が項目ごとに有する第2の文字列を比較する相手先情報比較判断部と、前記第1の文字列の一部又は全体が前記第2の文字列と一致した前記項目を有する前記第2の相手先情報を、更新候補リストに登録する更新候補管理部と、前記更新候補リストを表示させる表示制御部と、前記更新候補リストから更新する前記第2の相手先情報の選択を受け付ける操作受付部と、を有する電子機器である。
【発明の効果】
【0007】
本発明は、既存の相手先情報の更新漏れを抑制することができる。
【図面の簡単な説明】
【0008】
送信元のファクシミリ装置と送信先のファクシミリ装置の一例を示す図である。
ファクシミリ通信システムの全体構成図の一例である。
複合機又はファクシミリ装置のハードウェア構成図の一例である。
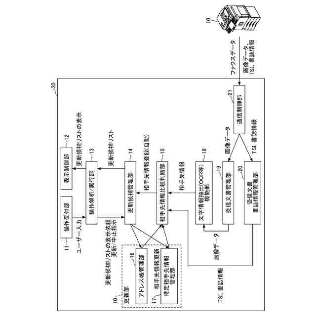
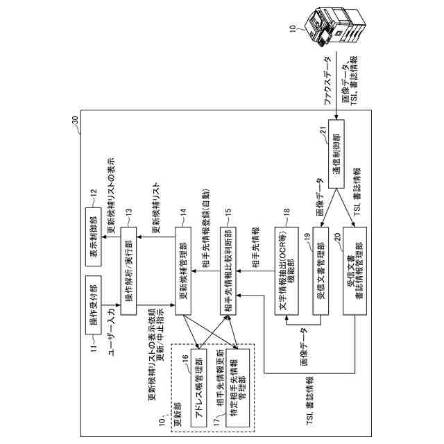
電子機器が有する機能をブロック状に示す機能ブロック図の一例である。
ファクスデータに含まれている画像データ及び抽出された相手先情報の一例を示す図である。
アドレス帳管理部が管理するアドレス帳の一例を示す図である。
特定相手先情報管理が管理する特定相手先情報の一例を示す図である。
受信文書書誌情報管理部が管理するFAX受信文書書誌情報の一例を示す図である。
ファクスデータの送信元の相手先情報を未登録又は更新候補として判別するか否かの比較方法を説明する図である。
更新候補管理部が管理する未登録及び更新候補情報について説明する図である。
操作パネルに表示されるFAX設定画面と受信相手先登録画面を示す図の一例である。
操作パネルに表示される更新候補リスト画面の一例を示す図である。
操作パネルに表示される更新イメージ画面の一例を示す図である。
電子機器がファクスデータを受信してから、相手先情報を更新するまでの処理の全体的な流れを説明するシーケンス図の一例である。
電子機器がファクスデータを受信してから、相手先情報を更新するまでの処理の全体的な流れを説明するシーケンス図の一例である。
相手先情報比較判断部が相手先情報とアドレス情報又は特定相手先情報との比較する処理を詳細に説明するフローチャート図の一例である。
サーバーの機能ブロック図の一例である。
ファクシミリ通信システムが行う処理を説明するシーケンス図の一例である。
【発明を実施するための形態】
【0009】
以下、本発明を実施するための形態の一例として電子機器、電子機器が行う情報処理方法について図面を参照しながら説明する。
【0010】
<概略的な処理>
ファクシミリ装置などの電子機器には、ユーザーが相手先を選択しやすいようにFAX番号等が登録されたアドレス帳を保持している。また、電子機器は特定の相手先から受信したファクスデータを所定の方法で処理するために特定相手先情報を保持している。電子機器は、受信したファクスデータのTSIをアドレス帳又は特定相手先情報で検索し、新しい相手先からのファクスデータであると判断すると、アドレス帳及び特定相手先情報にTSI等の相手先情報を登録する。
(【0011】以降は省略されています)
この特許をJ-PlatPat(特許庁公式サイト)で参照する
関連特許
株式会社リコー
画像形成装置
11日前
株式会社リコー
画像形成装置
3日前
株式会社リコー
画像形成装置
3日前
株式会社リコー
画像形成装置
6日前
株式会社リコー
機器及び異常判定方法
11日前
株式会社リコー
画像形成装置及びシステム
9日前
株式会社リコー
延長トレイ及び画像形成装置
6日前
株式会社リコー
定着装置、及び画像形成装置
11日前
株式会社リコー
画像読取装置及び画像読取方法
5日前
株式会社リコー
表示装置、切替方法、プログラム
16日前
株式会社リコー
樹脂粒子、及び樹脂粒子の製造方法
3日前
株式会社リコー
媒体処理装置及び画像形成システム
6日前
株式会社リコー
通信端末、通信方法、及びプログラム
9日前
株式会社リコー
シート給送装置及び画像形成システム
12日前
株式会社リコー
加熱装置、定着装置及び画像形成装置
10日前
株式会社リコー
通信装置、通信方法、及びプログラム
9日前
株式会社リコー
読取装置、読取方法およびプログラム
6日前
株式会社リコー
光源装置、画像投影装置および調整方法
16日前
株式会社リコー
通信装置、状態制御方法、及びプログラム
12日前
株式会社リコー
画像形成装置、情報処理方法及びプログラム
9日前
株式会社リコー
画像形成装置、及び、プロセスカートリッジ
16日前
株式会社リコー
画像読取装置、画像判定方法およびプログラム
9日前
株式会社リコー
画像形成装置、画像処理方法およびプログラム
4日前
株式会社リコー
画像形成装置、情報処理方法およびプログラム
10日前
株式会社リコー
モノクロ用光走査装置及びモノクロ画像形成装置
9日前
株式会社リコー
画像読取装置、用紙斜行防止装置及び画像形成装置
4日前
株式会社リコー
情報処理装置、設定システム、プログラム、情報処理方法
3日前
株式会社リコー
情報処理装置、画像形成装置、情報処理方法及びプログラム
3日前
株式会社リコー
情報処理装置、画面作成方法、プログラム、及び情報処理システム
10日前
株式会社リコー
電子機器、ファクシミリ通信システム、プログラム、情報処理方法
3日前
株式会社リコー
シート折り装置、後処理装置、画像形成装置、及び画像形成システム
4日前
株式会社リコー
表示装置、表示方法、プログラム
16日前
株式会社リコー
画像処理装置、方法、およびプログラム
16日前
株式会社リコー
トナー、現像剤、トナー収容ユニット、プロセスカートリッジ、画像形成方法、及び、画像形成装置
5日前
株式会社リコー
情報処理システム、情報処理方法およびプログラム
18日前
株式会社リコー
通信端末、取引システム、表示方法、及びプログラム
11日前
続きを見る
他の特許を見る