TOP
|
特許
|
意匠
|
商標
特許ウォッチ
Twitter
他の特許を見る
公開番号
2025163976
公報種別
公開特許公報(A)
公開日
2025-10-30
出願番号
2024067658
出願日
2024-04-18
発明の名称
切削加工装置
出願人
宮川工業株式会社
代理人
個人
,
個人
主分類
B23C
3/12 20060101AFI20251023BHJP(工作機械;他に分類されない金属加工)
要約
【課題】加工対象物に対する切削工具の相対的な位置を調節し易い切削加工装置を提供する。
【解決手段】調節環32を位置決め部40に対して軸線Lの周りで相対的に回動させることによって、軸線Lが延びる方向において、フライスカッター23に対する位置決め部40の相対的な位置が変化する。これにより、加工対象物に対するフライスカッター23の相対的な位置を簡便に調節できる。そして、位置決めプランジャー34を操作することによって、調節環32の回動を制限できる。これにより、切削加工装置10を用いて加工対象物を加工する作業中に調節環32が回動して、加工対象物に対するフライスカッター23の相対的な位置が変化してしまうことを抑制できる。
【選択図】図4
特許請求の範囲
【請求項1】
軸線の周りで回転して加工対象物を切削する切削工具と、
前記加工対象物に対する前記切削工具の相対的な位置を調節する調節機構と、を備え、
前記調節機構は、第1部品と、前記加工対象物に接触する第2部品と、を有し、
前記第1部品に形成されたネジ山と前記第2部品に形成されたネジ山とが噛み合っており、前記第1部品及び前記第2部品のうち一方を他方に対して前記軸線の周りで相対的に回動させることによって、前記軸線が延びる方向において、前記切削工具に対する前記第2部品の相対的な位置が変化し、
前記第1部品及び前記第2部品のうち一方の他方に対する相対的な回動を規制する規制手段を有することを特徴とする切削加工装置。
続きを表示(約 290 文字)
【請求項2】
前記第1部品が前記軸線の周りで回動されることによって、前記軸線が延びる方向に沿って前記第2部品が移動し、
前記規制手段は、前記軸線が延びる方向に沿って延びる棒状部材を含み、
前記棒状部材は、前記第1部品の回動を規制する規制位置と、前記第1部品の回動を許容する許容位置と、に変位できるように構成される請求項1に記載の切削加工装置。
【請求項3】
前記第2部品は、前記加工対象物に接触する部分としてローラーを含み、
前記ローラーを、前記加工対象物に対して磁力で当接させる当接機構を有する請求項1又は請求項2に記載の切削加工装置。
発明の詳細な説明
【技術分野】
【0001】
本発明は、切削加工装置に関する。
続きを表示(約 1,400 文字)
【背景技術】
【0002】
従来、切削加工装置として、面取り機が知られている(例えば、特許文献1)。特許文献1には、ロックリングに設けられたネジ山に、当接案内板を螺入することによって、当接案内板をロックリングに固定することが開示される。加工対象物に当接案内板を当接させることによって、カッターブレード等の切削工具が、接触対象物に対して相対的に位置決めされる。
【先行技術文献】
【特許文献】
【0003】
特開2015-123564号公報
【発明の概要】
【発明が解決しようとする課題】
【0004】
従来技術において、加工対象物に対する切削工具の相対的な位置を調節しようとする場合には、スペーサを使用することが考えられる。しかしながら、スペーサの交換は、加工対象物と接触する部材を取り外す必要があり、簡便とは言い難かった。
【課題を解決するための手段】
【0005】
上記課題を解決する切削加工装置は、軸線の周りで回転して加工対象物を切削する切削工具と、前記切削工具と前記加工対象物との相対的な位置を調節する調節機構と、を備え、前記調節機構は、第1部品と、前記加工対象物に接触する第2部品と、を有し、前記第1部品に形成されたネジ山と前記第2部品に形成されたネジ山とが噛み合っており、前記第1部品及び前記第2部品のうち一方を他方に対して前記軸線の周りで相対的に回動させることによって、前記軸線が延びる方向に沿った前記切削工具に対する前記第2部品の相対的な位置が変化し、前記第1部品及び前記第2部品のうち一方の他方に対する相対的な回動を規制する規制手段を有する、ことを要旨とする。
【発明の効果】
【0006】
本発明によれば、加工対象物に対する切削工具の相対的な位置を調節し易い。
【図面の簡単な説明】
【0007】
図1は、切削加工装置の平面図である。
図2は、切削加工装置の下面図である。
図3は、切削加工装置の側面図である。
図4は、図2に示す4-4線断面図である。
【発明を実施するための形態】
【0008】
切削加工装置の一実施形態について説明する。
<切削加工装置の概要>
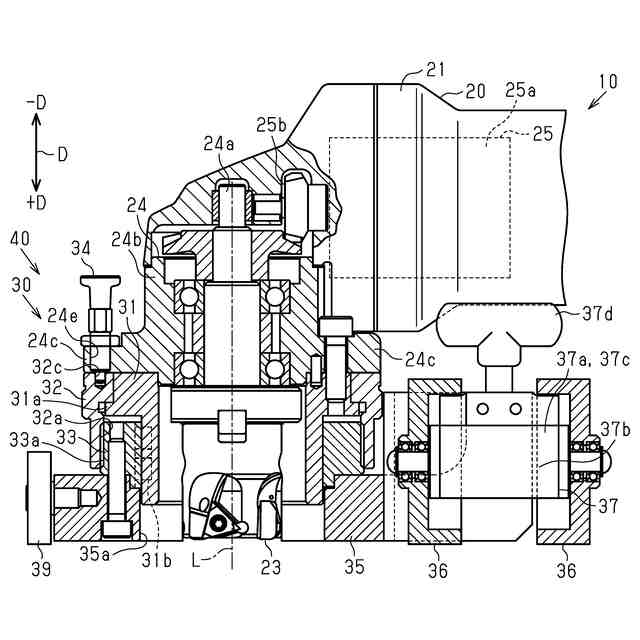
図1~図3に示すように、切削加工装置10は、加工対象物11に形成された溶接ビード11aを削除するように構成される。
【0009】
切削加工装置10は、本体部20を備える。本体部20は、ハウジング21と、フライスカッター23と、フライスカッター23を軸線Lの周りで回転可能に支持する支持部24と、フライスカッター23を駆動する駆動部25と、を備える。フライスカッター23は、切削工具の一例である。以下の説明では、フライスカッター23の軸線方向Dのうち、先端部に向かう方向を+D方向と示し、基端部に向かう方向を-D方向と示す。
【0010】
図4に示すように、支持部24は、フライスカッター23の基端部が固定される回転子24aと、当該回転子24aをフライスカッター23の軸線Lの周りで回転可能に保持する保持部24bと、を有する。保持部24bは、ハウジング21に固定され、かつ回転子24aを囲う枠状の部材である。保持部24bは、外周面にフランジ24cを有する。
(【0011】以降は省略されています)
この特許をJ-PlatPat(特許庁公式サイト)で参照する
関連特許
宮川工業株式会社
切削加工装置
1か月前
個人
フライス盤
2か月前
麗豊実業股フン有限公司
ラクトバチルス・パラカセイNB23菌株及びそれを筋肉量の増加や抗メタボリック症候群に用いる用途
6か月前
日東精工株式会社
ねじ締め機
3か月前
日東精工株式会社
ねじ締め機
1か月前
日東精工株式会社
ねじ締め機
2か月前
株式会社北川鉄工所
回転装置
5か月前
日東精工株式会社
ねじ締め機
6か月前
ダイニチ工業株式会社
配膳治具
25日前
株式会社ダイヘン
溶接電源装置
4か月前
日東精工株式会社
ねじ締め装置
2か月前
株式会社ダイヘン
溶接電源装置
4か月前
キヤノン電子株式会社
加工装置
22日前
株式会社ダイヘン
溶接電源装置
3か月前
日東精工株式会社
ねじ締め装置
5か月前
株式会社FUJI
工作機械
1か月前
株式会社FUJI
工作機械
4か月前
日東精工株式会社
ねじ整列トレー
17日前
個人
切削油供給装置
3か月前
株式会社FUJI
工作機械
1か月前
株式会社FUJI
工作機械
5か月前
中国電力株式会社
養生シート
1か月前
キヤノン電子株式会社
加工システム
3か月前
睦月電機株式会社
金属表面処理方法
22日前
株式会社アンド
半田付け方法
2か月前
個人
型枠製造装置のフレーム
2か月前
株式会社富田製作所
支持構造
1か月前
村田機械株式会社
レーザ加工機
6か月前
株式会社向洋技研
スタッドの製造方法
24日前
株式会社トヨコー
被膜除去方法
6か月前
大見工業株式会社
ドリル
4か月前
株式会社ツガミ
工作機械
2か月前
村田機械株式会社
レーザ加工機
6か月前
株式会社不二越
ブローチ盤
2か月前
有限会社 ナプラ
ソルダペースト
4か月前
トヨタ自動車株式会社
溶接ヘッド
5か月前
続きを見る
他の特許を見る