TOP
|
特許
|
意匠
|
商標
特許ウォッチ
Twitter
他の特許を見る
10個以上の画像は省略されています。
公開番号
2025162283
公報種別
公開特許公報(A)
公開日
2025-10-27
出願番号
2024065475
出願日
2024-04-15
発明の名称
映像生成システム、映像生成方法及び映像生成プログラム
出願人
ソニーグループ株式会社
代理人
弁理士法人酒井国際特許事務所
主分類
G06T
13/20 20110101AFI20251020BHJP(計算;計数)
要約
【課題】ユーザからの入力クエリに応じて動画データを取得する。
【解決手段】本開示に係る映像生成システムは、動画生成に関する入力クエリをユーザから取得する取得部と、前記入力クエリに基づいて、動画生成に関するシナリオデータを生成するシナリオ生成部と、前記シナリオデータに基づいて、3Dデータを構成するためのコードを生成するコード生成部と、前記コードに基づいて、動画データを取得する動画データ取得部と、を備える。
【選択図】図3
特許請求の範囲
【請求項1】
動画生成に関する入力クエリをユーザから取得する取得部と、
前記入力クエリに基づいて、動画生成に関するシナリオデータを生成するシナリオ生成部と、
前記シナリオデータに基づいて、3Dデータを構成するためのコードを生成するコード生成部と、
前記コードに基づいて、動画データを取得する動画データ取得部と、
を備える映像生成システム。
続きを表示(約 870 文字)
【請求項2】
前記動画データの画質を改善する画質改善処理を実行する画質改善部、
を更に備える請求項1に記載の映像生成システム。
【請求項3】
前記画質改善部は、
テキストプロンプトに基づいて前記画質改善処理を実行することにより、前記動画データの画質を改善する
請求項2に記載の映像生成システム。
【請求項4】
前記画質改善部は、
前記動画データのうち前記画質改善処理の対象を指定するテキストプロンプトに基づいて、前記画質改善処理を実行する
請求項2に記載の映像生成システム。
【請求項5】
前記画質改善部は、
改善が必要と判断された前記対象を指定するテキストプロンプトに基づいて、前記画質改善処理を実行する
請求項4に記載の映像生成システム。
【請求項6】
前記シナリオデータに基づいたストーリーボードを表示させる表示制御部、
を更に備える請求項1に記載の映像生成システム。
【請求項7】
前記ストーリーボードは、動画のカット毎に前記動画データを表示するように構成される
請求項6に記載の映像生成システム。
【請求項8】
前記シナリオデータと前記動画データとに基づいて、前記動画データに対応するサウンドデータを生成するサウンド生成部、
を更に備える請求項1に記載の映像生成システム。
【請求項9】
前記シナリオデータに基づいて、前記動画データにより表示される映像上に表示させるテキストを示すテキストデータを生成するテキスト生成部、
を更に備える請求項1に記載の映像生成システム。
【請求項10】
前記シナリオデータに基づいて、前記動画データにより表示される映像上に表示させるロゴを示すロゴデータを生成するロゴ生成部、
を更に備える請求項1に記載の映像生成システム。
(【請求項11】以降は省略されています)
発明の詳細な説明
【技術分野】
【0001】
本開示は、映像生成システム、映像生成方法及び映像生成プログラムに関する。
続きを表示(約 2,900 文字)
【背景技術】
【0002】
映像(「動画」ともいう)を自動で生成する技術が提供されている。例えば、2次元的な線画から仮想人物の3次元姿勢を推定し、動画を生成する技術が提供されている(例えば特許文献1)。
【先行技術文献】
【特許文献】
【0003】
特開2003-058906号公報
【発明の概要】
【発明が解決しようとする課題】
【0004】
しかしながら、従来技術には、改善の余地がある。例えば、従来技術では、動画を生成するために2次元的な線画、すなわち画像が必要となり、2次元的な線画といった画像を用意することはユーザの負担が大きく、ユーザが画像を用意できない場合等、動画を生成することが難しい。そのため、ユーザの負担が少なく、ユーザビリティが高い動画生成サービスを提供することが望まれており、例えばユーザからの入力クエリに応じて動画データを取得することが望まれている。
【0005】
そこで、本開示では、ユーザからの入力クエリに応じて動画データを取得することができる映像生成システム、映像生成方法及び映像生成プログラムを提案する。
【課題を解決するための手段】
【0006】
上記の課題を解決するために、本開示に係る一形態の映像生成システムは、動画生成に関する入力クエリをユーザから取得する取得部と、前記入力クエリに基づいて、動画生成に関するシナリオデータを生成するシナリオ生成部と、前記シナリオデータに基づいて、3Dデータを構成するためのコードを生成するコード生成部と、前記コードに基づいて、動画データを取得する動画データ取得部と、を備える。
【図面の簡単な説明】
【0007】
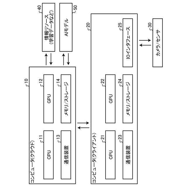
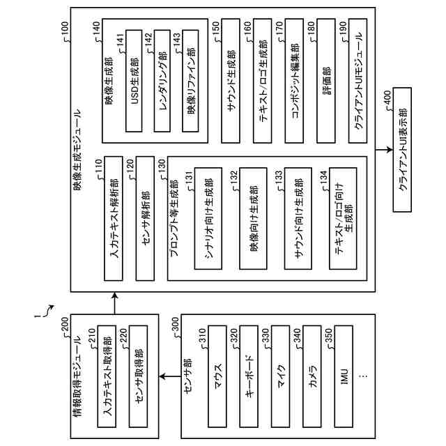
本開示の映像生成システムの一例を示す図である。
本開示の映像生成システムに係るハードウェア構成の一例を示す図である。
本開示の映像生成処理の流れの一例を示す図である。
本開示の映像生成処理の流れの他の一例を示す図である。
本開示の評価処理の流れの一例を示す図である。
シナリオ生成用情報の生成処理の一例を示す図である。
シナリオデータの生成処理の一例を示す図である。
コード生成用情報の生成処理の一例を示す図である。
画質改善処理の一例を示す図である。
ユーザインタフェースの一例を示す図である。
ユーザインタフェースの一例を示す図である。
ユーザインタフェースの一例を示す図である。
ユーザインタフェースの一例を示す図である。
ユーザインタフェースの一例を示す図である。
ユーザインタフェースの一例を示す図である。
ユーザインタフェースの一例を示す図である。
音生成用情報の生成処理の一例を示す図である。
USDファイルの一例を示す図である。
映像生成システムが実行する処理手順を示すフローチャートである。
ユーザインタフェースの一例を示す図である。
ユーザインタフェースの一例を示す図である。
ユーザインタフェースの一例を示す図である。
編集処理の一例を示す図である。
編集処理の一例を示す図である。
編集処理の一例を示す図である。
編集処理の一例を示す図である。
編集処理の一例を示す図である。
編集処理の一例を示す図である。
編集処理の一例を示す図である。
編集時の確認作業の一例を示す図である。
映像生成システムが実行する処理手順を示すフローチャートである。
範囲選択に応じた評価処理の一例を示す図である。
被写界深度に応じた処理の一例を示す概念図である。
確認作業時の映像の一例を示す図である。
変更部分の強調表示の一例を示す図である。
カット間の関係の提示の一例を示す図である。
オブジェクトの選択の一例を示す図である。
オブジェクトの選択の一例を示す図である。
参考データを用いた処理の一例を示す図である。
ユーザ操作に応じた処理の流れを示すフローチャートである。
情報処理装置の機能を実現するコンピュータの一例を示すハードウェア構成図である。
【発明を実施するための形態】
【0008】
以下に、本開示の実施形態について図面に基づいて詳細に説明する。なお、この実施形態により本願にかかる映像生成システム、映像生成方法及び映像生成プログラムが限定されるものではない。また、以下の各実施形態において、同一の部位には同一の符号を付することにより重複する説明を省略する。
【0009】
以下に示す項目順序に従って本開示を説明する。
1.実施形態
1-1.本開示の映像生成システムの構成概要
1-2.本開示の映像生成システムによる処理
1-3.ユーザインタフェース
1-4.処理例
1-4-1.音生成例
1-4-2.テキストロゴ生成例
1-4-3.再学習例
1-4-4.USD更新例
1-4-5.評価例
1-4-6.複数カットの選択例
1-4-7.時間情報の利用例
1-4-8.言語化の度合いに応じた応答例
1-4-9.定性的な値の利用例
1-4-10.入力途中でのレンダリング処理例
1-4-11.編集時の確認作業例
1-4-12.範囲選択に応じた処理例
1-4-13.被写界深度に応じた処理例
1-4-14.確認作業時の再生処理例
1-4-15.強調表示例
1-4-16.カット間の関係提示例
1-4-17.オブジェクトの選択例
1-4-18.3Dモデル利用例
1-4-19.参考データの利用例
1-4-20.3Dデータを有する利点例
1-5.ユーザから見た処理フロー例
1-6.AIモデルについて
2.その他の実施形態
2-1.その他の構成例
2-2.その他
3.本開示に係る効果
4.ハードウェア構成
【0010】
<1.実施形態>
<1-1.本開示の映像生成システムの構成概要>
図1は、本開示の映像生成システムの一例を示す図である。映像生成システム1は、映像生成モジュール100、情報取得モジュール200、センサ部300、及びクライアントUI表示部400を有する。なお、図1では各々の構成を1つだけ図示するが、映像生成システム1には、複数の映像生成モジュール100、複数の情報取得モジュール200、複数のセンサ部300、及び複数のクライアントUI表示部400が含まれてもよい。
(【0011】以降は省略されています)
この特許をJ-PlatPat(特許庁公式サイト)で参照する
関連特許
個人
詐欺保険
20日前
個人
縁伊達ポイン
20日前
個人
RFタグシート
7日前
個人
QRコードの彩色
24日前
個人
ペルソナ認証方式
4日前
個人
地球保全システム
1か月前
個人
自動調理装置
6日前
個人
為替ポイント伊達夢貯
2か月前
個人
冷凍食品輸出支援構造
2か月前
個人
残土処理システム
26日前
個人
農作物用途分配システム
19日前
個人
表変換編集支援システム
1か月前
個人
知的財産出願支援システム
27日前
個人
タッチパネル操作指代替具
13日前
個人
知財出願支援AIシステム
2か月前
個人
インターネットの利用構造
3日前
個人
パスワード管理支援システム
1か月前
個人
AIによる情報の売買の仲介
2か月前
個人
スケジュール調整プログラム
12日前
個人
行動時間管理システム
1か月前
個人
携帯端末障害問合せシステム
12日前
個人
システム及びプログラム
1か月前
個人
パスポートレス入出国システム
2か月前
株式会社キーエンス
受発注システム
1か月前
株式会社キーエンス
受発注システム
1か月前
株式会社アジラ
進入判定装置
2か月前
個人
AIキャラクター制御システム
1か月前
個人
エリアガイドナビAIシステム
4日前
株式会社キーエンス
受発注システム
1か月前
個人
食品レシピ生成システム
1か月前
個人
海外支援型農作物活用システム
1か月前
日本精機株式会社
施工管理システム
2か月前
個人
未来型家系図構築システム
1か月前
個人
SaaS型勤務調整支援システム
1か月前
大同特殊鋼株式会社
疵判定方法
1か月前
サクサ株式会社
中継装置
1か月前
続きを見る
他の特許を見る