TOP
|
特許
|
意匠
|
商標
特許ウォッチ
Twitter
他の特許を見る
公開番号
2025161752
公報種別
公開特許公報(A)
公開日
2025-10-24
出願番号
2025055479
出願日
2025-03-28
発明の名称
すすぎステーション、およびコンタクトメタライゼーションを製造するための装置
出願人
パック テック-パッケージング テクノロジーズ ゲーエムベーハー
代理人
弁理士法人深見特許事務所
主分類
H01L
21/304 20060101AFI20251017BHJP(基本的電気素子)
要約
【課題】ウェハの改善された濯ぎ及び洗浄を可能にし、より高品質のコンタクトメタライゼーションを製造するすすぎステーション及びコンタクトメタライゼーションを製造するための装置を提供する。
【解決手段】処理チャンバ内に受け入れ可能なウェハ(14)をすすぐための、特に脱イオン水を含有するすすぎ液を受け入れるための処理チャンバ(11)を形成する槽(12)を備えるすすぎステーション(10)であって、槽は、すすぎ液を槽に供給するための少なくとも1つの入口(15)を有する。入口は、ノズル構成(16)として設計され、ノズル構成は、ウェハに向けてすすぎ液を塗布することができる少なくとも1つのノズル(17)を有し、ノズルは、ファンノズルまたはフルコーンノズルまたはホロコーンノズルとして設計される。
【選択図】図4
特許請求の範囲
【請求項1】
処理チャンバ(11)を形成し、前記処理チャンバ内に受け入れ可能なウェハ(14)をすすぐための、特に脱イオン水を含有するすすぎ液を受け入れるように機能する槽(12)を備え、前記槽が前記すすぎ液を前記槽に供給するための少なくとも1つの入口(15)を有し、
前記入口がノズル構成(16)として設計され、前記ノズル構成が、前記ウェハに向けて前記すすぎ液を塗布することができる少なくとも1つのノズル(17)を有し、前記ノズルがファンノズルまたはフルコーンノズルまたはホロコーンノズルとして設計されること
を特徴とする、すすぎステーション(10)。
続きを表示(約 1,100 文字)
【請求項2】
前記槽(12)が、好ましくは前記槽の底部に配置され、好ましくは自由排水管として設計され、かつ前記槽から前記すすぎ液を排水するように機能する出口(29)を有すること
を特徴とする、請求項1に記載のすすぎステーション。
【請求項3】
前記すすぎステーション(10)が前記槽(12)から採取された前記すすぎ液の試料を分析するように構成された試料分析装置(34)を備えること
を特徴とする、請求項1または2に記載のすすぎステーション。
【請求項4】
前記槽(12)がオーバーフロー部(31)を有し、前記試料分析装置(34)が、前記オーバーフロー部を介して前記槽から排水された前記すすぎ液から前記試料を採取するように前記オーバーフロー部に接続されること
を特徴とする、請求項3に記載のすすぎステーション。
【請求項5】
前記槽(12)の側壁(18、22)の各々が、好ましくは前記側壁の縁部の領域に形成され、かつ前記オーバーフロー部(31)を形成する穿孔(32)を有すること
を特徴とする、請求項4に記載のすすぎステーション。
【請求項6】
前記槽(12)が、複数のウェハ(14)を内部に受け入れた搬送レセプタクル(13)が上方から前記槽に挿入されるように構成されること
を特徴とする、先行する請求項のいずれか1項に記載のすすぎステーション。
【請求項7】
前記槽(12)が、前記すすぎ液を前記槽に供給するための他の入口(23)を有すること
を特徴とする、先行する請求項のいずれか1項に記載のすすぎステーション。
【請求項8】
前記すすぎステーション(10)が、前記入口(15)に接続された少なくとも1つのパイプ構成(25)を備えること
を特徴とする、先行する請求項のいずれか1項に記載のすすぎステーション。
【請求項9】
前記すすぎステーション(10)が、前記入口(15)を介して前記すすぎ液を前記槽(12)に供給することを少なくとも制御するように構成された制御装置を備えること
を特徴とする、先行する請求項のいずれか1項に記載のすすぎステーション。
【請求項10】
前記すすぎステーション(10)が、前記槽(12)の充填レベルを測定するように構成された充填レベル測定装置(40)を備えること
を特徴とする、先行する請求項のいずれか1項に記載のすすぎステーション。
(【請求項11】以降は省略されています)
発明の詳細な説明
【技術分野】
【0001】
本発明は、処理チャンバ内に受け入れ可能なウェハをすすぐための、特に脱イオン水を含有するすすぎ液を受け入れるための処理チャンバを形成する槽を備えるすすぎステーションに関し、槽は、すすぎ液を槽に供給するための少なくとも1つの入口を有する。本発明はまた、少なくとも1つのそのようなすすぎステーションを備える、ウェハの端子面上にコンタクトメタライゼーションを製造するための装置に関する。
続きを表示(約 3,600 文字)
【背景技術】
【0002】
チップの端子面上にコンタクトメタライゼーションを製造することは、前記コンタクトメタライゼーションは専門用語ではアンダーバンプメタライゼーション(UBM:under bump metallization)とも呼ばれるが、一般に、ウェハ面上で実行され、すなわち、複数のチップが形成されたウェハ全体が、チップがウェハから単離される前に化学プロセスを受け、このプロセスでは、中間メタライゼーション(アンダーバンプメタライゼーションと呼ばれる)がチップの端子面上に適用されるプロセスが行われ、チップはその初期状態でアルミニウムまたは銅で作製された表面メタライゼーションを有し、前記中間メタライゼーションは、はんだ材料で作製されたはんだバンプをその後適用するための接着プライマーとして機能する。はんだバンプが適用された後にのみ、チップは最終的にウェハから単離される。
【0003】
例えば、中国実用新案出願公開第203760439号明細書およびドイツ実用新案出願公開第202022105493号明細書から公知の、ウェハの端子面上にそのようなコンタクトメタライゼーションを製造するための機器は、ウェハが硝酸などの洗浄液によって洗浄される少なくとも1つの洗浄ステーションと、通常、金属、特にニッケル、亜鉛、パラジウム、金などを含み、硝酸などの液体に溶解された金属溶液から、コンタクト金属が端子面上に堆積される少なくとも1つの堆積ステーションであって、堆積が装置の設計に応じてガルバニックまたは無電解のいずれかで行われる、少なくとも1つの堆積ステーションと、特に堆積ステーションまたは洗浄ステーションからの残留物を除去するために、特に脱イオン水を含有するすすぎ液を使用してウェハ表面がすすぎまたは洗浄される少なくとも1つのすすぎステーションと、ウェハ表面が乾燥される少なくとも1つの乾燥ステーションとを通常備える。
【0004】
そのようなすすぎステーションは、典型的には、処理チャンバを形成し、処理チャンバ内に受け入れることができるウェハをすすぐためのすすぎ液を受け入れるように機能する槽を備える。すすぎ液は、実際には開口部または単純な穴によって形成される槽の入口を介して処理チャンバに供給される。
【0005】
この種のすすぎステーションの欠点は、特に、ウェハが処理チャンバ内に受け入れられた状態で、この種の入口を介して槽に供給されるすすぎ液が、ウェハ表面上の残留物が本質的に完全に除去されるウェハの最適なすすぎおよび/または洗浄を可能にしないことである。前述の欠点は、この種のすすぎステーションを備える、コンタクトメタライゼーションを製造するための装置によって製造されるコンタクトメタライゼーションの品質が低下することを意味する。
【発明の概要】
【発明が解決しようとする課題】
【0006】
したがって、本発明の目的は、ウェハの改善されたすすぎおよび/もしくは洗浄を可能にする、ならびに/またはより高品質のコンタクトメタライゼーションを製造する、すすぎステーションおよびコンタクトメタライゼーションを製造するための装置を提案することである。
【課題を解決するための手段】
【0007】
この目的は、請求項1の特徴を有するすすぎステーションと、請求項14の特徴を有するコンタクトメタライゼーションを製造するための装置とによって達成される。
【0008】
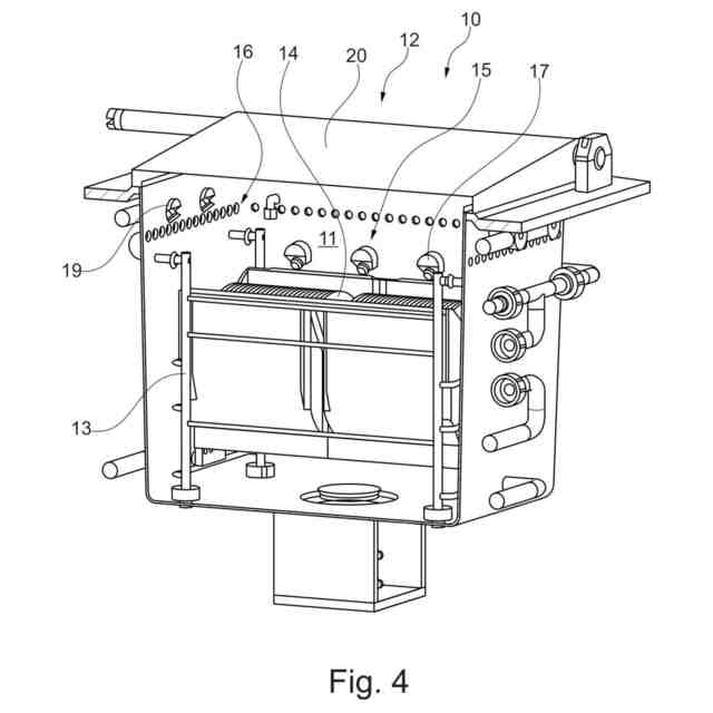
本発明によるすすぎステーションは、処理チャンバを形成し、処理チャンバ内に受け入れ可能なウェハをすすぐための、特に脱イオン水を含有するすすぎ液を受け入れるように機能する槽を備え、槽は、すすぎ液を槽に供給するための少なくとも1つの入口を有し、入口はノズル構成として設計され、ノズル構成は、ウェハに向けてすすぎ液を塗布することができる少なくとも1つのノズルを有し、ノズルはファンノズルまたはフルコーンノズルまたはホロコーンノズルとして設計される。
【0009】
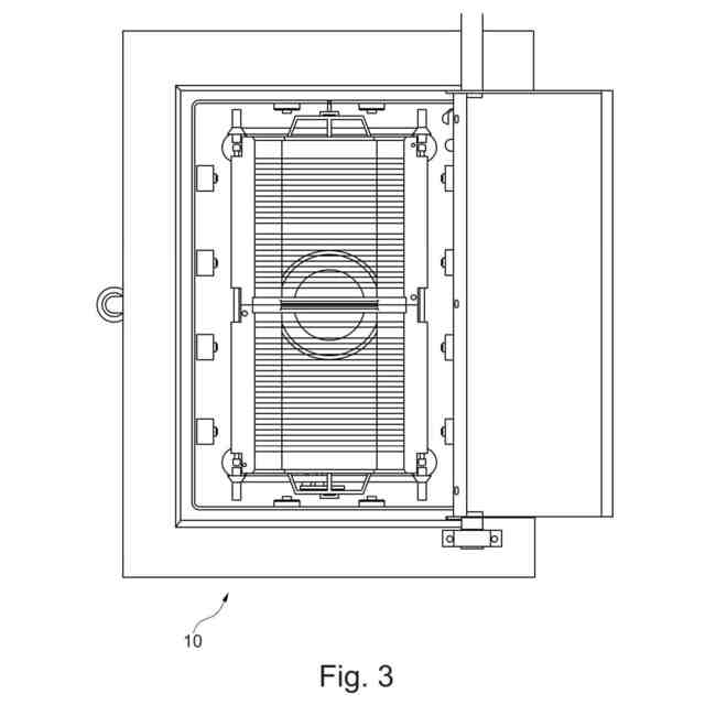
本発明によれば、すすぎステーションは、処理チャンバを形成し、処理チャンバ内に受け入れ可能なウェハをすすぐための、特に脱イオン水を含有するすすぎ液を受け入れるように機能する槽を備える。原則として、すすぎステーションは、すすぎプロセスを受けるのに適した任意の物体をすすぐために使用することができ、物体の材料は、金属材料および/またはプラスチックおよび/またはセラミック材料を含むことができる。しかしながら、すすぎステーションは、ウェハをすすぐのに特に適しており、ウェハのウェハ表面は、すすぎプロセス中にすすぎおよび/または洗浄することができる。すすぎ液は、脱イオン水を含有してもよい。脱イオン水に加えて、すすぎ液は、添加剤、特に溶媒、例えばイソプロピルアルコール(IPA:isopropyl alcohol)を含有してもよい。すすぎ液は脱イオン水であることができる。脱イオン水は脱塩水とも呼ばれる。脱イオン水の純度に応じて、精製水および/または低塩水と、超純水または純水と、高純度水とを区別することができる。脱イオン水の残存電気伝導率は、精製水または低塩水から超純水または純水を経て高純度水になるにつれて減少する。好ましくは、最適化されたすすぎ結果を達成するために、脱イオン水は超純水であることができる。槽は、すすぎプロセスを実行するためにウェハを処理チャンバに、好ましくは上方から挿入することができ、すすぎプロセス後に処理チャンバから取り出すことができる開口部を有することができる。さらに、槽は、四辺形、好ましくは長方形のベース領域または断面領域を有することができる。さらに、槽は、1つの底壁および4つの側壁を有することができる。底壁および側壁は、底壁から開口部まで延びることができる処理チャンバを画定することができる。4つの側壁は、2つの長手方向壁および2つの横方向壁を含むことができる。好ましくは、長手方向壁は横方向壁よりも長い。長手方向壁はまた、横方向壁に対応する長さを有してもよい。
【0010】
本発明によれば、槽は、すすぎ液を槽に供給するための少なくとも1つの入口を有し、入口はノズル構成として設計され、ノズル構成は、ウェハに向けてすすぎ液を塗布することができる少なくとも1つのノズルを有し、ノズルは、フラットジェットノズルとも呼ばれるファンノズル、またはフルコーンノズルまたはホロコーンノズルとして設計される。したがって、槽は、好ましくは槽の側方に配置されてノズル構成として設計される少なくとも1つの入口を有し、ノズル構成は、ウェハを槽に受け入れた状態で、ウェハに向けてすすぎ液を塗布および/または噴霧することができる、ファンノズルまたはフルコーンノズルまたはホロコーンノズルとして設計された少なくとも1つのノズルを有し、ファンノズルまたはフルコーンノズルまたはホロコーンノズルとしてのノズルの設計は、ノズルによって形成されるすすぎ液のジェットを有利に扇形に広げるおよび/または拡大することを可能にする。そのような扇形に広げられたおよび/または拡大されたジェットは、ウェハの最適化されたすすぎおよび/または洗浄をもたらす。好ましくは、ノズル構成は、少なくとも2つ、特に好ましくは少なくとも3つのノズルを有する。したがって、ノズル構成は複数のノズルを有することができる。ファンノズル、フルコーンノズルおよび/またはホロコーンノズルを互いに組み合わせることができる。好ましくは、ノズルは、槽の少なくとも1つの側壁、好ましくは槽の2つの対向する側壁に配置することができる。好ましくは、ノズルは、側壁の縁部の領域において、好ましくは一列に、それぞれの側壁に配置することができ、ノズルは、好ましくは互いに等距離にそれぞれの列に配置することができる。ウェハをすべての側からすすぐことができるように、槽の4つの側壁すべてにノズルが配置されることも考えられる。さらに、ノズルは、ジェット角度、すなわち、それぞれのノズルからそれぞれのジェットを放出することができる角度を調整することができるように設計することができる。すすぎステーションがコンタクトメタライゼーションを製造するための装置の構成要素である場合、すすぎステーションは、より高品質のコンタクトメタライゼーションの製造を可能にし、これは、特に、すすぎプロセスに先行して装置の堆積ステーションによって実行される堆積プロセスからの、および/またはすすぎプロセスに先行して装置の洗浄ステーションによって実行される洗浄プロセスからの残留物を本質的に完全に除去することができるためである。
(【0011】以降は省略されています)
この特許をJ-PlatPat(特許庁公式サイト)で参照する
関連特許
APB株式会社
蓄電セル
9日前
東ソー株式会社
絶縁電線
11日前
日本発條株式会社
積層体
1か月前
個人
フレキシブル電気化学素子
23日前
ローム株式会社
半導体装置
10日前
ローム株式会社
半導体装置
1か月前
株式会社東芝
端子台
3日前
ローム株式会社
半導体装置
1か月前
ローム株式会社
半導体装置
25日前
日新イオン機器株式会社
イオン源
19日前
株式会社ユーシン
操作装置
23日前
マクセル株式会社
電源装置
3日前
ローム株式会社
半導体装置
1か月前
ローム株式会社
半導体装置
1か月前
株式会社GSユアサ
蓄電設備
23日前
株式会社ホロン
冷陰極電子源
17日前
個人
半導体パッケージ用ガラス基板
1か月前
株式会社GSユアサ
蓄電装置
1か月前
オムロン株式会社
電磁継電器
24日前
株式会社GSユアサ
蓄電設備
23日前
株式会社ホロン
冷陰極電子源
1か月前
太陽誘電株式会社
全固体電池
1か月前
太陽誘電株式会社
コイル部品
23日前
株式会社GSユアサ
蓄電装置
4日前
株式会社GSユアサ
蓄電装置
4日前
株式会社GSユアサ
蓄電装置
1か月前
TDK株式会社
電子部品
1か月前
日本特殊陶業株式会社
保持装置
1か月前
日新イオン機器株式会社
基板処理装置
6日前
ノリタケ株式会社
熱伝導シート
23日前
日本特殊陶業株式会社
保持装置
12日前
日本特殊陶業株式会社
保持装置
1か月前
日本特殊陶業株式会社
保持装置
1か月前
サクサ株式会社
電池の固定構造
23日前
トヨタ自動車株式会社
バッテリ
9日前
トヨタ自動車株式会社
蓄電装置
23日前
続きを見る
他の特許を見る