TOP
|
特許
|
意匠
|
商標
特許ウォッチ
Twitter
他の特許を見る
10個以上の画像は省略されています。
公開番号
2025161689
公報種別
公開特許公報(A)
公開日
2025-10-24
出願番号
2024098350
出願日
2024-06-18
発明の名称
スケール発生抑制能力及びウイルス除去能力を有する浄水用フィルター
出願人
ビー・エル・アイ カンパニー リミテッド
,
B.L.I. CO., LTD.
代理人
個人
主分類
C02F
1/28 20230101AFI20251017BHJP(水,廃水,下水または汚泥の処理)
要約
【課題】原水に含まれている石灰質などの硬度性物質によるスケールの発生を抑制する能力及び原水に含まれているウイルスを除去する能力を有するように構成された浄水用フィルターを提供する。
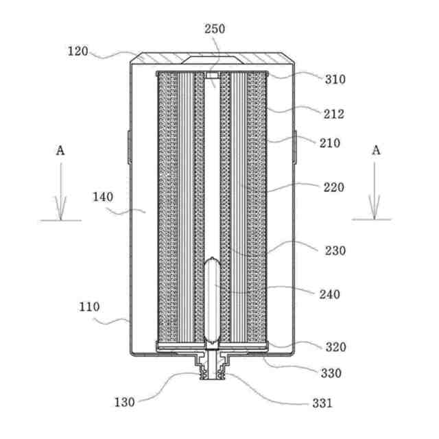
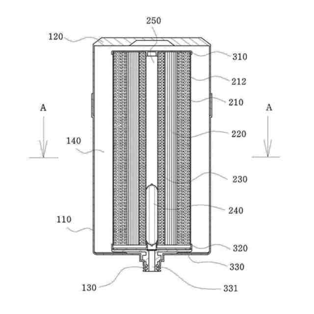
【解決手段】浄水用フィルターは、フィルターハウジングを含み、浄水器に装着される浄水用フィルターであって、フィルターハウジング内に挿設され、流入部130に供給される原水内に含まれた揮発性有機化合物及び重金属を除去する外部カーボンフィルター210、バクテリアを除去する能力を有するアンチウイルスフィルター220、及びポストカーボンフィルター230を含む円筒形のフィルター部と、前記ポストカーボンフィルター230の流出通路250と流出部331との間に備えられ、伝導性物質によるスケール発生を抑制するリン酸塩ビード240と、を含む。
【選択図】図3
特許請求の範囲
【請求項1】
原水が供給される流入部及び供給された原水が浄水されて排出される流出部を有するフィルターハウジングを含み、浄水器に装着される浄水用フィルターであって、
フィルターハウジング(100)内に挿設され、流入部(130)に供給される原水内に含まれた揮発性有機化合物及び重金属を除去する外部カーボンフィルター(210)、バクテリアを除去する能力を有するアンチウイルスフィルター(220)、及びポストカーボンフィルター(230)を含む円筒形のフィルター部(200)と、
前記ポストカーボンフィルター(230)の流出通路(250)と流出部(331)との間に備えられ、伝導性物質によるスケール発生を抑制するリン酸塩ビード(240)と、
前記フィルター部(200)の一端に設置される上部カバー(310)、他端に設置される流出部(331)を有する下部カバー(330)、及びフィルター部(200)の一端に設置される内部下側カバー(320)からなるフィルターカバー部(300)と、を含む、スケール発生抑制能力及びウイルス除去能力を有する浄水用フィルター。
続きを表示(約 1,200 文字)
【請求項2】
前記フィルター部(200)は、
供給通路(140)の内側に位置し、内側カーボンフィルター設置孔(213)に設置される外部カーボンフィルター(210)と、
前記外部カーボンフィルター(210)の内側フィルター設置孔(211)に設置されるアンチウイルスフィルター(220)と、
前記アンチウイルスフィルター(230)の内側ポスト設置孔(221)に設置されるポストカーボンフィルター(230)と、
前記ポストカーボンフィルター(230)の流出通路(250)と流出部(331)との間に設置されるリン酸塩ビード(240)と、を含む、請求項1に記載のスケール発生抑制能力及びウイルス除去能力を有する浄水用フィルター。
【請求項3】
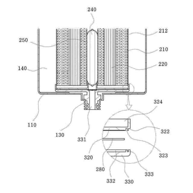
前記リン酸塩ビード(240)はポストカーボンフィルター(230)の流出通路(250)と流出部(331)との間に挿入され、下側が内部下側カバー(320)に支持されることを含む、請求項1に記載のスケール発生抑制能力及びウイルス除去能力を有する浄水用フィルター。
【請求項4】
前記フィルターカバー部(300)は、内部下側カバー(320)と下部カバー(330)とが結合され、前記内部下側カバー(320)の下側及び下部カバー(330)の内側フィルター設置溝(332)に粒子状物質除去フィルター(280)がさらに設置される、請求項1に記載のスケール発生抑制能力及びウイルス除去能力を有する浄水用フィルター。
【請求項5】
前記フィルターカバー部(300)は、中央下側にフィルター固定突出部(311)が突出してポストカーボンフィルター(230)を固定し、粒子性物質除去フィルター(212)の上側で外側と結合される上部カバー(310)と、
前記粒子性物質除去フィルター(212)の下側で外側と結合される内部下側カバー(320)と、
前記内部下側カバー(320)と結合され、下側に流出部(331)が形成される下部カバー(330)と、を含む、請求項1に記載のスケール発生抑制能力及びウイルス除去能力を有する浄水用フィルター。
【請求項6】
前記内部下側カバー(320)は、固定突起(333)が結合する内部溝(323)が形成され、前記内部溝(323)の外側にカバー固定段(322)が形成され、ポストカーボンフィルター(230)と結合され、内部にフィルター部(200)が結合される内部補強部(324)を含む、請求項5に記載のスケール発生抑制能力及びウイルス除去能力を有する浄水用フィルター。
【請求項7】
前記下部カバー(330)は内部下側カバー(320)の下側に位置し、内側の上側にフィルター設置溝(332)が形成され、内部溝(323)と結合する固定突起(333)が形成され、下側に流出部(331)を含む、請求項5に記載のスケール発生抑制能力及びウイルス除去能力を有する浄水用フィルター。
発明の詳細な説明
【技術分野】
【0001】
本発明は浄水器に設置されて使用される浄水用フィルターに関し、より詳しくは原水に含まれている石灰質などの硬度性物質によるスケールの発生を抑制する能力及び原水に含まれているウイルスを除去する能力を有するように構成された浄水用フィルターに関する。
続きを表示(約 1,100 文字)
【背景技術】
【0002】
一般的に、産業発達による水質汚染及び生活水準の向上による健康に対する関心度の上昇につれて、一般の家庭及び事務室では供給される水道水など(以下、「原水」という)を浄水器で浄化して使用しており、近年浄水器の使用が急激に増加している実情である。
【0003】
このように、浄水器の使用が増加するのに伴って、浄水器に使用される浄水用フィルターに対する技術も発展している。
【0004】
浄水器に使用される浄水用フィルターに対する技術を調べると次のようである。
【0005】
韓国登録特許第10-2279332号(2021.7.14.登録)の「浄水フィルターアセンブリー及びこれを含む浄水器」は、浄水用フィルターを浄水器に容易に装着及び分離することができる構造を有するようにする技術を提供している。
【0006】
韓国登録特許第10-1447907号(2014.09.30.登録)の「浄水器フィルターアセンブリー」は、フィルターカートリッジを着脱するだけで流体を開閉することができるようにし、その構造を簡素化して製作及び維持補修に卓越した効果を有するようにし、フィルターカートリッジの分離の際、フィルターアセンブリーの内部に存在する圧力によって過度にかかるカートリッジ除去力を低減させるための構造的手段を備え、フィルターカートリッジの締結の際、締結位置を容易に設定することができる構造的手段を提供している。
【0007】
また、前記韓国登録特許第10-2279332号及び韓国登録特許第10-1447907号は、一方向に原水が流入し、流入した原水がフィルターによって濾過された浄水を排出するように構成された構造を詳細に開示している。
【0008】
韓国登録特許第10-1317643号の「ポリアミドナノ複合膜及びその製造方法」は、有機リン酸塩を含有するように形成されたポリアミド活性層からなるポリアミドナノ複合に対する技術を提供している。
【先行技術文献】
【特許文献】
【0009】
韓国登録特許第10-1317643号公報
韓国登録特許第10-1447907号公報
韓国登録特許第10-2279332号公報
韓国登録特許第10-1317643号公報
【発明の概要】
【発明が解決しようとする課題】
【0010】
本発明は、石灰質などの硬度性物質によるスケールの発生を抑制し、ウイルスを除去し、ウイルスを除去してウイルスが増殖(繁殖)する現象を抑制することができる能力を有するように構成される浄水用フィルターを提供しようとする。
(【0011】以降は省略されています)
この特許をJ-PlatPat(特許庁公式サイト)で参照する
関連特許
株式会社ウィズアクア
水質浄化装置
20日前
栗田工業株式会社
排水回収装置
1か月前
三浦工業株式会社
汚泥減容方法
1か月前
三浦工業株式会社
汚泥乾燥加熱釜
12日前
株式会社ライトアース
水循環式水質浄化システム
6日前
三浦工業株式会社
精製水供給システム
12日前
栗田工業株式会社
電気イオン濃縮装置
10日前
名古屋メッキ工業株式会社
溶存金属析出装置
10日前
栗田工業株式会社
用水の水質予測方法
1か月前
スタンレー電気株式会社
流体除菌装置
4日前
栗田工業株式会社
超純水製造装置の制御方法
20日前
株式会社神鋼環境ソリューション
貯留槽
24日前
WOTA株式会社
液性判定システム及び液性判定方法
10日前
栗田工業株式会社
電気脱イオン装置の運転方法
11日前
水ing株式会社
廃溶液の処理方法
25日前
栗田工業株式会社
水質予測方法及び水質制御方法
1か月前
株式会社クボタ
電解水生成装置
25日前
株式会社クボタ
電解水生成装置
25日前
株式会社クボタ
電解水生成装置
25日前
パナソニックIPマネジメント株式会社
軟水化装置
25日前
パナソニックIPマネジメント株式会社
軟水化装置
25日前
オルガノ株式会社
尿素処理装置および尿素処理方法
1か月前
株式会社クボタ
電解水生成装置
25日前
オルガノ株式会社
水処理システムおよびその運転方法
1か月前
水ing株式会社
排水処理方法及び装置
1か月前
三浦工業株式会社
汚泥減容システム
24日前
パナソニックIPマネジメント株式会社
電解水生成装置
24日前
パナソニックIPマネジメント株式会社
水処理装置
25日前
パナソニックIPマネジメント株式会社
水処理装置
25日前
パナソニックIPマネジメント株式会社
水処理装置
25日前
パナソニックIPマネジメント株式会社
水処理装置
25日前
パナソニックIPマネジメント株式会社
水処理装置
25日前
パナソニックIPマネジメント株式会社
水処理装置
25日前
株式会社ヘルスカンパニー
浴用剤の使用方法
10日前
有限会社エコルネサンス・エンテック
環境負荷の低減化を図る方法
19日前
株式会社海洋開発技術研究所
水質改善装置および水質改善方法
26日前
続きを見る
他の特許を見る