TOP
|
特許
|
意匠
|
商標
特許ウォッチ
Twitter
他の特許を見る
10個以上の画像は省略されています。
公開番号
2025161537
公報種別
公開特許公報(A)
公開日
2025-10-24
出願番号
2024064818
出願日
2024-04-12
発明の名称
温調システム
出願人
三菱重工サーマルシステムズ株式会社
代理人
個人
,
個人
,
個人
主分類
F25B
7/00 20060101AFI20251017BHJP(冷凍または冷却;加熱と冷凍との組み合わせシステム;ヒートポンプシステム;氷の製造または貯蔵;気体の液化または固体化)
要約
【課題】複数系統の冷凍サイクルを備えた温調システムにおけるCOPを向上させる。
【解決手段】第1冷凍サイクルと、第2冷凍サイクルと、熱媒体を圧送するポンプと、温調対象を熱媒体により加熱または冷却する熱媒体熱交換器と、を有し、熱媒体回路に熱媒体を循環させる熱媒体サイクルと、第1圧縮機で圧縮された第1冷媒が流通する第1冷媒流路101と、第2膨張弁で膨張された第2冷媒が流通する第2冷媒流路102と、熱媒体熱交換器を通過した熱媒体が流通する熱媒体流路103と、を有し、第1冷媒と第2冷媒との熱交換、第1冷媒と熱媒体との熱交換、および第2冷媒と熱媒体との熱交換を行う統合熱交換器100と、を備える車両用温調システムを提供する。
【選択図】図3
特許請求の範囲
【請求項1】
第1圧縮機と、前記第1圧縮機で圧縮された第1冷媒を膨張させる第1膨張弁と、前記第1膨張弁により膨張された前記第1冷媒が供給されるとともに前記第1冷媒を前記第1圧縮機へ導く第1低圧側熱交換器と、を有し、第1冷媒回路に前記第1冷媒を循環させる第1冷凍サイクルと、
第2圧縮機と、前記第2圧縮機で圧縮された第2冷媒が供給される第2高圧側熱交換器と、前記第2高圧側熱交換器から供給される前記第2冷媒を膨張させるとともに前記第2冷媒を前記第2圧縮機へ導く第2膨張弁と、を有し、第2冷媒回路に前記第2冷媒を循環させる第2冷凍サイクルと、
熱媒体を圧送するポンプと、温調対象を前記熱媒体により加熱または冷却する熱媒体熱交換器と、を有し、熱媒体回路に前記熱媒体を循環させる熱媒体サイクルと、
前記第1圧縮機で圧縮された前記第1冷媒が流通する第1冷媒流路と、前記第2膨張弁で膨張された前記第2冷媒が流通する第2冷媒流路と、前記熱媒体熱交換器を通過した前記熱媒体が流通する熱媒体流路と、を有し、前記第1冷媒と前記第2冷媒との熱交換、前記第1冷媒と前記熱媒体との熱交換、および前記第2冷媒と前記熱媒体との熱交換を行う統合熱交換器と、を備える温調システム。
続きを表示(約 1,200 文字)
【請求項2】
前記統合熱交換器は、前記第1冷媒と前記熱媒体との第1熱交換量よりも前記第2冷媒と前記熱媒体との第2熱交換量が多い請求項1に記載の温調システム。
【請求項3】
前記第2熱交換量は、前記第1熱交換量の1.1倍以上である請求項2に記載の温調システム。
【請求項4】
前記統合熱交換器は、積層方向に積層される複数のプレートを有し、複数の前記プレートの間に前記第1冷媒流路、前記第2冷媒流路、および前記熱媒体流路が形成されるプレート式熱交換器であり、
前記第1冷媒流路と前記熱媒体流路を仕切る前記プレートの第1面積よりも、前記第2冷媒流路と前記熱媒体流路を仕切る前記プレートの第2面積が大きい請求項2または請求項3に記載の温調システム。
【請求項5】
前記第1冷媒流路は、前記積層方向における一方側で前記プレート間を前記プレートの長手方向に延び、
前記熱媒体流路は、前記積層方向における他方側で前記プレート間を前記長手方向に延び、
前記第2冷媒流路は、前記積層方向における前記一方側と前記他方側とに亘り前記プレート間を前記長手方向に延びる請求項4に記載の温調システム。
【請求項6】
前記第1冷媒流路は、前記プレートの長手方向における一方側で前記プレート間を前記プレートの前記長手方向に延び、
前記熱媒体流路は、前記長手方向における他方側で前記プレート間を前記長手方向に延び、
前記第2冷媒流路は、前記長手方向における前記一方側と前記他方側とに亘り前記プレート間を前記長手方向に延びる請求項4に記載の温調システム。
【請求項7】
前記統合熱交換器は、前記第1冷媒と前記熱媒体との第1熱交換量が前記第2冷媒と前記熱媒体との第2熱交換量よりも多い請求項1に記載の温調システム。
【請求項8】
前記第1熱交換量は、前記第2熱交換量の1.1倍以上である請求項7に記載の温調システム。
【請求項9】
前記統合熱交換器は、積層方向に積層される複数のプレートを有し、複数の前記プレートの間に前記第1冷媒流路、前記第2冷媒流路、および前記熱媒体流路が形成されるプレート式熱交換器であり、
前記第1冷媒流路と前記熱媒体流路を仕切る前記プレートの第1面積が、前記第2冷媒流路と前記熱媒体流路を仕切る前記プレートの第2面積よりも大きい請求項7または請求項8に記載の温調システム。
【請求項10】
前記第2冷媒流路は、前記積層方向における一方側で前記プレート間を前記プレートの長手方向に延び、
前記熱媒体流路は、前記積層方向における他方側で前記プレート間を前記長手方向に延び、
前記第1冷媒流路は、前記積層方向における前記一方側と前記他方側とに亘り前記プレート間を前記長手方向に延びる請求項9に記載の温調システム。
(【請求項11】以降は省略されています)
発明の詳細な説明
【技術分野】
【0001】
本開示は、温調システムに関するものである。
続きを表示(約 2,400 文字)
【背景技術】
【0002】
従来、車室内の空調や電池等の車載機器の温調に利用される冷凍サイクルを高効率化するために、複数の冷凍サイクルを組み合わせた冷凍サイクル装置が知られている(例えば、特許文献1参照)。特許文献1に開示される冷凍サイクル装置は、車室内空間の暖房中に電池を暖機する運転モードにおいて、第1冷凍サイクルの第1冷媒から第1循環路を循環する熱媒体に熱を伝達し、その熱媒体から第2冷凍サイクルの第2冷媒に熱を伝達し、第2冷媒から第2循環路を循環する熱媒体に熱を伝達する。第1循環路を循環する熱媒体により電池が暖機され、第2循環路を循環する熱媒体により送風空気が加熱される。
【先行技術文献】
【特許文献】
【0003】
特開2023-135138号公報
【発明の概要】
【発明が解決しようとする課題】
【0004】
しかしながら、特許文献1に開示される冷凍サイクル装置では、第1冷凍サイクルの第1冷媒と第1循環路を循環する熱媒体との熱交換を行う熱交換器と、第1循環路を循環する熱媒体と第2冷凍サイクルの第2冷媒との熱交換を行う熱交換器がそれぞれ独立した熱交換器となっている。第1冷凍サイクルの第1冷媒から第2冷凍サイクルの第2冷媒への熱伝達が第1循環路を循環する熱媒体を介して間接的になされるため、第1冷媒から第2冷媒へ直接的に熱伝達する場合に比べて冷凍サイクル装置のCOP(Coefficient of Performance)が低下してしまう。
【0005】
本開示は、このような事情に鑑みてなされたものであって、複数系統の冷凍サイクルを備えた温調システムにおけるCOPを向上させること目的とする。
【課題を解決するための手段】
【0006】
上記課題を解決するために、本開示の温調システムは以下の手段を採用する。
本開示の一態様に係る温調システムは、第1圧縮機と、前記第1圧縮機で圧縮された第1冷媒を膨張させる第1膨張弁と、前記第1膨張弁により膨張された前記第1冷媒が供給されるとともに前記第1冷媒を前記第1圧縮機へ導く第1低圧側熱交換器と、を有し、第1冷媒回路に前記第1冷媒を循環させる第1冷凍サイクルと、第2圧縮機と、前記第2圧縮機で圧縮された第2冷媒が供給される第2高圧側熱交換器と、前記第2高圧側熱交換器から供給される前記第2冷媒を膨張させるとともに前記第2冷媒を前記第2圧縮機へ導く第2膨張弁と、を有し、第2冷媒回路に前記第2冷媒を循環させる第2冷凍サイクルと、熱媒体を圧送するポンプと、温調対象を前記熱媒体により加熱または冷却する熱媒体熱交換器と、を有し、熱媒体回路に前記熱媒体を循環させる熱媒体サイクルと、前記第1圧縮機で圧縮された前記第1冷媒が流通する第1冷媒流路と、前記第2膨張弁で膨張された前記第2冷媒が流通する第2冷媒流路と、前記熱媒体熱交換器を通過した前記熱媒体が流通する熱媒体流路と、を有し、前記第1冷媒と前記第2冷媒との熱交換、前記第1冷媒と前記熱媒体との熱交換、および前記第2冷媒と前記熱媒体との熱交換を行う統合熱交換器と、を備える。
【発明の効果】
【0007】
本開示によれば、複数系統の冷凍サイクルを備えた温調システムにおけるCOPを向上させることができる。
【図面の簡単な説明】
【0008】
本開示の第1実施形態に係る車両用温調システムを示す概略構成図であり、車両用温調システムが冷房運転する状態を示す。
図1に示す統合熱交換器の一例であるプレート式熱交換器の外観を示す斜視図である。
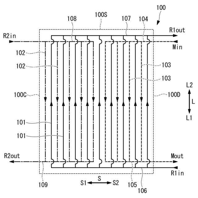
図2に示す統合熱交換器における第1冷媒、第2冷媒および熱媒体の流れを示す模式図である。
図2に示す統合熱交換器の第1変形例における第1冷媒、第2冷媒および熱媒体の流れを示す模式図である。
図2に示す統合熱交換器の第2変形例における第1冷媒、第2冷媒および熱媒体の流れを示す模式図である。
本開示の第2実施形態に係る車両用温調システムを示す概略構成図であり、車両用温調システムが暖房運転する状態を示す。
図6に示す統合熱交換器における第1冷媒、第2冷媒および熱媒体の流れを示す模式図である。
図6に示す統合熱交換器の変形例における第1冷媒、第2冷媒および熱媒体の流れを示す模式図である。
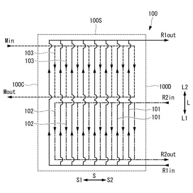
本開示の第3実施形態に係る統合熱交換器における第1冷媒、第2冷媒および熱媒体の流れを示す模式図である。
図9に示す統合熱交換器の変形例における第1冷媒、第2冷媒および熱媒体の流れを示す模式図である。
【発明を実施するための形態】
【0009】
〔第1実施形態〕
本開示の第1実施形態に係る車両用温調システム1について、図面を参照して説明する。本実施形態の車両用温調システム1は、例えば、エンジンを備えておらず走行用電動モーターから車両走行用の駆動力を得る電気自動車、あるいは、エンジンおよび電動機から車両走行用の駆動力を得る所謂ハイブリッド自動車等の図示しない車両に装備される。
【0010】
車両用温調システム1は、乗員が搭乗する車室の冷暖房、除湿、換気等の空調の他、車両に搭載されているバッテリー4、走行用モーター5、発熱する電子機器等の車載装置の熱管理、排熱回収等を担う。適切な温度や湿度に空調したり、車載装置を適温に管理したりすることを「熱管理」と総称するものとする。車両用温調システム1、および車載装置に備わる電動機器や電子機器には、車載のバッテリー4に蓄えられた電力が供給される。
(【0011】以降は省略されています)
この特許をJ-PlatPat(特許庁公式サイト)で参照する
関連特許
個人
製氷容器
11日前
株式会社不二工機
膨張弁
1か月前
株式会社不二工機
膨張弁
1か月前
アクア株式会社
冷蔵庫
19日前
アクア株式会社
冷蔵庫
19日前
ホシザキ株式会社
冷凍装置
1か月前
フクシマガリレイ株式会社
断熱扉
1か月前
富士電機株式会社
冷却装置
11日前
富士電機株式会社
自動販売機
1か月前
フクシマガリレイ株式会社
冷却貯蔵庫
1か月前
ダイキン工業株式会社
冷凍装置
2か月前
フクシマガリレイ株式会社
冷却貯蔵庫
1か月前
株式会社ゼロカラ
冷凍装置
27日前
株式会社ゼロカラ
冷凍装置
27日前
フクシマガリレイ株式会社
ショーケース
2か月前
ダイキン工業株式会社
冷媒充填方法
2か月前
株式会社フィラディス
ワインセラー
19日前
株式会社フィラディス
ワインセラー
4日前
FrostiX株式会社
冷凍システム
12日前
フクシマガリレイ株式会社
商品販売システム
1か月前
アクア株式会社
冷却ボックス装置
1か月前
アイ・ティ・イー株式会社
相変化判定システム
19日前
三菱電機株式会社
冷蔵庫
19日前
アクア株式会社
冷却ボックス装置
1か月前
株式会社富士通ゼネラル
冷凍サイクル装置
2か月前
東芝ライフスタイル株式会社
冷蔵庫
6日前
株式会社前川製作所
冷却装置
2か月前
株式会社富士通ゼネラル
冷凍サイクル装置
2か月前
株式会社富士通ゼネラル
冷凍サイクル装置
1か月前
日本碍子株式会社
空調システム
1か月前
三菱電機株式会社
冷凍冷蔵庫
4日前
株式会社MARS Company
ドラム式製氷機
12日前
東芝ライフスタイル株式会社
冷却装置
1か月前
株式会社MARS Company
ドラム式製氷機
12日前
株式会社MARS Company
ドラム式製氷機
12日前
東芝ライフスタイル株式会社
冷却装置
1か月前
続きを見る
他の特許を見る