TOP
|
特許
|
意匠
|
商標
特許ウォッチ
Twitter
他の特許を見る
10個以上の画像は省略されています。
公開番号
2025160505
公報種別
公開特許公報(A)
公開日
2025-10-22
出願番号
2025134016,2022086889
出願日
2025-08-12,2022-05-27
発明の名称
作業機
出願人
株式会社ササキコーポレーション
代理人
個人
,
個人
,
個人
主分類
A01D
34/64 20060101AFI20251015BHJP(農業;林業;畜産;狩猟;捕獲;漁業)
要約
【課題】演算処理の負担なく、目的位置に作業に係る部位を位置させる作業機。
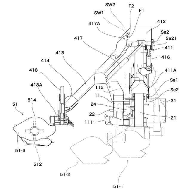
【解決手段】第1第1ブーム角度α1及び第2第1ブーム角度α2を含む旋回角度に旋回可能に設けた第1ブーム411と、第1ブーム411に対して第1第1ブーム角度α1及び第2第1ブーム角度α2と同じ旋回方向に第1第2ブーム角度を含む角度に相対的に旋回可能に設け、第1第1ブーム角度α1及び第2第1ブーム角度α2とは交差する旋回方向の第1旋回位置と第2旋回位置と第3旋回位置とに位置するように第1ブーム411に対して相対的に旋回可能に設けた第2ブーム413と、第1ブーム411及び第2ブーム413は格納姿勢及び展開姿勢の間で、自動格納操作する操作部を備え、同操作開始後、第2ブーム413が第1旋回位置か否かを判断し、該当しないと、第1ブーム411は目標角度を第1第1ブーム411角度に設定し、第1第1ブーム角度α1になるように旋回させる。
【選択図】図1
特許請求の範囲
【請求項1】
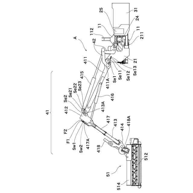
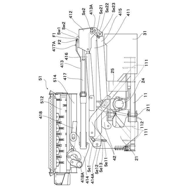
水平軸である第1旋回軸に連結して進行方向に対する左右方向に旋回可能であって、第1第1ブーム角度及び前記第1第1ブーム角度より大きい第2第1ブーム角度を含んだ旋回角度に旋回可能な第1ブームと、
前記第1旋回軸と平行な第2旋回軸で第1第2ブーム角度を含む角度に相対的に旋回可能であって、前記第1旋回軸と交差する方向の第3旋回軸に連結し、最も後方に位置する後退位置から最も前進側に位置した前進位置の範囲で旋回可能な第2ブームと、
前記第2ブームに連結し進行方向に対する前後方向の第4旋回軸で上下旋回が可能な作業部と、を備え、
前記第1ブームおよび前記第2ブームおよび前記作業部は、前記第1ブームを倒した状態、且つ、前記第2ブームを前記第1ブームに対して折り畳んだ状態、且つ、前記第2ブームを前記後退位置に旋回させた状態、且つ、前記第2ブームに対して折り重なるように作業部を位置させた状態の格納姿勢と、
前記第1ブームを前記第1旋回軸周りに旋回させて、前記第1ブームの他端側が前記第1旋回軸より側方に位置させた状態、又は、前記第2ブームを前記第1ブームに対して折り畳んだ状態から前記第2旋回軸周りに旋回させて互いの角度を広げた状態、又は、前記第2ブームを前記第3旋回軸周りに旋回させて前記後退位置より前記前進位置側に旋回させた位置の状態、又は、作業部を第4旋回軸周りに旋回させて、前記第2ブームを一端側から前記他端側に向かって延長させた側に旋回させた状態の展開姿勢と、に姿勢変更が可能であって、
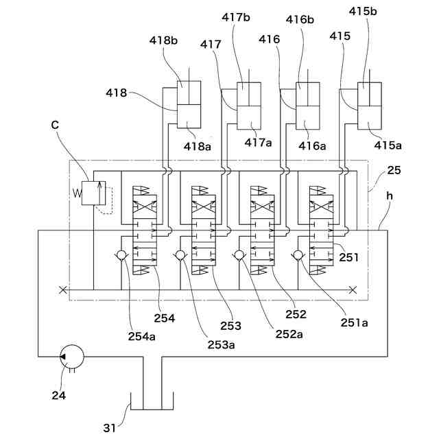
前記第1ブーム及び前記第2ブームおよび前記作業部は、展開姿勢から格納姿勢に自動で姿勢変更するための自動格納操作が可能な操作部と、を備え、
前記自動格納操作が開始後に、前記第2ブームが前記後退位置であるか否かを判断し、
前記第2ブームが前記後退位置ではない場合に、前記第1ブームの目標角度を前記第1第1ブーム角度に設定し、前記第1ブームを前記第1第1ブーム角度になるように旋回させる、
ことを特徴とする作業機。
続きを表示(約 500 文字)
【請求項2】
前記第2ブームが前記後退位置ではない場合に、前記第1ブームの目標角度を前記第1第1ブーム角度に設定し、前記第2ブームの目標角度を前記第1第2ブーム角度に設定し、
前記第1ブームを前記第1第1ブーム角度になるように旋回後に、前記第2ブームを前記第1第2ブーム角度になるように旋回させる、
ことを特徴とする請求項1に記載の作業機。
【請求項3】
前記第1ブームが前記第1第1ブーム角度、且つ、前記第2ブームが前記第1第2ブーム角度を形成後に、前記第2ブームを前記後退位置に向けて旋回させる、
ことを特徴とする請求項2に記載の作業機。
【請求項4】
前記第1ブームを前記第1第1ブーム角度になるように旋回させると同時に前記作業部を格納姿勢に向けて旋回させる、
ことを特徴とする請求項1乃至3のいずれかに記載の作業機。
【請求項5】
前記第2ブームを前記第1第2ブーム角度になるように旋回させると同時に前記作業部を格納姿勢に向けて旋回させる、
ことを特徴とする請求項1乃至3のいずれかに記載の作業機。
発明の詳細な説明
【技術分野】
【0001】
この発明は作業機に関する。
続きを表示(約 2,400 文字)
【背景技術】
【0002】
複数のアームを連結させて、このアームに対地作業をする刈り払い具を取り付けた刈り払い装置が、特許文献1で提唱されている。
この刈り払い装置は、アームや刈り払い具の位置や姿勢を検知するセンサを備え、センサで検知された情報を制御部で演算処理することによって、刈り払い具による刈り払い動作を正確に制御する、とされる。
【先行技術文献】
【特許文献】
【0003】
特開2000-139156号公報
【発明の概要】
【発明が解決しようとする課題】
【0004】
特許文献1に示された装置は、作業部である刈り払い具を使用しないときは、作業部を走行部に近接させた格納位置にした方が、作業部やロボットアームが走行の邪魔にならない。他方、作業を行う場合は、作業部を走行部から遠方に離れた位置に配置した展開位置にした方が、作業を効率的に行えるため都合が良い。
格納位置から展開位置または展開位置から格納位置にアーム及び作業部を操作する場合、複数のアームによって関節が複数有るため動作の自由度が高い。つまり、複数のアームを操作する自由度も高くなり、作業者が操作した場合に、操作回数が多く煩雑となる問題がある。展開状態あるいは格納状態に至るまでの工程が無数に存在するため、適切な順序が一見してわかりづらく、操作者が不慣れな場合、誤操作で作業部を地面や他の部材にぶつける可能性がある。
また、特許文献1に記載されたように、センサ等を使用して制御部での演算によって、アーム等の位置を自動制御する方法もある。しかし、多くの情報を演算処理しようとすると、処理能力を増加させなくてはならないため、演算処理を行う制御部の構成が高価になる問題がある。
この発明は、演算処理の負担を増やすことなく、容易に目的の位置に作業に係る部位を位置させることが可能な作業機を提供することを目的とする。
【課題を解決するための手段】
【0005】
この発明は、
水平軸である第1旋回軸に連結して進行方向に対する左右方向に旋回可能であって、第1第1ブーム角度及び前記第1第1ブーム角度より大きい第2第1ブーム角度を含んだ旋回角度に旋回可能な第1ブームと、
前記第1旋回軸と平行な第2旋回軸で第1第2ブーム角度を含む角度に相対的に旋回可能であって、前記第1旋回軸と交差する方向の第3旋回軸に連結し、最も後方に位置する後退位置から最も前進側に位置した前進位置の範囲で旋回可能な第2ブームと、
前記第2ブームに連結し進行方向に対する前後方向の第4旋回軸で上下旋回が可能な作業部と、を備え、
前記第1ブームおよび前記第2ブームおよび前記作業部は、前記第1ブームを倒した状態、且つ、前記第2ブームを前記第1ブームに対して折り畳んだ状態、且つ、前記第2ブームを前記後退位置に旋回させた状態、且つ、前記第2ブームに対して折り重なるように作業部を位置させた状態の格納姿勢と、
前記第1ブームを前記第1旋回軸周りに旋回させて、前記第1ブームの他端側が前記第1旋回軸より側方に位置させた状態、又は、前記第2ブームを前記第1ブームに対して折り畳んだ状態から前記第2旋回軸周りに旋回させて互いの角度を広げた状態、又は、前記第2ブームを前記第3旋回軸周りに旋回させて前記後退位置より前記前進位置側に旋回させた位置の状態、又は、作業部を第4旋回軸周りに旋回させて、前記第2ブームを一端側から前記他端側に向かって延長させた側に旋回させた状態の展開姿勢と、に姿勢変更が可能であって、
前記第1ブーム及び前記第2ブームおよび前記作業部は、展開姿勢から格納姿勢に自動で姿勢変更するための自動格納操作が可能な操作部と、を備え、
前記自動格納操作が開始後に、前記第2ブームが前記後退位置であるか否かを判断し、
前記第2ブームが前記後退位置ではない場合に、前記第1ブームの目標角度を前記第1第1ブーム角度に設定し、前記第1ブームを前記第1第1ブーム角度になるように旋回させる、
ことを特徴とする作業機、
に係る。
【0006】
この発明は、更に、
前記第2ブームが前記後退位置ではない場合に、前記第1ブームの目標角度を前記第1第1ブーム角度に設定し、前記第2ブームの目標角度を前記第1第2ブーム角度に設定し、
前記第1ブームを前記第1第1ブーム角度になるように旋回後に、前記第2ブームを前記第1第2ブーム角度になるように旋回させる、
ことを特徴とする作業機、
に係る。
【0007】
この発明は、更に、
前記第1ブームが前記第1第1ブーム角度、且つ、前記第2ブームが前記第1第2ブーム角度を形成後に、前記第2ブームを前記後退位置に向けて旋回させる、
ことを特徴とする作業機、
に係る。
【0008】
この発明は、更に、
前記第1ブームを前記第1第1ブーム角度になるように旋回させると同時に前記作業部を格納姿勢に向けて旋回させる、
ことを特徴とする作業機、
に係る。
【0009】
この発明は、更に、
前記第2ブームを前記第1第2ブーム角度になるように旋回させると同時に前記作業部を格納姿勢に向けて旋回させる、
ことを特徴とする作業機、
に係る。
【発明の効果】
【0010】
この発明は、演算処理の負担を増やすことなく、容易に目的の位置に作業に係る部位を位置させることが可能な作業機を提供することができる。
【図面の簡単な説明】
(【0011】以降は省略されています)
この特許をJ-PlatPat(特許庁公式サイト)で参照する
関連特許
個人
草刈り鋏
17日前
個人
虫捕り器
1か月前
個人
蠅捕獲器
13日前
個人
刈込鋏保持具
1か月前
個人
蜜蜂保護装置
4日前
個人
草刈機用回転刃
13日前
個人
飼育容器
1か月前
個人
後付巻降ろし器
1か月前
個人
種子の製造方法
10日前
個人
昆虫捕集器
10日前
株式会社丹勝
緑化工法
1か月前
個人
イカ釣り用ヤエン
1か月前
井関農機株式会社
作業車両
1か月前
井関農機株式会社
作業車両
25日前
井関農機株式会社
作業車両
1か月前
井関農機株式会社
作業車両
25日前
井関農機株式会社
作業車両
1か月前
株式会社シマノ
釣竿
1か月前
個人
四足動物用装着具
18日前
個人
水耕栽培システム
1か月前
大栄工業株式会社
捕獲器
25日前
株式会社オーツボ
海苔箱船
17日前
井関農機株式会社
作業車両
1か月前
井関農機株式会社
作業車両
13日前
井関農機株式会社
作業車両
18日前
井関農機株式会社
作業車両
1か月前
個人
妻面トラス梁付き園芸用ハウス
1か月前
松山株式会社
農作業機
1か月前
個人
伸縮する草刈り機の可動装置。
1か月前
松山株式会社
農作業機
1か月前
トヨタ自動車株式会社
育苗装置
1か月前
松山株式会社
草刈作業機
4日前
みのる産業株式会社
茎葉処理装置
19日前
個人
飼育水槽用の浄化装置
1か月前
スガノ農機株式会社
圃場作業装置
1か月前
株式会社小川農具製作所
穴明け装置
26日前
続きを見る
他の特許を見る