TOP
|
特許
|
意匠
|
商標
特許ウォッチ
Twitter
他の特許を見る
10個以上の画像は省略されています。
公開番号
2025160489
公報種別
公開特許公報(A)
公開日
2025-10-22
出願番号
2025132191,2024506463
出願日
2025-08-07,2022-08-01
発明の名称
血管内循環支持システム用の駆動ユニット
出願人
ニューパルスシーブイ,インコーポレイテッド
代理人
個人
,
個人
,
個人
,
個人
,
個人
主分類
A61M
60/139 20210101AFI20251015BHJP(医学または獣医学;衛生学)
要約
【課題】充分に高速な血管内循環支持システム(例えばIABPを含むシステム)用の駆動ユニットを提供する。
【解決手段】血管内循環支持システム用の駆動ユニットは、モーター、ボールナット、ボールねじ、およびベローズを含んでいる。モーターはローターおよびステーターを含んでおり、ボールナットはローターに固着されており、ベローズは、第一端部、第二端部、およびそれらの間に位置するベローズキャビティを有している。第一端部は固定されたポジションにあり、第二端部は、ベローズキャビティによって支えられる凹部を有する動的フランジによって規定されている。動的フランジの凹部はモーターの少なくとも一部分を支えており、第二端部はまた、ボールねじを受ける。ローターの回転は、ボールナット内のボールねじの直線運動を引き起こしてベローズを動作させる。
【選択図】図1
特許請求の範囲
【請求項1】
ローターとステーターとを含むモーター;
該ローターに固着された、ボールねじを運ぶボールナット;ならびに
第一端部、第二端部、および該第一端部と該第二端部との間に位置するベローズキャビティを有するベローズであって、
該第一端部が、固定されかつ空圧出力を有するものとして規定され、
該第二端部が、該ボールねじを受けるように構成された動的フランジによって規定され、該動的フランジが、該ベローズキャビティに向かって方向付けされた凹部を有しており、該凹部が、該モーターの少なくとも一部分を該ベローズキャビティ内に受けて入れ子状にしている、ベローズ
を含む、血管内循環支持システム内の伸展可能部材を制御するための駆動ユニットであって
該ボールナットが、該ローターの回転を該ボールナット内の該ボールねじの直線運動に変換してベローズを動作させ、それにより空気を動かして空圧出力に出入りさせる
駆動ユニット。
続きを表示(約 1,000 文字)
【請求項2】
モーターがモーターハウジングをさらに含み;かつ
ステーターが該モーターハウジングに固定されている
請求項1記載の駆動ユニット。
【請求項3】
ボールねじが螺旋状軌道を含み、
ローターの回転に起因して、複数のボールがそうした回転をボールナット内の該ボールねじの直線運動に移すように、ボールナットが、該螺旋状軌道内で進む複数のボールを含む、
請求項1記載の駆動ユニット。
【請求項4】
動的フランジがボールねじに固定されている、請求項1記載の駆動ユニット。
【請求項5】
内面を有する外側ケースをさらに含み、
該外側ケースの内面に固定された静的フランジによって第一端部が規定され、
該静的フランジが該第一端部をシールし、
動的フランジが第二端部をシールし、かつ
該静的フランジがベローズアウトレットを含む
請求項4記載の駆動ユニット。
【請求項6】
凹部の形状が円柱形である、請求項1記載の駆動ユニット。
【請求項7】
ローターの角位置、スピード、および方向のうち1つまたは複数を決定するように構成され、かつ
該決定されたローターの角位置、スピード、および方向のうち1つまたは複数に基づき、1つまたは複数のポジションフィードバック信号を生成するように構成された
エンコーダーディスクおよびエンコーダーセンサー
をさらに含む、請求項1記載の駆動ユニット。
【請求項8】
少なくとも前記1つまたは複数のポジションフィードバック信号に基づいてモーターを制御するように構成されたプロセッサーをさらに含む、請求項7記載の駆動ユニット。
【請求項9】
プロセッサーが、治療を受けている患者の1つまたは複数のEKG信号、および該患者の動脈内の圧力に関連した1つまたは複数の圧力信号に基づいて、モーターを制御するようにさらに構成されている、請求項8記載の駆動ユニット。
【請求項10】
治療を受けている患者の1つまたは複数のEKG信号に基づいてモーターを制御するように構成されたプロセッサーをさらに含む、請求項1記載の駆動ユニット。
(【請求項11】以降は省略されています)
発明の詳細な説明
【技術分野】
【0001】
本技術は心不全を処置するためのシステム、デバイス、および方法に関し、特に血管内循環支持システム用の駆動ユニットに関する。
続きを表示(約 3,900 文字)
【背景技術】
【0002】
背景
心不全の有病率は世界的に高まっており、医療提供者にとって高額な負担となっている。医療の進歩にもかかわらず、心不全患者の予後は依然として良好でなく、進行期の心不全を有する患者においては特にそうである。このことには、そうした患者に対する治療選択肢が限られることも一因となっている。血管内循環支持システムを使用したカウンターパルセーションは心不全に対する1つの処置選択肢である。そうしたシステムは、カテーテルと呼ばれる細く可撓性のチューブを、カテーテル先端に取り付けられた長く細いバルーンとともに含んでいてもよい。バルーンは患者の大動脈内にポジショニングされる。カテーテルの他端は、心拍中の適切な時点でバルーンを膨張および脱膨張させるための機構を伴う、コンピューターコンソールまたは「駆動ユニット」に取り付けられてもよい。バルーンの作動はバルーンポンプ(すなわち大動脈内バルーンポンプ(IABP))として作用する。駆動ユニットは、心臓が弛緩した時に、末端臓器、および心臓を灌流するための冠動脈に向かって血液を押すために、バルーンを膨張させてもよい。そして左心室が収縮する前に、駆動ユニットはバルーンを脱膨張させてもよく、それは、心臓がそれに対抗してポンプ送りしなければならない圧力を低減させる。このことは、心臓がより少ないエネルギーを使用してより多くの血液を体内にポンプ送りすることを可能にする。駆動ユニットは、心拍と同期して引き続きバルーンを膨張および脱膨張させてもよい。
【0003】
従来の駆動ユニットはバルーンを膨張および脱膨張させるためにヘリウムを利用する場合がある。しかし、ヘリウムの使用に関連して、技術的コスト、患者の使用性および可搬性の問題、ならびに安全上のリスクが存在する。例えば、駆動ユニットは、ヘリウムを含有する貯蔵タンクを含有し(またはこれに接続され)なければならない。結果として、従来の駆動ユニットは、可搬性であるには大きく重すぎる。ヘリウムを使用する典型的な駆動ユニットは50~100lbsの重量があり、病院内での使用に限られる。さらに、バルーンがリークまたは破裂した場合には、ヘリウムは血液中に速やかには吸収されず、血栓形成および脳卒中の著明なリスクを患者にもたらす。
【0004】
さらに、患者の心拍との同期が良好でないバルーンの膨張および脱膨張は、甚だしく有害になるか、少なくとも治療的に非生産的になる可能性がある。例えば、バルーン膨張が早いことは、左心室の後負荷(すなわち、大動脈を開いて血液体積を全身循環内に押し出すために心臓が克服しなければならない抵抗の量)の増大をもたらす可能性がある。バルーンの膨張が早すぎると、左心室はまだ収縮の過程中で、開いた大動脈弁を通って血液を駆出しようとしている可能性がある。ゆえに、左心室は全身の血管抵抗に対してのみならず、心臓からの血流の妨げとなる、大動脈内で膨張したバルーンによる追加的な抵抗に対しても働くことになる可能性がある。そしてまた、一部の血液が大動脈を通って左心室内に押し戻される可能性もあり、それは心室容積を増大させてその壁により大きなストレスをかける。バルーン膨張が遅いことは、拡張期血圧増高の低減をもたらす可能性がある。治療的に有効であるために、駆動ユニットは大動脈弁が閉じた直後にバルーンを膨張させる可能性がある。膨張が大動脈弁閉鎖のずっと後に生じると、バルーンは心拡張期中に血液を身体および心臓に押し出すための充分な時間がなく、それは治療有効性を低減させる。バルーン脱膨張が早いことは、心室の作業負荷および心筋の酸素需要を効果的に低減させない。バルーンの脱膨張が早すぎる場合、大動脈圧は平衡化するための時間を有する可能性があり、心臓近くの拡張期血圧は非補助時のレベルまで戻る可能性があり、そして、左心室の等容収縮持続時間、または心臓がそれに対抗して駆出しなければならない後負荷の、低減が生じない可能性がある。バルーン脱膨張が早いことの結果として、心筋酸素需要を低減できない可能性がある。バルーン脱膨張が早いことは、拡張期血圧増高の恩恵をいくらか提供する可能性があるとはいえ、大動脈弁を開くうえで左心室が補助されない可能性があるので、後負荷の低減が少なくなる。バルーン脱膨張が遅いと、左心室が再び収縮する準備ができるまでに大動脈の拡張終期圧が低減するのに充分な時間がないので、後負荷を増大させる可能性がある。
【0005】
駆動ユニットは、患者の心電図(ECGまたはEKG)のリアルタイム感知および解析に少なくとも部分的に基づいて、バルーンを正しい時間に膨張および脱膨張させてもよい。しかし、信号を完璧に感知して駆動ユニットに送達したとしても、駆動ユニットの機械的な非効率性がバルーンの実際の膨張・脱膨張サイクルにいくらかの遅延を引き起こす可能性がある。この遅延は、いくつかの心血管コンディションについて、IABPを使用したカウンターパルセーションの治療的適用を妨げる可能性がある。心房細動などの不整脈は、心臓上部の2つの部屋が無秩序な電気信号を受けた時に生じる、不規則でしばしば速い心拍数のゆえに、そうした遅延に特に敏感である。例えば、a-fibまたは他の不整脈がある患者において、膨張したバルーンが妨げとならないようにするには、QRS群内のR波を受けてから約100ミリ秒以内にバルーンが少なくとも50%脱膨張されるべきである。ゆえに、不整脈、不規則心拍、またはa-fibを患う患者のために安全かつ有効な治療法を提供できるのに充分に高速な、血管内循環支持システム(例えばIABPを含むシステム)用の駆動ユニットに対するニーズが存在する。高価で、大きく、重く、したがってほとんど可搬性がないヘリウムタンクを必要としない駆動ユニットに対しても、別のニーズが存在する。ヘリウムを使用してバルーンを膨張させることがもたらすリスクを回避または軽減するために、ヘリウム以外の流体を使用する駆動ユニットに対しても、同様にニーズが存在する。そして、従来の駆動ユニットと比較して重量およびサイズが低減された、可搬性が向上した駆動ユニットに対しても、ニーズが存在する。
【発明の概要】
【0006】
【図面の簡単な説明】
【0007】
本技術の多くの局面は、以下の図面を参照することによってよりよく理解されうる。図面内の構成要素は必ずしも縮尺が一律でなく、むしろ、本開示の原理を明瞭に図示することに重点が置かれている。
【0008】
患者の脈管構造内に植え込まれた血管内循環支持システムの一例を図示する。
血管内循環支持システム用の駆動ユニットの例示的な第一の態様の上面透視外観図を図示する。
図2Aの駆動ユニットの上面外観図を図示する。
図2Aの駆動ユニットの側面外観図を図示する。
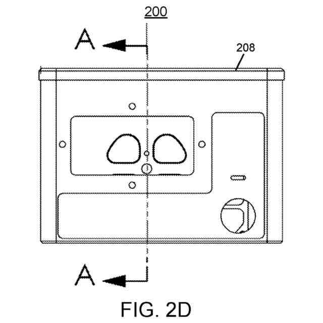
図2Aの駆動ユニットの端面外観図を図示する。
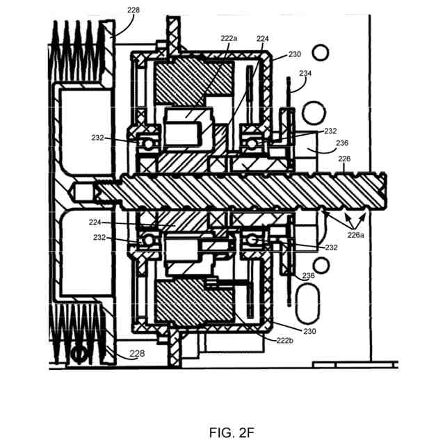
図2Aおよび2Dの断面A-Aに沿った、図2Aの駆動ユニットの断面図を図示する。
図2Aおよび2Dの断面A-Aに沿った、図2Aの駆動ユニットの一部分の分解図を図示する。
血管内循環支持システムの駆動ユニットの例示的な第二の態様の上面外観透視図を図示する。
図3Aの駆動ユニットの外観端面図を図示する。
図3Aの駆動ユニットの第一側面外観図を図示する。
図3Aの駆動ユニットの第二側面外観図を図示する。
図3Cおよび3Dの断面C-Cに沿った、図3Aの駆動ユニットの断面図を図示する。
図2Aおよび3Aの駆動ユニットに適用可能な、ある一定の制御コンポーネントのブロック図を図示する。
【発明を実施するための形態】
【0009】
詳細な説明
本技術のいくつかの態様の具体的詳細を、図面を参照しながら以下に説明する。本発明の態様の多くは、血液を体内にめぐらせることを助けるカウンターパルセーションを提供するために大動脈内にIABP/バルーンをポジショニングする、血管内循環支持システム/血管内心室補助デバイス(「iVAD」)の使用に関して、以下に説明されるが、本明細書に説明されるものに加えて、他の用途および他の態様も本技術の範囲内である。例えば、本技術の他のいくつかの態様が、本明細書に説明するものとは異なる構成、コンポーネント、または手技を有してもよく、そして本明細書に示す諸態様の特徴が互いに組み合わせられてもよい。したがって当業者には、追加的要素を伴う他の態様を本技術が有しうること、または、描写および後述する特徴のうちいくつかを伴わない他の態様を本技術が有しうることが、理解されるであろう。
【0010】
以下に提示する説明において用いられる術語は、本技術のある一定の具体的態様の詳細な説明との関連において用いられていても、その最も広い妥当な様式で解釈されることが意図されている。ある一定の用語が以下において強調される可能性もある。しかし、制限された様式で解釈されることが意図された術語は、この詳細な説明のセクションにおいて、明白かつ具体的にそのように定義される。加えて、本技術は、実施例の範囲内に入るが図面に関して詳しく説明されない他の態様も含みうる。
(【0011】以降は省略されています)
この特許をJ-PlatPat(特許庁公式サイト)で参照する
関連特許
個人
貼付剤
7日前
個人
短下肢装具
3か月前
個人
排尿補助器具
20日前
個人
前腕誘導装置
3か月前
個人
白内障治療法
7か月前
個人
洗井間専家。
7か月前
個人
嚥下鍛錬装置
3か月前
個人
アイマスク装置
2か月前
個人
矯正椅子
5か月前
個人
胸骨圧迫補助具
1か月前
個人
ホバーアイロン
6か月前
個人
バッグ式オムツ
4か月前
個人
腰ベルト
10日前
個人
汚れ防止シート
1か月前
個人
ウォート指圧法
18日前
個人
歯の修復用材料
4か月前
個人
車椅子持ち上げ器
7か月前
個人
哺乳瓶冷まし容器
3か月前
個人
シャンプー
6か月前
個人
湿布連続貼り機。
2か月前
三生医薬株式会社
錠剤
7か月前
個人
歯の保護用シール
5か月前
個人
陣痛緩和具
3か月前
個人
服薬支援装置
7か月前
株式会社八光
剥離吸引管
5か月前
個人
治療用酸化防御装置
1か月前
株式会社結心
手袋
8か月前
株式会社コーセー
化粧料
17日前
個人
エア誘導コルセット
2か月前
株式会社大野
骨壷
4か月前
個人
性行為補助具
3か月前
株式会社松風
口腔用組成物
3か月前
株式会社ダリヤ
毛髪化粧料
1か月前
株式会社コロナ
サウナ装置
6か月前
個人
高気圧環境装置
4か月前
株式会社ファンケル
化粧料
8か月前
続きを見る
他の特許を見る