TOP
|
特許
|
意匠
|
商標
特許ウォッチ
Twitter
他の特許を見る
10個以上の画像は省略されています。
公開番号
2025160238
公報種別
公開特許公報(A)
公開日
2025-10-22
出願番号
2025117073,2022552227
出願日
2025-07-11,2021-02-26
発明の名称
ガス流の供給に関連する改善
出願人
フィッシャー アンド ペイケル ヘルスケア リミテッド
代理人
個人
,
個人
,
個人
,
個人
,
個人
主分類
A61M
16/00 20060101AFI20251015BHJP(医学または獣医学;衛生学)
要約
【課題】呼吸システムが患者の吸気要求量を満たすのに十分なガスの流れを提供しているかどうかを判定するための、及び/又は、患者の吸気要求量を満たす若しくは患者の吸気要求量に少なくとも近づくガス流を提供するための改善された装置を提供する。
【解決手段】本開示は、患者にガス流を提供する流れ発生装置であって、ガス流が酸素分画を備える、流れ発生装置と、患者の鼻及び/又は口における酸素分画に関連する入力を受信し、患者の鼻及び/又は口における酸素分画に基づいてガス流の流量を調整するように構成された制御装置とを備える方法及び呼吸システムに関する。
【選択図】図3
特許請求の範囲
【請求項1】
患者にガス流を提供する流れ発生装置であって、前記ガス流が酸素分画を備える、流れ発生装置と、
センサから入力を受信し、
前記患者の鼻及び/又は口における酸素分画に基づいて前記ガス流の流量を調整するように構成された、制御装置と
を備える、
呼吸システム。
続きを表示(約 1,000 文字)
【請求項2】
患者にガス流を提供する流れ発生装置であって、前記ガス流が酸素分画を備える、流れ発生装置と、
患者の鼻及び/又は口における酸素分画に関連する入力を受信し、
前記患者の鼻及び/又は口における前記酸素分画に基づいて前記ガス流の流量を調整するように構成された、制御装置と
を備える、
呼吸システム。
【請求項3】
前記流れ発生装置が、高流量ガス流を提供する、請求項1又は2に記載の呼吸システム。
【請求項4】
前記制御装置が、前記患者の鼻又は口における前記酸素分画の表示を得るようにさらに構成される、請求項1、2、又は3に記載の呼吸システム。
【請求項5】
前記ガス流量が、前記患者の鼻及び/又は口における前記酸素分画と前記ガス流の酸素分画との関係に基づいて調整される、1~4のいずれか一項に記載の呼吸システム。
【請求項6】
前記センサが、前記制御装置に結合されるO2分画センサである、請求項1、又は3~5のいずれか一項に記載の呼吸システム。
【請求項7】
ガス流を加湿するための加湿器、
吸気チューブ、
導管(たとえば、ドライライン又は加熱された呼吸チューブ)、
患者インターフェース、
圧力逃し弁フィルタ、
フィルタ
のうちの1つ又は複数をさらに備える、
請求項1~6のいずれか一項に記載の呼吸システム。
【請求項8】
前記制御装置が、
前記患者の口及び/又は鼻における前記酸素分画に基づいて、前記ガス流が吸気要求量を満たすか、吸気要求量を満たさないかを判定する
ようにさらに構成される、請求項1~7のいずれか一項に記載の呼吸システム。
【請求項9】
前記制御装置が、
前記患者の口及び/又は鼻における酸素分画と前記ガス流の酸素分画との関係に基づいて、前記ガス流が吸気要求量を満たすか、吸気要求量を満たさないかを判定する
ようにさらに構成される、請求項1~8のいずれか一項に記載の呼吸システム。
【請求項10】
患者が吸気要求量を満たしているか満たしていないかをユーザに伝えるように構成されたユーザインターフェース及び前記制御装置
をさらに備える、請求項7又は8に記載の呼吸システム。
(【請求項11】以降は省略されています)
発明の詳細な説明
【技術分野】
【0001】
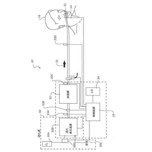
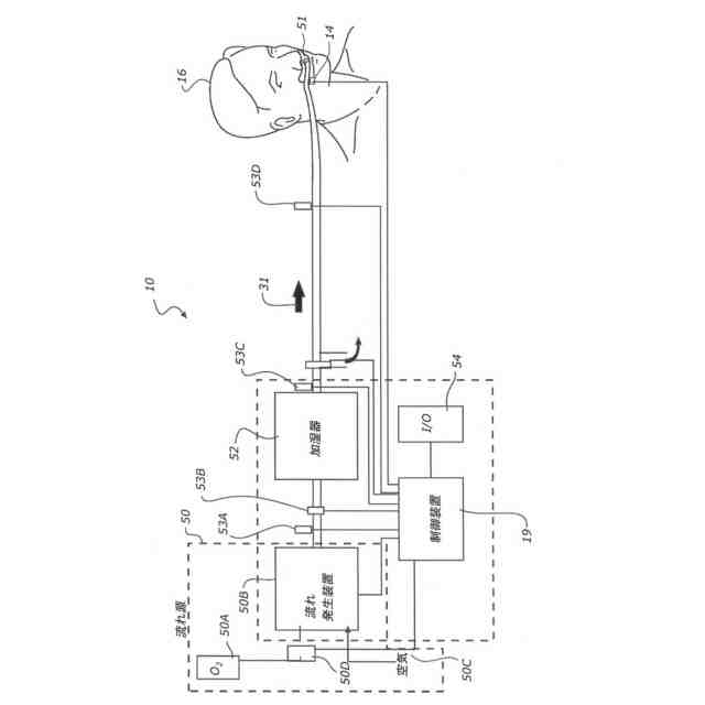
本発明は、呼吸システムが患者の吸気要求量を満たすのに十分なガスの流れを提供しているかどうかを判定するための、及び/又は、患者の吸気要求量を満たす若しくは患者の吸気要求量に少なくとも近づくガス流を提供するための方法及び装置に関する。
続きを表示(約 1,500 文字)
【背景技術】
【0002】
高流量呼吸システムは、ガスの流れに、患者への高い流量、及び、呼吸支援のための酸素濃度を提供するために使用される。たとえば、ガスのそのような流れが、患者の呼吸を支援する、及び/又は、患者を酸素化するために提供されてもよい。患者の酸素化は、患者の肺機能が低下し、支援を必要とする場合、たとえば、患者が呼吸器疾患又は障害を患っているときの集中治療において、又は、麻酔処置の前に患者の酸素貯留を増加させる必要があるとき(「前酸素化」と呼ばれる)などの、さまざまな環境において望ましいことがある。用語「麻酔処置」は、全身麻酔、処置時の鎮静、及び領域/局所麻酔を網羅するために使用することができる。高流量呼吸システムの他の用途もある可能性があり、本明細書の実施形態は、高流量呼吸システムの他の出願のいずれかとともに使用される可能性がある。
【0003】
効果的な呼吸支援を提供するために、高流量呼吸システムは、吸気要求量、好ましくは、患者のピーク吸気要求量が満たされるような、十分に高い流量を提供しなければならない。しかしながら、解剖学、生理学、不安、意識水準、及び呼吸器疾患状態を含むさまざまな要因に起因する、ピーク吸気要求量における多くの患者間及び患者内の可変性が存在することに注目すべきである。「高い」流量を提供することが患者の吸気要求量を満たすだけ十分に高くないことがあるので、そのような可変性は、高流量呼吸システムが患者の吸気要求量を満たすために好適な流量でガス流を提供しているどうかを判定することをより困難にする。さらに、過度に高い流量と関連付けられる患者の不快感を最小化又は回避することが重要である。
【0004】
したがって、呼吸システムが、ピーク吸気要求量などの患者の吸気要求量を満たす流量でガスの流れを提供しているかどうかを判定するための方法及び装置を提供することが望ましい。
【発明の概要】
【発明が解決しようとする課題】
【0005】
吸気要求量に基づいて患者にガス流を提供すること、及び/又は、吸気要求量の表示を得ることが本発明の目的である。たとえば、実施形態は、呼吸システムが患者の吸気要求量を満たすガスの流れを提供しているかどうかを判定する。これは、たとえば、瞬間的な吸気要求量又はピーク吸気要求量である可能性がある。
【課題を解決するための手段】
【0006】
1つの態様において、本発明は、患者にガス流を提供する流れ発生装置であって、ガス流が酸素分画を備える、流れ発生装置と、センサから入力を受信し、患者の鼻及び/又は口における酸素分画に基づいてガス流の流量を調整するように構成された制御装置とを備える呼吸システムを備えると言われてもよい。
【0007】
別の態様において、本発明は、患者にガス流を提供する流れ発生装置であって、ガス流が酸素分画を備える、流れ発生装置と、患者の鼻及び/又は口における酸素分画に関連する入力を受信し、患者の鼻及び/又は口における酸素分画に基づいてガス流の流量を調整するように構成された制御装置とを備える呼吸システムを備えると言われていてもよい。
【0008】
任意に、流れ発生装置は、高流量ガス流を提供する。
【0009】
任意に、制御装置は、患者の鼻又は口における酸素分画の表示を得るようにさらに構成される。
【0010】
任意に、ガス流量は、患者の鼻及び/又は口における酸素分画とガス流の酸素分画との関係に基づいて調整される。
(【0011】以降は省略されています)
この特許をJ-PlatPat(特許庁公式サイト)で参照する
関連特許
個人
貼付剤
6日前
個人
短下肢装具
3か月前
個人
排尿補助器具
19日前
個人
前腕誘導装置
3か月前
個人
洗井間専家。
7か月前
個人
嚥下鍛錬装置
3か月前
個人
白内障治療法
7か月前
個人
ウォート指圧法
17日前
個人
腰ベルト
9日前
個人
胸骨圧迫補助具
1か月前
個人
アイマスク装置
2か月前
個人
汚れ防止シート
1か月前
個人
歯の修復用材料
4か月前
個人
バッグ式オムツ
4か月前
個人
矯正椅子
5か月前
個人
ホバーアイロン
6か月前
個人
車椅子持ち上げ器
7か月前
個人
湿布連続貼り機。
2か月前
個人
歯の保護用シール
5か月前
個人
陣痛緩和具
3か月前
三生医薬株式会社
錠剤
7か月前
個人
哺乳瓶冷まし容器
3か月前
個人
シャンプー
6か月前
個人
治療用酸化防御装置
1か月前
個人
エア誘導コルセット
2か月前
個人
性行為補助具
3か月前
株式会社八光
剥離吸引管
5か月前
個人
服薬支援装置
7か月前
株式会社大野
骨壷
4か月前
株式会社コーセー
化粧料
16日前
個人
手指運動ツール
2か月前
個人
形見の製造方法
4か月前
株式会社ニデック
検眼装置
3か月前
株式会社ニデック
眼科装置
23日前
株式会社ダリヤ
皮膚化粧料
7か月前
個人
高気圧環境装置
4か月前
続きを見る
他の特許を見る