TOP
|
特許
|
意匠
|
商標
特許ウォッチ
Twitter
他の特許を見る
10個以上の画像は省略されています。
公開番号
2025160187
公報種別
公開特許公報(A)
公開日
2025-10-22
出願番号
2025108710,2023183887
出願日
2025-06-27,2013-09-23
発明の名称
信頼性レベル及び混合コンテンツ情報を含む付加拡張情報
出願人
マイクロソフト テクノロジー ライセンシング,エルエルシー
,
MICROSOFT TECHNOLOGY LICENSING, LLC
代理人
弁理士法人ITOH
主分類
H04N
19/70 20140101AFI20251015BHJP(電気通信技術)
要約
【課題】付加拡張情報にエンコーダの信頼性レベル情報を含むエンコーダ及びデコーダを提供する。
【解決手段】デコーダは、受信したビットストリームを復号して付加拡張情報(SEI)メッセージを取得する。SEIメッセージはピクチャ・ソース・データを含み、このピクチャ・ソース・データの正確性におけるエンコーダの相対的信頼性の信頼性レベルを明示する。デコーダは、信頼性レベル・インジケーションを使用して、デコーダがピクチャをプログレッシブ又はインタレースとして独立に識別すべきかどうか及び/又は複製ピクチャを識別すべきかどうかを判定するかあるいはSEIメッセージ内のピクチャ・ソース・スキャニング情報をありのままに有効なものとして受け取る。
【選択図】図6
特許請求の範囲
【請求項1】
エンコーダ・デバイスにより実行される方法であって、当該方法は、
ビットストリーム又はビットストリーム部分におけるピクチャのシーケンスを符号化するステップであって、
前記符号化するステップは、前記ビットストリーム又は前記ビットストリーム部分における、前記ピクチャのシーケンスのソース・スキャン・タイプを識別するためのシンタックス要素を符号化するステップを含み、
前記シンタックス要素は、集合的に、前記シーケンスにおける前記ピクチャがインタレース・スキャン・タイプであることを示す状態、前記シーケンスにおける前記ピクチャがプログレッシブ・スキャン・タイプであることを示す状態、前記シーケンスにおける前記ピクチャが未知のソース・スキャン・タイプであることを示す状態、及び、ソース・スキャン・タイプが、ピクチャ・タイミングSEIメッセージの中のピクチャ・レベル・シンタックス要素により、前記シーケンスの各ピクチャにおいて独立して示されることを示す状態、という利用可能な状態のうちの1つを示し、
前記シンタックス要素は、1以上のピクチャがインタレース・スキャン・タイプであるか否かを示す第1のフラグと、前記第1のフラグとは異なり前記第1のフラグとは別個のシンタックス要素である第2のフラグであって、前記1以上のピクチャがプログレッシブ・スキャン・タイプであるか否かを示す第2のフラグと、を含む、
ステップと、
前記ビットストリーム又は前記ビットストリーム部分を出力するステップと、を含む、
方法。
続きを表示(約 2,100 文字)
【請求項2】
前記符号化するステップは、前記ピクチャのうちの1以上が複製ピクチャであるか否かを示す複製ピクチャ・フラグを符号化するステップをさらに含む、請求項1に記載の方法。
【請求項3】
前記符号化するステップは、前記ピクチャのうちの1以上がビデオ・タイプの混合を含むか否かを示す混合データ・フラグを符号化するステップをさらに含む、請求項1に記載の方法。
【請求項4】
デコーダ・デバイスにより実行される方法であって、当該方法は、
ビットストリーム又はビットストリーム部分におけるピクチャのシーケンスを受信するステップであって、
前記ビットストリーム又は前記ビットストリーム部分は、前記ピクチャのシーケンスのソース・スキャン・タイプを識別するためのシンタックス要素をさらに含み、
前記シンタックス要素は、集合的に、前記シーケンスにおける前記ピクチャがインタレース・スキャン・タイプであることを示す状態、前記シーケンスにおける前記ピクチャがプログレッシブ・スキャン・タイプであることを示す状態、前記シーケンスにおける前記ピクチャが未知のソース・スキャン・タイプであることを示す状態、及び、ソース・スキャン・タイプが、ピクチャ・タイミングSEIメッセージの中のピクチャ・レベル・シンタックス要素により、前記シーケンスの各ピクチャにおいて独立して示されることを示す状態、という利用可能な状態のうちの1つを示し、
前記シンタックス要素は、1以上のピクチャがインタレース・スキャン・タイプであるか否かを示す第1のフラグと、前記第1のフラグとは異なり前記第1のフラグとは別個のシンタックス要素である第2のフラグであって、前記1以上のピクチャがプログレッシブ・スキャン・タイプであるか否かを示す第2のフラグと、を含む、
ステップと、
前記1以上のピクチャを復号化するステップと、
1以上のシンタックス要素において識別されるソース・スキャン・タイプに従って、前記の復号化された1以上のピクチャを処理するステップと、を含む、
方法。
【請求項5】
前記ビットストリーム又は前記ビットストリーム部分は、前記ピクチャのうちの1以上が複製ピクチャであるか否かを示す複製ピクチャ・フラグをさらに含む、請求項4に記載の方法。
【請求項6】
前記ビットストリーム又は前記ビットストリーム部分は、前記ピクチャのうちの1以上がビデオ・タイプの混合を含むか否かを示す混合データ・フラグをさらに含む、請求項4に記載の方法。
【請求項7】
コンピュータ実行可能命令を記憶している有体のコンピュータ読み取り可能媒体であって、前記コンピュータ実行可能命令は、コンピューティング・デバイスに方法を実行させ、前記方法は、
ビットストリーム又はビットストリーム部分におけるピクチャのシーケンスを受信するステップであって、
前記ビットストリーム又は前記ビットストリーム部分は、前記ピクチャのシーケンスのソース・スキャン・タイプを識別するためのシンタックス要素をさらに含み、前記シンタックス要素は、集合的に、前記シーケンスにおける前記ピクチャがインタレース・スキャン・タイプであることを示す状態、前記シーケンスにおける前記ピクチャがプログレッシブ・スキャン・タイプであることを示す状態、前記シーケンスにおける前記ピクチャが未知のソース・スキャン・タイプであることを示す状態、及び、ソース・スキャン・タイプが、ピクチャ・タイミングSEIメッセージの中のピクチャ・レベル・シンタックス要素により、前記シーケンスの各ピクチャにおいて独立して示されることを示す状態、という利用可能な状態のうちの1つを示し、
前記シンタックス要素は、1以上のピクチャがインタレース・スキャン・タイプであるか否かを示す第1のフラグと、前記第1のフラグとは異なり前記第1のフラグとは別個のシンタックス要素である第2のフラグであって、前記1以上のピクチャがプログレッシブ・スキャン・タイプであるか否かを示す第2のフラグと、を含む、
ステップと、
前記1以上のピクチャを復号化するステップと、
1以上のシンタックス要素において識別されるソース・スキャン・タイプに従って、前記の復号化されている1以上のピクチャを処理するステップと、を含む、
有体のコンピュータ読み取り可能媒体。
【請求項8】
前記ビットストリーム又は前記ビットストリーム部分は、前記ピクチャのうちの1以上が複製ピクチャであるか否かを示す複製ピクチャ・フラグをさらに含む、請求項7に記載の有体のコンピュータ読み取り可能媒体。
【請求項9】
前記ビットストリーム又は前記ビットストリーム部分は、前記ピクチャのうちの1以上がビデオ・タイプの混合を含むか否かを示す混合データ・フラグをさらに含む、請求項7に記載の有体のコンピュータ読み取り可能媒体。
発明の詳細な説明
【技術分野】
【0001】
本出願は、ビデオ符号化及びビデオ復号化に関し、詳細には、ビットストリームにおいて付加拡張情報を使用及び提供するためのツール及び技術に関する。
続きを表示(約 2,800 文字)
【背景技術】
【0002】
エンジニアは、デジタル・ビデオのビット・レートを低減させるために、圧縮(ソース符号化とも呼ばれる)を使用する。圧縮は、ビデオ情報をより低いビット・レート形式に変換することにより、ビデオ情報を記憶して伝送するコストを低減させる。伸張(復号化とも呼ばれる)は、圧縮形式からオリジナル情報のバージョンを再構築する。「コーデック」はエンコーダ/デコーダ・システムである。
【0003】
ここ20年の間、H.261規格、H.262(MPEG-2又はISO/IEC 13818-2)規格、H.263規格、及びH.264(AVC又はISO/IEC 14496-10)規格、並びに、MPEG-1(ISO/IEC 11172-2)規格、MPEG-4 Visual(ISO/IEC 14496-2)規格、及びSMPTE 421M(VC-1)規格を含む様々なビデオ・コーデック規格が採用されてきた。より最近では、HEVC(H.265)規格を策定中である。ビデオ・コーデック規格は、通常、特定の機能が符号化及び復号化において使用されるときの、符号化ビデオ・ビットストリームのシンタックスのためのオプション、ビットストリームにおける詳細パラメータを定義している。多くの場合、ビデオ・コーデック規格はまた、デコーダが復号化において正しい結果を達成するために実行すべき復号化オペレーションに関する詳細を提供している。
【発明の概要】
【0004】
とりわけ、詳細な説明は、付加拡張情報(SEI)を有するビットストリームのためのイノベーションを提供する。特定の実施形態において、SEIメッセージは、ピクチャ・ソース・データ(例えば、関連未圧縮ピクチャがプログレッシブ・スキャン・ピクチャ又はインタレース・スキャン・ピクチャであるかを示すデータ、及び/又は関連ピクチャが複製ピクチャであるかどうかを示すデータ)を含み、SEIメッセージはまた、このピクチャ・ソース・データのフォーマットの正確性におけるエンコーダの相対的信頼性の信頼性レベルを明示し得る。デコーダは、信頼性レベル・インジケーションを使用して、デコーダがピクチャをプログレッシブ又はインタレースとして独立に識別すべきかどうか、及び/又は示される複製ピクチャを識別すべきかどうかを判定することができる。
【0005】
所定の実施例において、SEIメッセージはまた、関連ピクチャが混合データ(例えば、インタレース・データとプログレッシブ・データとの混合)を含むかどうかを示すためのインジケータを含む。そのようなイノベーションは、符号化ビットストリーム又はビットストリーム部分をどのように処理するかを柔軟に決定するビデオ復号化システムの能力を向上させるのに役立ち得る。
【0006】
本発明の前述の目的及び他の目的、特徴、並びに利点が、添付の図面を参照しながら進む以下の詳細な説明からより明らかになるであろう。
【図面の簡単な説明】
【0007】
いくつかの説明する実施形態を実装することができる例示的なコンピューティング・システムの図。
いくつかの説明する実施形態を実装することができる例示的なネットワーク環境の図。
いくつかの説明する実施形態を実装することができる例示的なネットワーク環境の図。
いくつかの説明する実施形態を協働して実装することができる例示的なエンコーダ・システムの図。
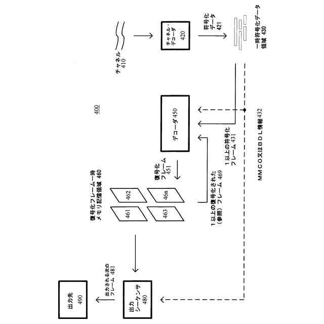
いくつかの説明する実施形態を協働して実装することができる例示的なデコーダ・システムの図。
開示する技術の実施形態に従った、付加拡張情報を使用するための第1の例示的な方法のフローチャート。
開示する技術の実施形態に従った、付加拡張情報を使用するための第1の例示的な方法のフローチャート。
【発明を実施するための形態】
【0008】
詳細な説明は、付加拡張情報(SEI)を有するビットストリームを符号化及び復号化するためのイノベーションを提供する。詳細には、詳細な説明は、ピクチャがプログレッシブ・スキャン・ピクチャ又はインタレース・スキャン・ピクチャであるかを示す、SEIメッセージ内のシンタックス要素又はフラグの正確性における信頼性を示す信頼性レベル・インジケータをピクチャのSEIメッセージが含む実施形態を説明する。いくつかの実施形態において、1以上のシンタックス要素は組み合わされて、1以上の関連ピクチャが、プログレッシブ・スキャンであるか、インタレース・スキャンであるか、あるいは未知のソースのものであるかを明示することができる。所定の実施形態において、SEIメッセージは、関連ピクチャがデータの混合を含むかどうか、及び/又は関連ピクチャが複製ピクチャであるかどうかを示すためのフラグをさらに含む。
【0009】
本明細書で説明するイノベーションのいくつかは、HEVC規格に固有のシンタックス要素及びオペレーションを参照して示される。例えば、HEVC規格の所定のドラフト・バージョン、すなわち、HEVC規格のドラフト・バージョンJCTVC-I1003(2012年7月にストックホルムで開催された第10回会合の"High efficiency video coding (HEVC) text specification draft 8", JCTVC-I1003_d8)、及びHEVC規格のドラフト・バージョンJCTVC-L1003(2013年1月14日~23日にスイスのジュネーブで開催された第12回会合の"High efficiency video coding (HEVC) text specification draft 10", JCTVC-L1003_v34)を参照する。本明細書で説明するイノベーションは、他の規格又はフォーマットのためにも実装され得る。
【0010】
より一般的に、本明細書で説明する例に対する様々な代替例が可能である。例えば、本明細書で説明する方法のいくつかは、説明する方法動作の順番を変えることにより、所定の方法動作を分けることにより、所定の方法動作を繰り返すことにより、又は所定の方法動作を省略することにより、変更することができる。開示する技術の様々な態様が、組み合わせることにより、又は別々に使用され得る。様々な実施形態が、説明するイノベーションのうちの1以上を使用する。本明細書で説明するイノベーションのいくつかは、背景技術において記した問題のうちの1以上に対処する。一般的に、所与の技術/ツールが、そのような問題の全てを解決するわけではない。
(【0011】以降は省略されています)
この特許をJ-PlatPat(特許庁公式サイト)で参照する
関連特許
他の特許を見る