TOP
|
特許
|
意匠
|
商標
特許ウォッチ
Twitter
他の特許を見る
公開番号
2025160109
公報種別
公開特許公報(A)
公開日
2025-10-22
出願番号
2025033942
出願日
2025-03-04
発明の名称
層状基板、層状基板の製造方法および層状基板を備えたエピタキシャル層の成長方法
出願人
サイクリスタル ゲーエムベーハー
代理人
個人
,
個人
,
個人
主分類
C30B
29/06 20060101AFI20251015BHJP(結晶成長)
要約
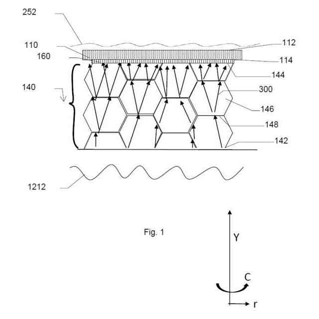
【課題】 層状基板、層状基板の製造方法および層状基板を備えたエピタキシャル層の成長方法を提供する。
【解決手段】 本開示は、反応器内で成長方向(Y)にエピタキシャル層を成長させるための層状基板に関する。層状基板は、エピタキシャル層を成長させるための成長面(112)と、ヒートスプレッダ基板(140)に成長層(110)を結合させるための対向するヒートスプレッダ対向面(114)とを備えた単結晶成長層(110)を含む。層状基板は、ヒートスプレッダ基板(140)を更に含み、ヒートスプレッダ対向面(114)およびヒートスプレッダ基板(140)を反応器に取り付けるための対向する取付面(142)に結合するための成長層対向面(144)を有し、ヒートスプレッダ基板(140)は、成長方向(Y)に堆積された熱的に結合された結晶粒(146)を有する多結晶材料を含み、堆積された結晶粒(146)は、取付面(142)に熱的に結合された反応のホットスポットを均等化する。
【選択図】 図1
特許請求の範囲
【請求項1】
反応器内で成長する方向にエピタキシャル層を成長させるための層状基板であって、前記層状基板は、
前記エピタキシャル層を成長させるための成長面と、前記成長層をヒートスプレッダ基板に結合させるための対向するヒートスプレッダ対向面とを有する単結晶成長層と、
前記ヒートスプレッダ基板は、前記ヒートスプレッダ対向面に結合する成長層対向面と、前記ヒートスプレッダ基板を前記反応器に取り付ける対向する取付面と
を有し、
前記ヒートスプレッダ基板は、前記成長方向に堆積された熱的に結合された結晶粒を有する多結晶材料を含み、前記堆積された結晶粒は、前記取付面に熱的に結合された前記反応器のホットスポットを均等化する
ことを特徴とする基板。
続きを表示(約 1,800 文字)
【請求項2】
前記単結晶成長層が、10μm以上および/または100μm以下の前記成長方向の厚さ、および/または、前記ヒートスプレッダ基板が、250μm以上および/または500μm以下の前記成長方向の厚さを有し、
任意選択的に、前記層状基板は、150mm以上、好ましくは200mmおよび/または300mm以下の半径寸法の直径を有し、前記半径寸法は、前記成長方向に垂直である、請求項1に記載の基板。
【請求項3】
メジアン粒径D50が、3μm以上および/または80μm以下であり、好ましくは、D50が、3μm以上および/または50μm以下であり、
任意選択的に、前記成長方向に前記ヒートスプレッダ基板に堆積される結晶粒の数が、3以上および/または163以下であり、好ましくは、5以上および/または163以下である、請求項1に記載の基板。
【請求項4】
前記単結晶成長層が、第1の材料を含み、前記第1の材料は、Si、SiC、AlN、GaN、AlGaN、AlInN、およびInNのうちの少なくとも1つであり、および/または、前記ヒートスプレッダ基板の前記結晶粒は、第2の材料を含み、前記第2の材料は、少なくとも1つのSi、SiC、AlN、GaN、Al2O3、GaAs、および酸化物基板であり、
任意選択的に、前記第2の材料は、前記第1の材料と同一であり、前記第1の材料は、Si、SiC、AlN、およびGaNのうちの少なくとも1つであるか、または前記第1の材料は、前記第2の材料とは異なり、
任意選択的に、単結晶成長層は前記第1の材料からなる、請求項1に記載の基板。
【請求項5】
前記ヒートスプレッダ基板が、第3の材料を含み、前記第3の材料は金属であり、好ましくは、前記第3の材料は、Ti、Fe、W、Mo、およびVのうちの少なくとも1つである、請求項1に記載の基板。
【請求項6】
前記ヒートスプレッダ基板の前記結晶粒が、第2の材料を含み、前記ヒートスプレッダ基板が第3の材料を含み、前記第3の材料は前記第2の材料よりも高い質量を有し、
任意選択的に、前記ヒートスプレッダ層が、前記第3の材料を、隣接する結晶粒間の結晶粒界に含んでおり、
任意選択的に、前記第2材料は、Si、SiC、AlN、GaN、Al2O3、GaAsおよび酸化物基板のうちの少なくとも1つであり、
任意選択的に、前記第3の材料は金属であり、好ましくは、前記第3の材料は、Ti、Fe、W、Mo、およびVのうちの少なくとも1つである、請求項1に記載の基板。
【請求項7】
前記ヒートスプレッダ基板が、不純物の濃度を含み、前記濃度は、5ppm以上および/または100ppm以下であり、
任意選択的に、前記不純物が、金属である第3の材料を含み、好ましくは、前記第3の材料は、Ti、Fe、W、Mo、およびVのうちの少なくとも1つであり、結晶粒界において凝集する、請求項1に記載の基板。
【請求項8】
前記単結晶成長層の結晶軸と前記成長面の表面法線とのなす角度が、0°以上および/または8°以下であり、好ましくは前記角度が2°以上および/または6°以下である、請求項1に記載の基板。
【請求項9】
前記成長面がシリコン面、Si面を含み、好ましくは前記成長面がSi面である、請求項1に記載の基板。
【請求項10】
反応器内で成長方向にエピタキシャル層を成長させるための層状基板を製造するための方法であって、前記方法は、
前記エピタキシャル層を成長させるための成長面と、前記成長層をヒートスプレッダ基板に結合させるための対向するヒートスプレッダ対向面とを有する単結晶成長層を提供するステップと、
前記ヒートスプレッダ対向面に結合するための成長層対向面と、前記ヒートスプレッダを前記反応器に取り付けるための対向する取付面と有する前記ヒートスプレッダ基板を提供するステップとを含み、
前記ヒートスプレッダ基板は、前記成長方向に堆積された熱的に結合した結晶粒を有する多結晶材料を含み、前記堆積された結晶粒は、前記取付面に熱的に結合された前記反応器のホットスポットを均等化し、
前記成長層対向面を前記ヒートスプレッダ対向面に接続する、方法。
(【請求項11】以降は省略されています)
発明の詳細な説明
【技術分野】
【0001】
本発明は、層状基板、層状基板の製造方法および層状基板を備えたエピタキシャル層のための方法に関する。
続きを表示(約 1,500 文字)
【背景技術】
【0002】
炭化ケイ素(SiC)のような半導体材料は、電子部品の製造において一般的に使用されている。SiCは、例えば自動車およびグリーンエネルギー分野におけるパワーエレクトロニクス部品の基礎を形成する化合物半導体である。
【0003】
適切なソース材料を使用して、体積単結晶は、通常、物理蒸着(PVT)プロセスとして昇華成長によって成長される。次に、基板は、例えばマルチワイヤソーを使用して、成長した体積単結晶から加工され、次いで、表面は、多段研磨ステップを使用して精密化される。次のエピタキシャルプロセスでは、基板上に薄い単結晶層(例えばSiC、GaN)が堆積される。これらの層およびそれらから製造されたデバイスの特性は、SiC基板の品質に決定的に依存する。
【0004】
単結晶成長の基本原理は、出発物質の昇華と、それに続く気相中の種(SiC、Si2C、SiC2)の、物質が堆積され、体積単結晶が成長するシードへの輸送に基づく。シードの品質は、成長する結晶中の低い欠陥密度を確保するために極めて重要である。次いで、バルク単結晶から基板を製造する。電気部品の生産のための高品質基板に対する需要の増加のために、エピタキシャル成長プロセスのための高品質基板の使用は、可能な限り最高品質の結晶を成長させるために必須である。
【0005】
反応器における化学気相成長(CVD)プロセスのようなエピタキシャルプロセスを用いたエピタキシャル層の成長には、いくつかの因子が影響する。以下で論じる要因は、CVDプロセスに関して特に重要なものである。しかしながら、当業者であれば、エピタキシャルプロセスが同一または類似の制限を有し得ることを認識しているであろう。前記エピタキシャルプロセスは、VPEの一般的なタイプが有機金属気相エピタキシャル成長(MOVPE)およびCVDプロセス、分子ビームエピタキシャル成長(MBE)、液相エピタキシャル成長(LPE)、水素化物気相成長(HVPE)を含む気相エピタキシャル成長(VPE)プロセスであってもよい。
【0006】
特に本願では、CVDプロセスのようなプロセス内の温度分布は、エピタキシャル層の堆積を制御するために重要である。基板の温度分布は、蒸気輸送と蒸着の速度を決定する。基板の温度プロファイルを最適化することは、エピタキシャル層の均一な堆積を達成し、欠陥を最小化するのに役立つ。
【0007】
例えば、CVDプロセスに大きな影響を与えるその他の効果には、次のものがある。
・前駆体ガスの流量と組成;
・エピタキシャル成長前の基板表面の品質;
・エピタキシャル層の成長速度がその結晶品質と均一性に与える影響;
・圧力、ガス流速、基板温度、蒸着速度などの様々なプロセスパラメータの制御;
・エピタキシャル成長後に行うアニール処理。
【0008】
上記の考察を考慮して、欧州特許第4,074,870号明細書は、高品質のエピタキシャル層の成長を可能にする非対称基板を提案している。しかしながら、この解決法は基板温度の変動を補償するものではない。
【先行技術文献】
【特許文献】
【0009】
欧州特許第4,074,870号明細書
【発明の概要】
【発明が解決しようとする課題】
【0010】
本発明は、従来技術の欠点及び欠点を鑑みてなされたものであり、関連する従来技術の上記欠点及び欠点を無くし又は少なくとも緩和する反応器への改良された基板結合を提供することを目的とする。
(【0011】以降は省略されています)
この特許をJ-PlatPat(特許庁公式サイト)で参照する
関連特許
他の特許を見る