TOP
|
特許
|
意匠
|
商標
特許ウォッチ
Twitter
他の特許を見る
公開番号
2025160096
公報種別
公開特許公報(A)
公開日
2025-10-22
出願番号
2024213872
出願日
2024-12-06
発明の名称
化粧シート及び化粧材
出願人
TOPPANホールディングス株式会社
代理人
個人
,
個人
主分類
B32B
27/00 20060101AFI20251015BHJP(積層体)
要約
【課題】表面に深い凹部が形成されていても、耐候性の低下を抑制することができる化粧シート及び化粧材を提供する。
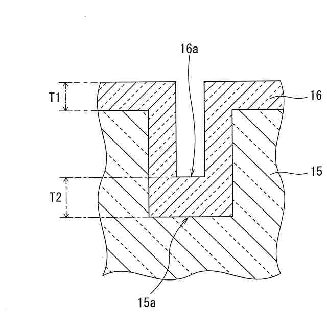
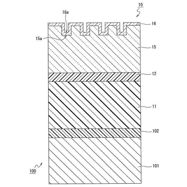
【解決手段】絵柄層12と、透明樹脂層15と、表面保護層16とがこの順に積層され、表面保護層16及び透明樹脂層15に複数の凹部15a,16aが形成された化粧シート10であって、表側の表面粗さが40μm以上200μm以下であり、隣り合う凹部16aの間の表面保護層16の厚さT1に対する表面保護層16の凹部16aの底部での厚さT2の割合(T2/T1)が1.2以上2.0以下であることを特徴とする。
【選択図】図2
特許請求の範囲
【請求項1】
絵柄層と、透明樹脂層と、表面保護層とがこの順に積層され、前記表面保護層及び前記透明樹脂層に複数の凹部が形成された化粧シートであって、
表側の表面粗さが40μm以上200μm以下であり、
隣り合う前記凹部の間の前記表面保護層の厚さ(T1)に対する前記表面保護層の前記凹部の底部での厚さ(T2)の割合(T2/T1)が1.2以上2.0以下である
ことを特徴とする化粧シート。
続きを表示(約 720 文字)
【請求項2】
前記透明樹脂層は、厚さが50μm以上150μm以下である
ことを特徴とする請求項1に記載の化粧シート。
【請求項3】
前記表面保護層は、前記厚さ(T1)が1μm以上20μm以下である
ことを特徴とする請求項1に記載の化粧シート。
【請求項4】
総厚が100μm以上300μm以下である
ことを特徴とする請求項1に記載の化粧シート。
【請求項5】
前記表面保護層及び前記透明樹脂層は、紫外線吸収剤及び光安定剤の少なくとも一方を含有している
ことを特徴とする請求項1に記載の化粧シート。
【請求項6】
前記表面保護層は、前記凹部に無機顔料を含有している
ことを特徴とする請求項1に記載の化粧シート。
【請求項7】
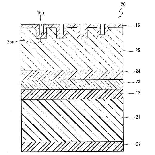
着色樹脂層と、前記絵柄層と、前記透明樹脂層と、前記表面保護層とがこの順に積層され、
前記着色樹脂層は、塩化ビニル樹脂を含み、
前記透明樹脂層は、塩化ビニル樹脂及びアクリル樹脂の少なくとも一方を含む
ことを特徴とする請求項1に記載の化粧シート。
【請求項8】
着色樹脂層と、前記絵柄層と、前記透明樹脂層と、前記表面保護層とがこの順に積層され、
前記着色樹脂層及び前記透明樹脂層は、オレフィン樹脂を含む
ことを特徴とする請求項1に記載の化粧シート。
【請求項9】
請求項1から8のいずれか一項に記載の化粧シートと、前記化粧シートの前記表面保護層と反対側に積層された基板とを備えている
ことを特徴とする化粧材。
発明の詳細な説明
【技術分野】
【0001】
本発明は、住宅等の建築物の壁材等の内装材や、家具等の外装材や、自動車等の車両の内装等に利用される化粧シート及び化粧材に関する。
続きを表示(約 1,100 文字)
【背景技術】
【0002】
住宅等の建築物の壁材等の内装材や、家具等の外装材や、自動車等の車両の内装等に利用される化粧シートにおいて、表面に凹凸形状のエンボスを形成すると、手触り感を生じさせることができると共に、視覚的に陰影を付与することができる。そのため、例えば、木目導管柄に凹凸形状の大きいエンボスを形成すると、ゴツゴツした樹木の表面状態を触覚的にも視覚的にもリアルに表現することができるので、高級感のある意匠性の高い化粧シートとすることができる。
【先行技術文献】
【特許文献】
【0003】
特開2018-149732号公報
特開2021-167513号公報
【発明の概要】
【発明が解決しようとする課題】
【0004】
しかしながら、化粧シートの表面に凹凸形状の大きいエンボスを形成してしまうと、凹部部分の厚さが薄くなってしまい、耐候性の低下を引き起こし易くなってしまっていた。
【0005】
このようなことから、表面に深い凹部が形成されていても、耐候性の低下を抑制することができる化粧シート及び化粧材を提供することを目的とする。
【課題を解決するための手段】
【0006】
前述した課題を解決するための、本発明に係る化粧シートは、絵柄層と、透明樹脂層と、表面保護層とがこの順に積層され、前記表面保護層及び前記透明樹脂層に複数の凹部が形成された化粧シートであって、表側の表面粗さが40μm以上200μm以下であり、隣り合う前記凹部の間の前記表面保護層の厚さ(T1)に対する前記表面保護層の前記凹部の底部での厚さ(T2)の割合(T2/T1)が1.2以上2.0以下であることを特徴とする。
【0007】
また、本発明に係る化粧シートは、上述した化粧シートにおいて、前記透明樹脂層の厚さが50μm以上150μm以下であると、好ましい。
【0008】
また、本発明に係る化粧シートは、上述した化粧シートにおいて、前記表面保護層の前記厚さ(T1)が1μm以上20μm以下であると、好ましい。
【0009】
また、本発明に係る化粧シートは、上述した化粧シートにおいて、総厚が100μm以上300μm以下であると、好ましい。
【0010】
また、本発明に係る化粧シートは、上述した化粧シートにおいて、前記表面保護層及び前記透明樹脂層が、紫外線吸収剤及び光安定剤の少なくとも一方を含有していると、好ましい。
(【0011】以降は省略されています)
この特許をJ-PlatPat(特許庁公式サイト)で参照する
関連特許
他の特許を見る