TOP
|
特許
|
意匠
|
商標
特許ウォッチ
Twitter
他の特許を見る
公開番号
2025160093
公報種別
公開特許公報(A)
公開日
2025-10-22
出願番号
2024198633
出願日
2024-11-13
発明の名称
空調空間生成システム
出願人
パナソニックIPマネジメント株式会社
代理人
個人
,
個人
主分類
F24F
13/02 20060101AFI20251015BHJP(加熱;レンジ;換気)
要約
【課題】風の影響を受ける環境においても空調空間を生成できる空調空間生成システムを提供する。
【解決手段】筐体100と、空調機60と、第1側壁40と、第2側壁50と、壁面30と、内天井20と、外天井10と、を有する空調空間生成システム1であって、先部11、第1前部43、および第2前部53は、先端部21aよりも前方に位置し、空調機60が冷房運転を実行する場合、上側開口108は、上昇するように空気を出し、内天井20は、上昇した空気を前方に向かわせ、前面開口106は、内天井20により前方に向かって下降した空気を吸い込む。空調機60が暖房運転を実行する場合、前面開口106は空気を前方に出し、内天井20は、前面開口106から前方に出された後、壁面30側に向かって上昇した空気を下降させ、上側開口108は、内天井20により下降される空気を吸い込む。
【選択図】図2
特許請求の範囲
【請求項1】
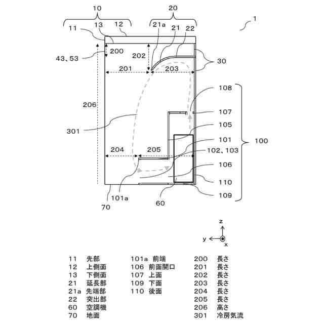
筐体と、空調機と、第1側壁と、第2側壁と、壁面と、内天井と、外天井と、を有する空調空間生成システムであって、
前記筐体は、前記第1側壁と前記第2側壁との間に設けられ、前面、上面、後面、および下面を含み、
前記前面は、前面開口を有し、
前記筐体は、前記前面開口よりも上方に上側開口を有し、
前記空調機は、前記筐体の中に設けられ、冷房運転を実行し、
前記壁面は、前記後面と接続され、
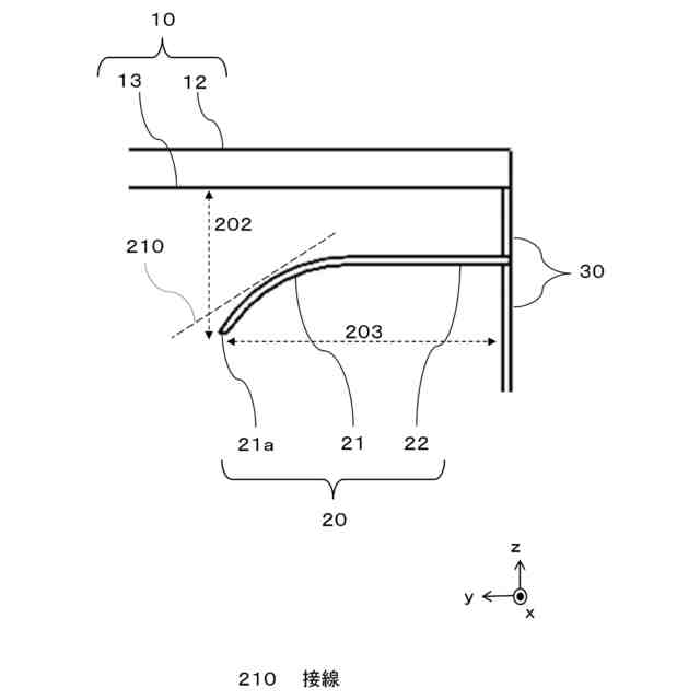
前記内天井は、突出部および延長部を含み、
前記突出部は、前記壁面から前方に突出し、
前記延長部は、前記突出部と接続され、
前記外天井は、前記内天井よりも上方に設けられ、前記壁面と接続され、
前記外天井の最も前方における部分を先部とし、
第1側壁の最も前方における部分を第1前部とし、
第2側壁の最も前方における部分を第2前部とし、
前記延長部の最も先端における部分を先端部とすると、
前記先部、前記第1前部、および前記第2前部は、前記先端部よりも前方に位置し、
前記空調機が冷房運転を実行する場合、
前記上側開口は、上昇するように空気を出し、
前記内天井は、前記上側開口から上昇した空気を前方に向かわせ、
前記前面開口は、前記内天井により前方に向かって下降した空気を吸い込む空調空間生成システム。
続きを表示(約 1,300 文字)
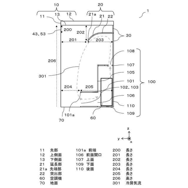
【請求項2】
筐体と、空調機と、第1側壁と、第2側壁と、壁面と、内天井と、外天井と、を有する空調空間生成システムであって、
前記筐体は、前記第1側壁と前記第2側壁との間に設けられ、前面、上面、後面、および下面を含み、
前記前面は、前面開口を有し、
前記筐体は、前記前面開口よりも上方に上側開口を有し、
前記空調機は、前記筐体の中に設けられ、暖房運転を実行し、
前記壁面は、前記後面と接続され、
前記内天井は、突出部および延長部を含み、
前記突出部は、前記壁面から前方に突出し、
前記延長部は、前記突出部と接続され、
前記外天井は、前記内天井よりも上方に設けられ、前記壁面と接続され、
前記外天井の最も前方における部分を先部とし、
第1側壁の最も前方における部分を第1前部とし、
第2側壁の最も前方における部分を第2前部とし、
前記延長部の最も先端における部分を先端部とすると、
前記先部、前記第1前部、および前記第2前部は、前記先端部よりも前方に位置し、
前記空調機が暖房運転を実行する場合、
前記前面開口は空気を前方に出し、
前記内天井は、前記前面開口から前方に出された後、前記壁面側に向かって上昇した空気を下降させ、
前記上側開口は、前記内天井により下降される空気を吸い込む空調空間生成システム。
【請求項3】
前記延長部は、下向きに設けられる請求項1または2に記載の空調空間生成システム。
【請求項4】
前記第1側壁から前記第2側壁へ向かう方向と垂直な断面において、前記延長部における接線方向は、前方に向かうにつれて下を向く角度が増加するように傾斜している請求項3に記載の空調空間生成システム。
【請求項5】
前記第1側壁から前記第2側壁へ向かう方向と垂直な断面において、前記延長部における接線方向は、前記先端部近傍において、鉛直方向と概ね平行であるか、或いは、下方に行くほど内方に狭まるように傾斜している請求項3に記載の空調空間生成システム。
【請求項6】
高さ方向において、前記先端部と前記先部の下側面との間の長さは、前記突出部と前記先部の前記下側面との間の長さの1.2倍以上である請求項3に記載の空調空間生成システム。
【請求項7】
前方方向において、前記先端部から前記先部までの長さは、前記壁面から前記先端部までの長さよりも長い請求項1または2に記載の空調空間生成システム。
【請求項8】
前記筐体は、座板を含み、
前記座板は、前記前面と接続され、
前記前面開口は、前記座板の下方に位置し、
前記座板の最も前方における部分を前端とすると、
前記前端は、前記先端部よりも前方に位置する請求項1または2に記載の空調空間生成システム。
【請求項9】
前記前面は、前記先端部よりも後方に位置する請求項8に記載の空調空間生成システム。
【請求項10】
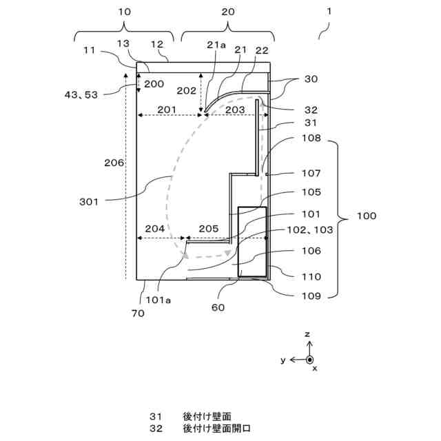
前記延長部と前記外天井とを接続する接続板を有する請求項3に記載の空調空間生成システム。
発明の詳細な説明
【技術分野】
【0001】
本開示は、空調空間生成システムに関する。
続きを表示(約 2,000 文字)
【背景技術】
【0002】
工場内の各作業領域を効率的に冷暖房するために、各作業領域に室内機と人感センサを設け、人感センサにより人の存在が検知されると検知順に室内機を運転させる(例えば、特許文献1)。
【先行技術文献】
【特許文献】
【0003】
特開2008-175507号公報
【発明の概要】
【発明が解決しようとする課題】
【0004】
駅の利用者の快適性を向上するために、プラットフォームに設置される椅子の近傍を空調することが望まれる。例えば、椅子を囲むような待合室を設置し、待合室内が空調される。しかしながら、プラットフォームのサイズに比較して待合室のサイズが大きい場合、待合室の設置が困難である。また、プラットフォームのような屋外の環境では風の影響を受ける。
【0005】
そこで本開示は、上記従来の課題から着想を得たものであり、風の影響を受ける屋外の環境あるいは屋内のオープン空間などにおいて空調空間を生成する空調空間生成システムを提供することを目的とする。
【課題を解決するための手段】
【0006】
そして、この目的を達成するために、本開示の一態様に係る空調空間生成システムは、筐体と、空調機と、第1側壁と、第2側壁と、壁面と、内天井と、外天井と、を有する空調空間生成システムであって、筐体は、第1側壁と第2側壁との間に設けられ、前面、上面、後面、および下面を含み、前面は、前面開口を有し、筐体は、前面開口よりも上方に上側開口を有し、空調機は、筐体の中に設けられ、冷房運転を実行し、壁面は、後面と接続され、内天井は、突出部および延長部を含み、突出部は、壁面から前方に突出し、延長部は、突出部と接続され、外天井は、内天井よりも上方に設けられ、壁面と接続され、外天井の最も前方における部分を先部とし、第1側壁の最も前方における部分を第1前部とし、第2側壁の最も前方における部分を第2前部とし、延長部の最も先端における部分を先端部とすると、先部、第1前部、および第2前部は、先端部よりも前方に位置し、空調機が冷房運転を実行する場合、上側開口は、上昇するように空気を出し、内天井は、上側開口から上昇した空気を前方に向かわせ、前面開口は、内天井により前方に向かって下降した空気を吸い込む。
【0007】
また、本開示の別の態様に係る空調空間生成システムは、筐体と、空調機と、第1側壁と、第2側壁と、壁面と、内天井と、外天井と、を有する空調空間生成システムであって、筐体は、第1側壁と第2側壁との間に設けられ、前面、上面、後面、および下面を含み、前面は、前面開口を有し、筐体は、前面開口よりも上方に上側開口を有し、空調機は、筐体の中に設けられ、暖房運転を実行し、壁面は、後面と接続され、内天井は、突出部および延長部を含み、突出部は、壁面から前方に突出し、延長部は、突出部と接続され、外天井は、内天井よりも上方に設けられ、壁面と接続され、外天井の最も前方における部分を先部とし、第1側壁の最も前方における部分を第1前部とし、第2側壁の最も前方にお
ける部分を第2前部とし、延長部の最も先端における部分を先端部とすると、先部、第1前部、および第2前部は、先端部よりも前方に位置し、空調機が暖房運転を実行する場合、前面開口は空気を前方に出し、内天井は、前面開口から前方に出された後、壁面側に向かって上昇した空気を下降させ、上側開口は、内天井により下降される空気を吸い込む。
【発明の効果】
【0008】
本開示によれば、風の影響を受ける環境においても空調空間を生成できる。
【図面の簡単な説明】
【0009】
本実施例1に係る空調空間生成システムを示す斜視図
同空調空間生成システムの冷房運転時の構成を示す断面図
同空調空間生成システムの暖房運転時の構成を示す断面図
同空調空間生成システムの内天井部分を拡大した断面図
同空調空間生成システムの冷房運転時の温度分布のシミュレーション結果を示す断面図
本実施例2に係る空調空間生成システムの冷房運転時の構成を示す断面図
同空調空間生成システムの暖房運転時の構成を示す断面図
本実施例3に係る空調空間生成システムの構成を示す断面斜視図
【発明を実施するための形態】
【0010】
以下、本開示の実施例について図面を参照しながら説明する。なお、以下の実施の形態は、本発明を具体化した一例であって、本発明の技術的範囲を限定するものではない。また、実施形態において説明する各図は、模式的な図であり、各図中の各構成要素の大きさ及び厚さそれぞれの比が、必ずしも実際の寸法比を反映しているとは限らない。
(【0011】以降は省略されています)
この特許をJ-PlatPat(特許庁公式サイト)で参照する
関連特許
他の特許を見る