TOP
|
特許
|
意匠
|
商標
特許ウォッチ
Twitter
他の特許を見る
10個以上の画像は省略されています。
公開番号
2025160050
公報種別
公開特許公報(A)
公開日
2025-10-22
出願番号
2024063024
出願日
2024-04-09
発明の名称
搬送装置
出願人
伊東電機株式会社
代理人
個人
主分類
B65G
43/08 20060101AFI20251015BHJP(運搬;包装;貯蔵;薄板状または線条材料の取扱い)
要約
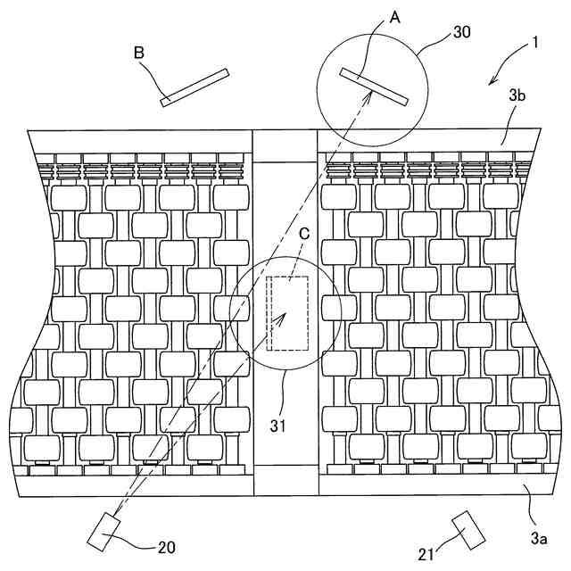
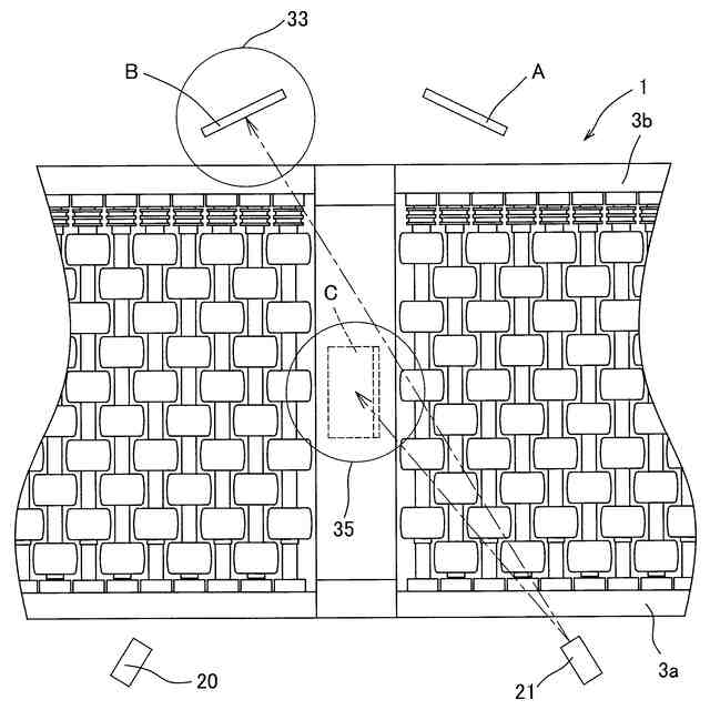
【課題】搬送物に付された情報をより確実に読み取ることができる搬送装置を提供する。
【解決手段】搬送物を搬送する搬送手段2と、光学的に情報を読み取るセンサー20、21と、一又は複数の鏡A、Bを有し、搬送手段2によって、いずれかの面に情報が付された搬送物が搬送され、センサーのいずれかは、搬送物に付された情報を直接的に読み取ることが可能であり、且つ、鏡A、Bに映った前記情報を間接的に読みとることも可能である。
【選択図】図1
特許請求の範囲
【請求項1】
搬送物を搬送する搬送手段と、光学的に情報を読み取るセンサーと、一又は複数の鏡を有し、
前記搬送手段によって、いずれかの面に情報が付された搬送物が搬送され、
前記センサーのいずれかは、前記搬送物に付された情報を直接的に読み取ることが可能であり、且つ、鏡に映った前記情報を間接的に読みとることも可能であることを特徴とする搬送装置。
続きを表示(約 1,200 文字)
【請求項2】
搬送物を搬送する搬送手段と、光学的に情報を読み取るセンサーと、一又は複数の鏡を有し、
前記搬送手段によって、いずれかの面に情報が付された搬送物が搬送され、鏡に映った前記情報を前記センサーで間接的に読みとることが可能であることを特徴とする搬送装置。
【請求項3】
鏡は、その法線が、搬送手段の搬送方向に対して傾斜していることを特徴とする請求項1に記載の搬送装置。
【請求項4】
鏡は、搬送物の複数の面を映すことが可能であることを特徴とする請求項1に記載の搬送装置。
【請求項5】
特定のセンサーと特定の鏡が対となっており、特定の鏡に映った前記情報を特定のセンサーで読み取ることが可能であることを特徴とする請求項1に記載の搬送装置。
【請求項6】
複数の鏡に映った情報を一つのセンサーで読みとることが可能であることを特徴とする請求項1に記載の搬送装置。
【請求項7】
搬送物が搬送手段によって歪みのない姿勢で搬送されたと仮定し、搬送物の搬送方向に向く面を正面、その反対側の面を背面と定義し、搬送物の搬送方向に対して右側の側面を右側面、搬送方向に対して左側の側面を左側面と定義したとき、
一つ又は複数の鏡Aによって、搬送物の背面に付された情報と、右側面又は左側面のいずれか一方の側面に付された情報を映すことが可能であって、特定のセンサーaは、前記鏡Aに映った搬送物の背面に付された情報と、前記一方の側面に付された情報を間接的に読み取ることが可能であり、且つ前記特定のセンサーaは、搬送物の正面に付された情報と、他方の側面に付された情報を直接的に読み取ることが可能であること特徴とする請求項1に記載の搬送装置。
【請求項8】
搬送物が搬送手段によって歪みのない姿勢で搬送されたと仮定し、搬送物の搬送方向に向く面を正面、その反対側の面を背面と定義し、搬送物の搬送方向に対して右側の側面を右側面、搬送方向に対して左側の側面を左側面と定義したとき、
一つ又は複数の鏡Bによって、搬送物の正面に付された情報と、右側面又は左側面のいずれか一方の側面に付された情報を映すことが可能であって、特定のセンサーbは、前記鏡Bに映った搬送物の正面に付された情報と、前記一方の側面に付された情報を間接的に読み取ることが可能であり、且つ前記特定のセンサーbは、搬送物の背面に付された情報と、他方の側面に付された情報を直接的に読み取ることが可能であること特徴とする請求項1に記載の搬送装置。
【請求項9】
搬送装置の天面に付された情報を読みとる天面センサーを有することを特徴とする請求項1に記載の搬送装置。
【請求項10】
前記搬送手段は搬送面に隙間があり、搬送面の下に搬送物の底面に付された情報を読みとる底面センサーが設けられていることを特徴とする請求項1に記載の搬送装置。
(【請求項11】以降は省略されています)
発明の詳細な説明
【技術分野】
【0001】
本発明は、搬送装置に関するものであり、特に、搬送物に付された情報を読み取る機能を備えた搬送装置に関するものである。
続きを表示(約 1,700 文字)
【背景技術】
【0002】
配送場や集荷場、倉庫等には、コンベヤ装置が設置される場合が多い。例えば配送場では、搬送物を配送先ごとに仕分ける必要がある。そのためか配送場に設置されるコンベヤ装置は、複数の配送目的場所を有している場合が多い。例えば配送場に設置されたコンベヤ装置では、特定の配送目的場所に搬送物を搬送する必要がある。
そのため搬送物には、例えば搬送物や行き先を特定する情報が付されている。またコンベヤ装置には、特定の場所に情報読み取りエリアがある。そして当該情報読み取りエリアに情報を読み取るセンサーが設けられ、当該センサーで搬送物に付された情報を読み取り、所定の場所に搬送物を搬送する。
搬送物に付された情報は、例えばバーコードや二次元コード等である。また情報は、文字や図形であることもある。
【先行技術文献】
【特許文献】
【0003】
特開2023-112196号公報
【発明の概要】
【発明が解決しようとする課題】
【0004】
配送場等で取り扱われる搬送物の種類は多岐にわたる。即ち、配送場等で取り扱われる搬送物は、大きさや形状がまちまちである。またバーコード等が付された位置もまちまちである。そのためコンベヤ装置に搬送物を載せる際に、バーコードがセンサーに対向する様に搬送物の向きをそろえる必要がある。仮にバーコードの位置がセンサーに対向する面に向いていなければ、センサーでバーコードを読み取ることができない。
また搬送物は移動中に姿勢が変わることがある。そのためコンベヤ装置に搬送物を載せる際にバーコードがセンサーに対向する様に搬送物を置いても、搬送中に搬送物の姿勢が変ってしまい、読み取りミスが発生する場合がある。
本発明は、従来技術の上記した問題点に注目し、搬送物に付された情報をより確実に読み取ることができる搬送装置を提供することを課題とするものである。
【課題を解決するための手段】
【0005】
上記した課題を解決するための態様は、搬送物を搬送する搬送手段と、光学的に情報を読み取るセンサーと、一又は複数の鏡を有し、前記搬送手段によって、いずれかの面に情報が付された搬送物が搬送され、前記センサーのいずれかは、前記搬送物に付された情報を直接的に読み取ることが可能であり、且つ、鏡に映った前記情報を間接的に読みとることも可能であることを特徴とする搬送装置である。
【0006】
「情報」は例えばバーコードや二次元コードである。また文字や図形も情報になり得る。センサーは、例えばバーコードリーダーや二次元コードリーダである。カメラをセンサーとして活用し、文字や記号を読み取ってもよい。
本態様の搬送装置は、搬送物に付された情報をセンサーで直接的に読み取ることが可能である。また本態様の搬送装置では、情報を鏡に映し、その映像をセンサーで読み取ることによって、情報を間接的に読み取ることもできる。
そのため、本態様の搬送装置では、センサーで情報を読み取ることができる範囲が広く、読み取りミスが少ない。また本態様によると、センサーの数が少なくて足りる。
【0007】
同様の課題を解決するためのもう一つの態様は、搬送物を搬送する搬送手段と、光学的に情報を読み取るセンサーと、一又は複数の鏡を有し、前記搬送手段によって、いずれかの面に情報が付された搬送物が搬送され、鏡に映った前記情報を前記センサーで間接的に読みとることが可能であることを特徴とする搬送装置である。
【0008】
本態様の搬送装置では、センサーで情報を読み取ることができる範囲が広く、読み取りミスが少ない。また本態様によると、センサーの数が少なくて足りる。
【0009】
上記した各態様において、鏡は、その法線が、搬送手段の搬送方向に対して傾斜していることが望ましい。
【0010】
本態様によると、搬送物の複数の面を映すことができる。
(【0011】以降は省略されています)
この特許をJ-PlatPat(特許庁公式サイト)で参照する
関連特許
伊東電機株式会社
搬送装置
2日前
伊東電機株式会社
搬送装置
14日前
伊東電機株式会社
搬送装置
1か月前
伊東電機株式会社
コンベヤ装置
8日前
伊東電機株式会社
コンベヤ支持部材及びコンベヤ装置
14日前
個人
収容箱
3か月前
個人
コンベア
5か月前
個人
段ボール箱
7か月前
個人
段ボール箱
6か月前
個人
容器
9か月前
個人
ゴミ収集器
6か月前
個人
宅配システム
6か月前
個人
角筒状構造体
5か月前
個人
バンド
2か月前
個人
楽ちんハンド
4か月前
個人
土嚢運搬器具
8か月前
個人
廃棄物収容容器
2か月前
個人
包装容器
1か月前
個人
お薬の締結装置
5か月前
個人
閉塞装置
10か月前
個人
コード類収納具
8か月前
株式会社バンダイ
物品
16日前
個人
蓋閉止構造
3か月前
個人
貯蔵サイロ
7か月前
株式会社和気
包装用箱
8か月前
個人
積み重ね用補助具
2か月前
個人
把手付米袋
4か月前
個人
蓋閉止構造
3か月前
株式会社コロナ
梱包材
5か月前
個人
ゴミ処理機
9か月前
三甲株式会社
容器
5か月前
個人
コード折り畳み器具
4か月前
個人
輸送積荷用動吸振器
6か月前
三甲株式会社
蓋体
7か月前
株式会社新弘
容器
2か月前
三甲株式会社
容器
5か月前
続きを見る
他の特許を見る