TOP
|
特許
|
意匠
|
商標
特許ウォッチ
Twitter
他の特許を見る
公開番号
2025160036
公報種別
公開特許公報(A)
公開日
2025-10-22
出願番号
2024062994
出願日
2024-04-09
発明の名称
電池の検査方法
出願人
トヨタ自動車株式会社
代理人
弁理士法人太陽国際特許事務所
主分類
H01M
10/04 20060101AFI20251015BHJP(基本的電気素子)
要約
【課題】簡易な手法で実施できる新規な電池の検査方法を提供する。
【解決手段】電池の注液口を封止している封止フィルムの上に、加圧による変形を視認可能な物体を含む内圧検査シートを配置する工程と、前記電池の周囲の圧力を低下させる工程と、圧力を低下させた後の前記物体の変形の度合いに基づいて前記電池の内圧の状態を判断する工程と、を有する電池の検査方法。
【選択図】図1
特許請求の範囲
【請求項1】
電池の注液口を封止している封止フィルムの上に、加圧による変形を視認可能な物体を含む内圧検査シートを配置する工程と、
前記電池の周囲の圧力を低下させる工程と、
圧力を低下させた後の前記物体の変形の度合いに基づいて前記電池の内圧の状態を判断する工程と、を有する電池の検査方法。
発明の詳細な説明
【技術分野】
【0001】
本開示は、電池の検査方法に関する。
続きを表示(約 1,800 文字)
【背景技術】
【0002】
電池の製造方法の一例として、電池セルを収容したケースの開口部から電解液を注入し、注入完了後に開口部を封止する方法がある。この方法により製造される電池の品質を担保する観点から、注入完了後の封止が良好にされているかの検査が実施されている。
例えば、特許文献1には、密閉型電池の漏洩検査のために電池の内部にヘリウムを充填し、電池から漏洩するヘリウムの濃度をヘリウム漏洩検出装置で検出する方法が記載されている。
【先行技術文献】
【特許文献】
【0003】
特開2002-117901号公報
【発明の概要】
【発明が解決しようとする課題】
【0004】
現在製造されている電池の中には、電解液の注液口を樹脂製の封止フィルムで封止するものがある。ヘリウムは樹脂を透過するため、電解液の注液口が樹脂製の封止フィルムで封止された電池にはヘリウムを用いた検査を適用できない。さらに、特許文献1に記載された方法はヘリウム漏洩を検出するための装置を必要とするため、検査コストの低減が課題である。このため、より簡易な手法で電池の状態を検査できることが望ましい。
本開示の一実施形態は、簡易な手法で実施できる新規な電池の検査方法を提供することを課題とする。
【課題を解決するための手段】
【0005】
上記課題を解決するための手段には、以下の実施態様が含まれる。
電池の注液口を封止している封止フィルムの上に、加圧による変形を視認可能な物体を含む内圧検査シートを配置する工程と、
前記電池の周囲の圧力を低下させる工程と、
圧力を低下させた後の前記物体の変形の度合いに基づいて前記電池の内圧の状態を判断する工程と、を有する電池の検査方法。
【発明の効果】
【0006】
本開示の一実施形態によれば、簡易な手法で実施できる新規な電池の検査方法が提供される。
【図面の簡単な説明】
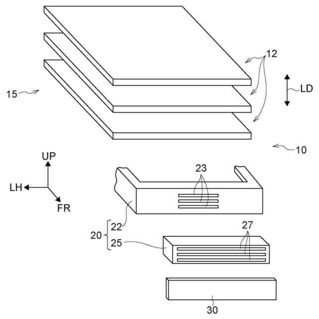
【0007】
内圧検査シートの構成の一例を概略的に示す断面図である。
電池の検査方法の対象となる電池の構成の一例を概略的に示す斜視図である。
電池の検査方法の対象となる電池の構成の一例を概略的に示す斜視図である。
【発明を実施するための形態】
【0008】
本開示の電池の検査方法は、
電池の注液口を封止している封止フィルムの上に、加圧による変形を視認可能な物体を含む内圧検査シートを配置する工程と、
前記電池の周囲の圧力を低下させる工程と、
圧力を低下させた後の前記物体の変形の度合いに基づいて前記電池の内圧の状態を判断する工程と、を有する電池の検査方法である。
以下、内圧検査シートに含まれる加圧による変形を視認可能な物体を「表示用物体」とも称する。
【0009】
本開示の電池の検査方法は、電池の内部に電解液を注入するための注液口をフィルム状の封止部材(すなわち、封止フィルム)で封止されるタイプの電池に適用される。
電解液の注液口を封止フィルムで封止されるタイプの電池の検査方法としては、減圧装置が接続されたチャンバに電池を配置し、チャンバ内部(すなわち、電池の周囲)を減圧したときの封止フィルムの変形の状態を観察する方法がある。
より具体的には、チャンバ内が減圧されると封止フィルムが電池の外側に向かって突き出すように変形する。この封止フィルムの変形の度合い(変位)を、レーザー変位計のような測定装置を用いて測定する。
【0010】
本開示の電池の検査方法では、封止フィルムの上に配置された内圧検査シートに含まれている表示用物体の変形の度合いを観察することによって、検査対象の電池の内圧を検査する。
より具体的には、電池の周囲の圧力を低下させると、電解液の注液口を封止する封止フィルムが電池の外側に向かって突き出すように変形する。この封止フィルムの変形によって内圧検査シートが加圧され、表示用物体が変形する。表示用物体の変形の度合いは視認可能であるため、変形した表示用物体の状態を目視で観察することによって、検査対象の電池の内圧の状態を判断することができる。
(【0011】以降は省略されています)
この特許をJ-PlatPat(特許庁公式サイト)で参照する
関連特許
トヨタ自動車株式会社
車両
16日前
トヨタ自動車株式会社
方法
19日前
トヨタ自動車株式会社
電池
16日前
トヨタ自動車株式会社
車体
12日前
トヨタ自動車株式会社
車両
3日前
トヨタ自動車株式会社
車両
3日前
トヨタ自動車株式会社
方法
11日前
トヨタ自動車株式会社
車両
18日前
トヨタ自動車株式会社
車両
11日前
トヨタ自動車株式会社
車両
10日前
トヨタ自動車株式会社
方法
19日前
トヨタ自動車株式会社
治具
4日前
トヨタ自動車株式会社
方法
10日前
トヨタ自動車株式会社
方法
10日前
トヨタ自動車株式会社
車両
9日前
トヨタ自動車株式会社
電池
9日前
トヨタ自動車株式会社
椅子
19日前
トヨタ自動車株式会社
方法
9日前
トヨタ自動車株式会社
車両
5日前
トヨタ自動車株式会社
飛行体
16日前
トヨタ自動車株式会社
正極層
9日前
トヨタ自動車株式会社
自動車
10日前
トヨタ自動車株式会社
電動機
9日前
トヨタ自動車株式会社
モータ
6日前
トヨタ自動車株式会社
サーバ
6日前
トヨタ自動車株式会社
モータ
11日前
トヨタ自動車株式会社
電磁弁
19日前
トヨタ自動車株式会社
モータ
17日前
トヨタ自動車株式会社
電動車
19日前
トヨタ自動車株式会社
搬送装置
16日前
トヨタ自動車株式会社
判定装置
19日前
トヨタ自動車株式会社
燃料電池
11日前
トヨタ自動車株式会社
報知装置
11日前
トヨタ自動車株式会社
蓄電装置
3日前
トヨタ自動車株式会社
蓄電装置
3日前
トヨタ自動車株式会社
充電装置
11日前
続きを見る
他の特許を見る