TOP
|
特許
|
意匠
|
商標
特許ウォッチ
Twitter
他の特許を見る
10個以上の画像は省略されています。
公開番号
2025160026
公報種別
公開特許公報(A)
公開日
2025-10-22
出願番号
2024062974
出願日
2024-04-09
発明の名称
動力伝達機構、駆動システム、出力ユニット
出願人
株式会社ソニー・インタラクティブエンタテインメント
代理人
弁理士法人はるか国際特許事務所
主分類
F16H
33/02 20060101AFI20251015BHJP(機械要素または単位;機械または装置の効果的機能を生じ維持するための一般的手段)
要約
【課題】構成が簡易な、弾性要素を用いた動力伝達機構100を提供する。
【解決手段】動力源11を含む駆動ユニット10と、動力源11からの動力により駆動する出力ユニット20と、を有する動力伝達機構100であって、出力ユニット20は、出力軸222と、動力源11からの動力に応じて回転する動力側端部232と、動力側端部232の回転と共に回転することで出力軸222を回転させる出力側端部233と、動力側端部232及び出力側端部233の回転中心周りに弾性力を生じさせる伸縮部231と、を含むコイルバネ23と、を有する。
【選択図】図6
特許請求の範囲
【請求項1】
動力源を含む駆動ユニットと、前記動力源からの動力により駆動する出力ユニットと、を有する動力伝達機構であって、
前記出力ユニットは、
出力軸と、
前記動力源からの動力に応じて回転する動力側端部と、当該動力側端部の回転と共に回転することで前記出力軸を回転させる出力側端部と、前記動力側端部及び前記出力側端部の回転中心周りに弾性力を生じさせる伸縮部と、を含む弾性部材と、
を有する動力伝達機構。
続きを表示(約 1,000 文字)
【請求項2】
前記伸縮部は、複数の環状部を含むコイル状であり、
前記複数の環状部は、前記伸縮部の中心軸線が延びる方向において互いに離間している、
請求項1に記載の動力伝達機構。
【請求項3】
前記伸縮部は、コイル状であり、
前記伸縮部の中心軸線が延びる方向から見た場合における、前記中心軸線と前記動力側端部を結ぶ補助線と、前記中心軸線と前記出力側端部を結ぶ補助線とが成す角度は、90°以下である、
請求項1に記載の動力伝達機構。
【請求項4】
前記弾性部材は、ねじりコイルバネである、
請求項1に記載の動力伝達機構。
【請求項5】
前記駆動ユニットは、駆動プーリを含み、
前記出力ユニットは、従動プーリ部材と、前記出力軸と一体に形成されるフランジ部と、を含み、
前記駆動プーリと前記従動プーリ部材に架け渡される伝達ベルトを更に有し、
前記動力側端部は、前記従動プーリ部材に保持されており、
前記出力側端部は、前記フランジ部に保持されている、
請求項1に記載の動力伝達機構。
【請求項6】
前記従動プーリ部材は、前記動力側端部が収容される第1収容部を含み、
前記フランジ部は、前記出力側端部が収容される第2収容部を含み、
前記弾性部材が前記出力側端部を中心として回転することを規制するように、前記第2収容部に収容される前記出力側端部を固定する固定具が設けられている、
請求項5に記載の動力伝達機構。
【請求項7】
請求項1~6のいずれかに記載の動力伝達機構と、
前記動力ユニットが有する駆動軸の回転角度と前記出力軸の回転角度とに応じた前記弾性部材の伸縮量に基づいて、前記出力軸に掛かる負荷トルクを算出するトルク算出装置と、
を含む駆動システム。
【請求項8】
動力源からの動力により駆動する出力ユニットであって、
出力軸と、
前記動力源からの動力に応じて回転する動力側端部と、当該動力側端部の回転と共に回転することで前記出力軸を回転させる出力側端部と、前記動力側端部及び前記出力側端部の回転中心周りに弾性力を生じさせる伸縮部と、を含む弾性部材と、
を有する出力ユニット。
発明の詳細な説明
【技術分野】
【0001】
本開示は、動力伝達機構、駆動システム、及び出力ユニットに関する。
続きを表示(約 1,300 文字)
【背景技術】
【0002】
特許文献1には、弾性要素を用いた、いわゆる直列弾性アクチュエータ(SEA)が開示されている。
【先行技術文献】
【特許文献】
【0003】
特開2023-59235号公報
【発明の概要】
【発明が解決しようとする課題】
【0004】
本出願の発明者らは、簡易な構成で弾性要素を用いた動力伝達機構を実現することを検討している。
【0005】
本開示は、構成が簡易な、弾性要素を用いた動力伝達機構、駆動システム、及び出力ユニットを提供することを目的とする。
【課題を解決するための手段】
【0006】
本開示に係る動力伝達機構は、動力源を含む駆動ユニットと、前記動力源からの動力により駆動する出力ユニットと、を有する動力伝達機構であって、前記出力ユニットは、出力軸と、前記動力源からの動力に応じて回転する動力側端部と、当該動力側端部の回転と共に回転することで前記出力軸を回転させる出力側端部と、前記動力側端部及び前記出力側端部の回転中心周りに弾性力を生じさせる伸縮部と、を含む弾性部材と、を有する。
【図面の簡単な説明】
【0007】
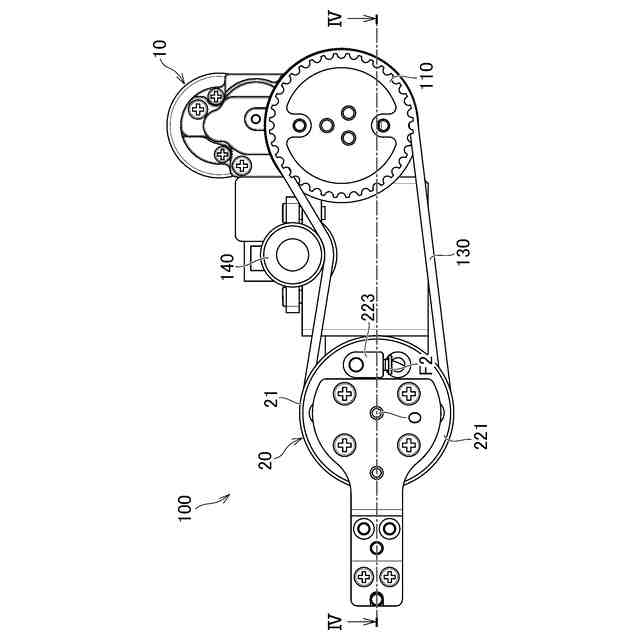
本実施形態に係る駆動システムの全体構成の概要を示すブロック図である。
動力伝達機構を示す斜視図である。
回転軸線方向から見た動力伝達機構を示す平面図である。
図3のIV-IV切断線に沿った動力伝達機構の断面図である。
出力ユニットを示す斜視図である。
出力ユニットを示す分解斜視図である。
回転軸線に垂直な方向から見た出力ユニットを示す平面図である。
回転軸線に垂直な方向から見たコイルバネを示す平面図である。
動力側端部及び出力側端部の配置について説明するための模式図である。
動力側端部及び出力側端部の配置について説明するための模式図である。
【発明を実施するための形態】
【0008】
以下、本開示に係る駆動システムSの実施形態の一例について、図面を参照しながら説明する。
【0009】
[駆動システムSの全体構成の概要]
図1は、本実施形態に係る駆動システムの全体構成の概要を示すブロック図である。駆動システムSは、動力伝達機構100と、トルク算出装置200とを含む。
【0010】
動力伝達機構100は、駆動ユニット10と、出力ユニット20と、角度検出センサ30と、角度検出センサ40とを含むとよい。駆動ユニット10は、アクチュエータなどの動力源11と、動力源11の動力により回転する駆動軸12とを含むとよい。出力ユニット20は、駆動軸12の回転に応じて回転する出力軸222を含むとよい。駆動軸12は、正方向及び負方向に回転可能であるとよい。同様に、出力軸222は、駆動軸12の回転に応じて正方向及び負方向に回転可能であるとよい。動力伝達機構100は、例えばアームロボットに用いられ、その場合、出力軸222はエンドエフェクタを駆動させる軸であるとよい。
(【0011】以降は省略されています)
この特許をJ-PlatPat(特許庁公式サイト)で参照する
関連特許
個人
留め具
19日前
個人
鍋虫ねじ
2か月前
個人
ホース保持具
6か月前
個人
紛体用仕切弁
2か月前
個人
回転伝達機構
2か月前
個人
差動歯車用歯形
4か月前
個人
トーションバー
7か月前
個人
ジョイント
1か月前
個人
給排気装置
26日前
株式会社不二工機
電磁弁
4か月前
株式会社不二工機
電磁弁
5か月前
個人
ナット
1か月前
個人
地震の揺れ回避装置
3か月前
個人
ボルトナットセット
7か月前
個人
吐出量監視装置
2か月前
カヤバ株式会社
緩衝器
3か月前
カヤバ株式会社
緩衝器
3か月前
カヤバ株式会社
ダンパ
4か月前
カヤバ株式会社
緩衝器
7か月前
カヤバ株式会社
ダンパ
4か月前
カヤバ株式会社
緩衝器
25日前
柿沼金属精機株式会社
分岐管
2か月前
株式会社三協丸筒
枠体
7か月前
株式会社ニフコ
クリップ
1か月前
株式会社不二工機
電動弁
26日前
個人
固着具と固着具の固定方法
6か月前
個人
固着具と固着具の固定方法
5か月前
個人
固着具と固着具の固定方法
5か月前
株式会社タカギ
水栓装置
2か月前
アズビル株式会社
回転弁
1か月前
株式会社ノーリツ
分配弁
5か月前
日東電工株式会社
断熱材
6か月前
株式会社ノーリツ
分配弁
5か月前
株式会社不二工機
電動弁
7か月前
株式会社奥村組
制振機構
1か月前
株式会社ノーリツ
分配弁
1か月前
続きを見る
他の特許を見る