TOP
|
特許
|
意匠
|
商標
特許ウォッチ
Twitter
他の特許を見る
公開番号
2025160011
公報種別
公開特許公報(A)
公開日
2025-10-22
出願番号
2024062951
出願日
2024-04-09
発明の名称
カイトを揚げる基地ユニットの転覆防止装置
出願人
トヨタ自動車株式会社
代理人
個人
,
個人
,
個人
主分類
B63H
9/072 20200101AFI20251015BHJP(船舶またはその他の水上浮揚構造物;関連艤装品)
要約
【課題】水上又は地上からカイトを揚げる基地ユニットにおいて、カイトからの張力による転覆或いは転倒を防止する。
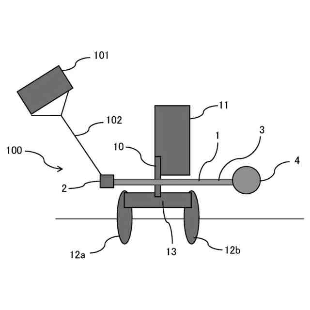
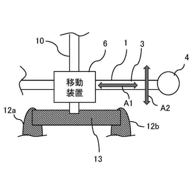
【解決手段】基地ユニット(100)の転覆防止装置(1)は、カイト(101)が取り付けられたテザー(102)の基地ユニットからの繰出し/繰入れ位置を規定する位置規定部(2)と、基地ユニットに取り付けられており、テザーから受ける張力により位置規定部を力点として発生するモーメントを、少なくとも部分的に打ち消す打消部(3)とを備える。
【選択図】図1
特許請求の範囲
【請求項1】
カイトを揚げる基地ユニットの転覆を防止する転覆防止装置であって、先端に前記カイトが取り付けられたテザーの前記基地ユニットからの繰出し/繰入れ位置を規定する位置規定部と、前記基地ユニットに取り付けられており、前記テザーから受ける張力により前記位置規定部を力点として発生するモーメントを、少なくとも部分的に打ち消す打消部とを備えることを特徴とする基地ユニットの転覆防止装置。
発明の詳細な説明
【技術分野】
【0001】
本発明は、例えば、水上或いは陸上から揚げたカイトを利用する、テザー型風力発電システム、観測システム、運搬システム、通信システム等の各種システムを構成する、水上に浮かぶヨット等の浮体側ユニット又は地上若しくは陸上を走行/停止する地上側ユニットとして構築される基地ユニットにおける、カイトからの張力による転覆或いは転倒を防止する転覆防止装置に関する。
続きを表示(約 1,600 文字)
【背景技術】
【0002】
この種の浮体側ユニットとして、カイトを揚げるセイル付き船が各種提案されている(特許文献1参照)。これらの技術によれば、セイルが受ける風力や、風に応じたカイトからの張力が発生しても、伝統的なバラスト等の船の姿勢を安定化させる技術により、そう簡単には転覆しないことが想定される。
【先行技術文献】
【特許文献】
【0003】
特表2007-532408号公報
【発明の概要】
【発明が解決しようとする課題】
【0004】
しかしながら、上述の背景技術によれば、浮体側ユニット或いは地上側ユニットが、カイトからテザーを介して受ける張力の方向及び強弱は、風向及び風速の変化並びに航行方向及び航行速度等に応じて変化する。このカイトからの張力により、浮体側ユニットの場合には、大なり小なり傾き、仮に何らの対策も施さなかったとすれば、転覆或いは沈没する可能が出てくる。ここで、船底から海底に向かって伸びる位置にバラストを有する伝統的なヨット等では、セイルが受ける風力に対応可能であるものの、時に縦横無尽に動き回るカイトから受ける方向及び強弱が変化する張力に対する対策としては十分とは言えないという技術的問題点がある。また例えば、地上或いは陸上を走行/停止しつつカイトを揚げる専用の走行車等の地上側ユニットの場合にも、カイトからの張力により転覆或いは転倒する可能があり、上述の如き浮体側ユニットと同様の技術的問題点がある。
【0005】
本発明は、例えば、水上又は地上からカイトを揚げる基地ユニットにおいて、カイトからの張力による転覆或いは転倒を防止可能な転覆防止装置を提供することを課題とする。
【課題を解決するための手段】
【0006】
本発明に係るカイトを揚げる基地ユニットの転覆防止装置の一の態様は上記課題を解決するために、カイトを揚げる基地ユニットの転覆を防止する転覆防止装置であって、先端に前記カイトが取り付けられたテザーの前記基地ユニットからの繰出し/繰入れ位置を規定する位置規定部と、前記基地ユニットに取り付けられており、前記テザーから受ける張力により前記位置規定部を力点として発生するモーメントを、少なくとも部分的に打ち消す打消部とを備える。
【発明の効果】
【0007】
本発明に係る一の態様に記載の転覆防止装置によれば、風を受けて動き回るカイトが先端に取り付けられたテザーからの張力によって、位置規定部を力点として、主に基地ユニットの重心を支点としてモーメントが発生する。しかるに、打消部を更に備えることで、こうして発生するモーメントを多少なりとも或いは理想的には完全に打ち消すことが可能となる。
【0008】
本発明によるこのような作用効果は、以下に説明する発明の実施形態により、より明らかにされる。
【図面の簡単な説明】
【0009】
第1実施形態に係る浮体側ユニットに設けられた転覆防止装置の構成を、それらの主要部と共に示す図式的側面図である。
第1実施形態の図式的平面図である。
第2実施形態に係る浮体側ユニットに設けられた転覆防止装置の構成を部分的に示す図式的部分側面図である。
【発明を実施するための形態】
【0010】
先ず、図1及び図2を参照して、第1実施形態に係るカイトを揚げる浮体側ユニットに設けられた転覆防止装置について説明する。本実施形態では、例えばヨット等の浮体側ユニット或いは洋上ユニットが、そこから揚げられるカイトを含むカイト側ユニットと共に、テザー型風力発電システムを構築している。
(【0011】以降は省略されています)
この特許をJ-PlatPat(特許庁公式サイト)で参照する
関連特許
トヨタ自動車株式会社
車両
16日前
トヨタ自動車株式会社
電池
16日前
トヨタ自動車株式会社
方法
10日前
トヨタ自動車株式会社
方法
10日前
トヨタ自動車株式会社
方法
19日前
トヨタ自動車株式会社
方法
19日前
トヨタ自動車株式会社
車両
10日前
トヨタ自動車株式会社
電池
26日前
トヨタ自動車株式会社
車両
5日前
トヨタ自動車株式会社
方法
9日前
トヨタ自動車株式会社
車両
18日前
トヨタ自動車株式会社
電池
25日前
トヨタ自動車株式会社
車両
3日前
トヨタ自動車株式会社
車両
3日前
トヨタ自動車株式会社
車両
11日前
トヨタ自動車株式会社
方法
11日前
トヨタ自動車株式会社
車両
23日前
トヨタ自動車株式会社
椅子
19日前
トヨタ自動車株式会社
電池
9日前
トヨタ自動車株式会社
車体
12日前
トヨタ自動車株式会社
治具
4日前
トヨタ自動車株式会社
車両
24日前
トヨタ自動車株式会社
車両
9日前
トヨタ自動車株式会社
加熱器
23日前
トヨタ自動車株式会社
飛行体
16日前
トヨタ自動車株式会社
自動車
10日前
トヨタ自動車株式会社
固定子
24日前
トヨタ自動車株式会社
電動機
9日前
トヨタ自動車株式会社
ケース
25日前
トヨタ自動車株式会社
電磁弁
19日前
トヨタ自動車株式会社
モータ
11日前
トヨタ自動車株式会社
電動車
19日前
トヨタ自動車株式会社
サーバ
6日前
トヨタ自動車株式会社
モータ
6日前
トヨタ自動車株式会社
モータ
17日前
トヨタ自動車株式会社
正極層
9日前
続きを見る
他の特許を見る