TOP
|
特許
|
意匠
|
商標
特許ウォッチ
Twitter
他の特許を見る
公開番号
2025159999
公報種別
公開特許公報(A)
公開日
2025-10-22
出願番号
2024062931
出願日
2024-04-09
発明の名称
エアバッグモジュール
出願人
株式会社ダイセル
代理人
弁理士法人秀和特許事務所
主分類
B60R
21/261 20110101AFI20251015BHJP(車両一般)
要約
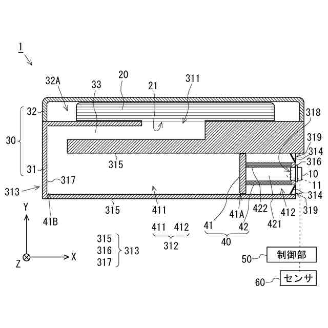
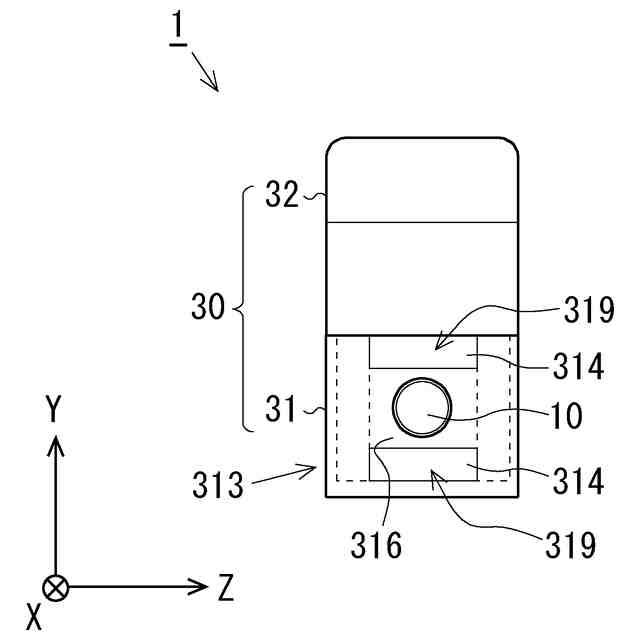
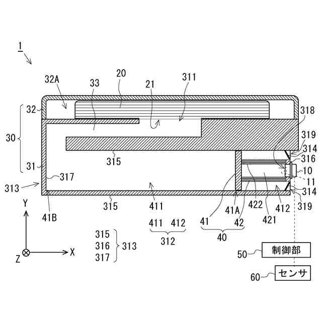
【課題】ガス発生器の作動時のガスを利用して、モジュール内に作動前から収容されていた気体をエアバッグ内に入れ、効率良くエアバッグを展開する技術を提供する。
【解決手段】エアバッグモジュールが、ガス導入口を有するエアバッグと、前記エアバッグの前記ガス導入口に接続されたガス供給口を有し、内部気体を収容した収容空間が内部に形成されたモジュールケースと、前記モジュールケースに取り付けられ、作動時に発生したガスを前記モジュールケースの前記収容空間内に供給するガス発生器と、前記ガス発生器の作動により当該ガス発生器から供給されるガスの圧力によって前記収容空間内を移動可能に配置され、前記ガス発生器の作動前から前記収容空間内に収容されていた前記内部気体を前記ガス発生器の作動に伴う移動により前記エアバッグへ押し出す押子と、を備える。
【選択図】図1
特許請求の範囲
【請求項1】
ガス導入口を有するエアバッグと、
前記エアバッグの前記ガス導入口に接続されたガス供給口を有し、内部気体を収容した収容空間が内部に形成されたモジュールケースと、
前記モジュールケースに取り付けられ、作動時に発生したガスを前記モジュールケースの前記収容空間内に供給するガス発生器と、
前記ガス発生器の作動により当該ガス発生器から供給されるガスの圧力によって前記収容空間内を移動可能に配置され、前記ガス発生器の作動前から前記収容空間内に収容されていた前記内部気体を前記ガス発生器の作動に伴う移動により前記エアバッグへ押し出す押子と、
を備えるエアバッグモジュール。
続きを表示(約 1,300 文字)
【請求項2】
前記モジュールケースは、モジュールケース外部の外気を導入する外気導入孔を有し、前記外気導入孔には前記モジュールケース内の気体が外部に流出することを防止する逆止弁が取り付けられている、請求項1に記載のエアバッグモジュール。
【請求項3】
前記押子は、
移動方向において先端側に配置される移動体と、
前記移動体に接続された蛇腹状の筒体又は入れ子式の多筒体であって、前記ガス発生器からの発生ガスにより一方向へ伸びるように展開する展伸筒と、
を備え、
前記ガス発生器の作動時に前記展伸筒が伸びることで、前記移動体を前記収容空間内の開始位置から終端位置へ移動させる、請求項1又は2に記載のエアバッグモジュール。
【請求項4】
前記外気導入孔は、前記モジュールケースにおける前記終端位置よりも前記開始位置側に形成されている、請求項2を引用する請求項3に記載のエアバッグモジュール。
【請求項5】
前記押子は、前記ガス発生器からガスが供給される前記展伸筒内の通気路と前記モジュールケースの前記ガス供給口とを連通させる連通孔を有し、前記連通孔を介して前記ガスを前記モジュールケースの前記ガス供給口側へ供給する、請求項3に記載のエアバッグモジュール。
【請求項6】
前記モジュールケースは、
前記収容空間を画し、前記押子を収容する収容部と、
前記収容空間と前記ガス供給口を接続し、前記収容空間から供給される気体の通路となる連絡路と、
を含む、請求項3に記載のエアバッグモジュール。
【請求項7】
前記モジュールケースは、
前記収容空間を画し、前記押子を収容する収容部と、
前記収容空間と前記ガス供給口を接続し、前記収容空間内に収容されていた前記内部気体、前記モジュールケース外部から導入された前記外気、及び前記展伸筒内の通気路を介して前記ガス発生器から供給されたガスの通路となる連絡路と、
を含む、請求項2を引用する請求項3に記載のエアバッグモジュール。
【請求項8】
前記ガス発生器は、少なくともガス発生剤を燃焼させて前記ガスを発生させるパイロ式ガス発生器であり、
前記移動体は、
移動方向と直交する断面における断面形状が、同断面における前記収容空間の断面形状と
同じであり、
移動に際して、前記移動体の外周面が前記収容部の内周面に沿って摺動するように前記収容部内に嵌められ、
前記収容空間を、前記移動体よりも前記連絡路側の第一空間と前記移動体よりも前記ガス発生器側の第二空間に分け、
少なくとも前記押子の先端が、前記ガス発生器の作動によって移動を開始してから前記第一空間の体積が前記第二空間の体積よりも小さくなる中間位置に到達するまでは、前記第二空間と前記連絡路とを連通させる連通孔を閉じて前記第二空間と前記連絡路とを連通させず、前記押子の先端が、前記中間位置を超えた場合に前記連通孔を開いて前記第二空間と前記連絡路とを連通させる、請求項7に記載のエアバッグモジュール。
発明の詳細な説明
【技術分野】
【0001】
本発明は、エアバッグモジュールに関する。
続きを表示(約 1,400 文字)
【背景技術】
【0002】
近年、車両には、衝突時にエアバッグを展開して乗員を保護するエアバッグ装置(エアバッグモジュール)が装備されている。車両におけるエアバッグ装置は、ステアリングホイールや、シート側部、ルーフの窓側付近などに設けられるものが提案されている。
【0003】
特許文献1では、エアバッグクッションと、インフレータと、当該インフレータに結合され、インフレータからエアバッグクッションに膨張ガスを送るように構成された複数の高速ノズルとを含むエアバッグアセンブリが提案されている。当該エアバッグアセンブリのハウジングは、エアバッグクッションの膨張中に周囲の空気をエアバッグクッション内に取り込むことができるように構成された吸入口を備えている。
【先行技術文献】
【特許文献】
【0004】
米国特許第10124759号明細書
【発明の概要】
【発明が解決しようとする課題】
【0005】
上述のエアバッグアセンブリでは、インフレ―タから噴出されるガスが、周囲の空気を引き込みながらバッグへと入るが、インフレ―タ作動時のガスが効率良く用いられていないという問題点があった。
【0006】
本開示の技術は、上述の実情を鑑みてなされたものであり、その目的は、ガス発生器の作動時のガスを利用して、モジュール内に作動前から収容されていた気体をエアバッグ内に入れ、効率良くエアバッグを展開する技術を提供することである。
【課題を解決するための手段】
【0007】
上記課題を解決するために、本開示の技術は、以下の構成を採用した。即ち、本開示のエアバッグモジュールは、
ガス導入口を有するエアバッグと、
前記エアバッグの前記ガス導入口に接続されたガス供給口を有し、内部気体を収容した収容空間が内部に形成されたモジュールケースと、
前記モジュールケースに取り付けられ、作動時に発生したガスを前記モジュールケースの前記収容空間内に供給するガス発生器と、
前記ガス発生器の作動により当該ガス発生器から供給されるガスの圧力によって前記収容空間内を移動可能に配置され、前記ガス発生器の作動前から前記収容空間内に収容されていた前記内部気体を前記ガス発生器の作動に伴う移動により前記エアバッグへ押し出す押子と、
を備える。
【0008】
前記モジュールケースは、モジュールケース外部の外気を導入する外気導入孔を有し、前記外気導入孔には前記モジュールケース内の気体が外部に流出することを防止する逆止弁が取り付けられてもよい。
【0009】
前記押子は、
移動方向において先端側に配置される移動体と、
前記移動体に接続された蛇腹状の筒体又は入れ子式の多筒体であって、前記ガス発生器からの発生ガスにより一方向へ伸びるように展開する展伸筒と、
を備え、
前記ガス発生器の作動時に前記展伸筒が伸びることで、前記移動体を前記収容空間内の開始位置から終端位置へ移動させてもよい。
【0010】
前記外気導入孔は、前記モジュールケースにおける前記終端位置よりも前記開始位置側に形成されてもよい。
(【0011】以降は省略されています)
この特許をJ-PlatPat(特許庁公式サイト)で参照する
関連特許
株式会社ダイセル
人体保護装置
3日前
株式会社ダイセル
エアバッグモジュール
11日前
株式会社ダイセル
遮光フィルム及びレンズユニット
1か月前
株式会社ダイセル
推奨量出力システム、推奨量出力方法及びプログラム
3日前
株式会社ダイセル
推奨量出力システム、推奨量出力方法及びプログラム
3日前
株式会社ダイセル
ガス発生器
9日前
国立研究開発法人理化学研究所
アーバスキュラー菌根菌の生産方法
18日前
株式会社ダイセル
1,3-ブチレングリコール製品
26日前
株式会社ダイセル
1,3-ブチレングリコール製品
26日前
株式会社ダイセル
大豆胚軸及び/又は大豆胚軸抽出物の発酵組成物
1か月前
株式会社ダイセル
推奨量出力システム、推奨量出力方法及びプログラム
3日前
株式会社ダイセル
推奨量出力システム、推奨量出力方法及びプログラム
3日前
株式会社ダイセル
1,3-ブチレングリコール製品、及び1,3-ブチレングリコールの製造方法
26日前
個人
タイヤレバー
3か月前
個人
前輪キャスター
2か月前
個人
上部一体型自動車
1か月前
個人
空間形成装置
3日前
個人
タイヤ脱落防止構造
2か月前
個人
ルーフ付きトライク
2か月前
個人
マスタシリンダ
1か月前
個人
車両通過構造物
3か月前
日本精機株式会社
表示装置
3か月前
日本精機株式会社
表示装置
2か月前
日本精機株式会社
表示装置
3か月前
日本精機株式会社
表示装置
3か月前
個人
乗合路線バスの客室装置
3か月前
個人
常設収納型サンバイザー
9日前
日本精機株式会社
車載表示装置
1か月前
個人
音声ガイド、音声サービス
3か月前
日本精機株式会社
車室演出装置
2か月前
日本精機株式会社
車載表示装置
6日前
個人
円湾曲ホイール及び球体輪
3か月前
日本精機株式会社
画像投映装置
26日前
株式会社豊田自動織機
産業車両
3か月前
日本精機株式会社
車載表示装置
11日前
個人
車載小物入れ兼雨傘収納具
4か月前
続きを見る
他の特許を見る