TOP
|
特許
|
意匠
|
商標
特許ウォッチ
Twitter
他の特許を見る
10個以上の画像は省略されています。
公開番号
2025159993
公報種別
公開特許公報(A)
公開日
2025-10-22
出願番号
2024062922
出願日
2024-04-09
発明の名称
識別装置、分類装置、識別方法、分類方法、および物品製造方法
出願人
キヤノン株式会社
代理人
弁理士法人大塚国際特許事務所
主分類
G01N
21/3563 20140101AFI20251015BHJP(測定;試験)
要約
【課題】プラスチック片の種類を精度よく識別するために有利な技術を提供する。
【解決手段】搬送経路上を搬送されているプラスチック片の種類を識別する識別装置は、前記搬送経路上の所定領域を前記プラスチック片が通過している間に、互いに異なる複数の条件の各々で、前記プラスチック片に赤外線を照射して前記プラスチック片からの反射光を計測する計測部と、前記複数の条件のうち前記計測部で計測された前記反射光の光量が規定範囲内となる条件での前記反射光に基づいて、前記プラスチック片の種類を特定する処理部と、を備える。
【選択図】図1
特許請求の範囲
【請求項1】
搬送経路上を搬送されているプラスチック片の種類を識別する識別装置であって、
前記搬送経路上の所定領域を前記プラスチック片が通過している間に、互いに異なる複数の条件の各々で、前記プラスチック片に赤外線を照射して前記プラスチック片からの反射光を計測する計測部と、
前記複数の条件のうち前記計測部で計測された前記反射光の光量が規定範囲内となる条件での前記反射光に基づいて、前記プラスチック片の種類を特定する処理部と、
を備えることを特徴とする識別装置。
続きを表示(約 980 文字)
【請求項2】
前記処理部は、前記搬送経路上を搬送される前記プラスチック片の搬送速度を示す情報に基づいて、前記所定領域を前記プラスチック片が通過している間に前記反射光の計測が前記複数の条件の各々で少なくとも1回ずつ行われるように、前記計測部における前記反射光の計測サイクルを制御する、ことを特徴とする請求項1に記載の識別装置。
【請求項3】
前記処理部は、前記搬送経路上を搬送されることが想定される前記プラスチック片の最小寸法を示す情報に更に基づいて、前記計測部における前記反射光の計測サイクルを制御する、ことを特徴とする請求項2に記載の識別装置。
【請求項4】
前記処理部は、前記計測部における前記反射光の計測サイクルを示す情報に基づいて、前記所定領域を前記プラスチック片が通過している間に前記反射光の計測が前記複数の条件の各々で少なくとも1回ずつ行われるように、前記搬送経路上における前記プラスチック片の搬送速度を制御する、ことを特徴とする請求項1に記載の識別装置。
【請求項5】
前記処理部は、前記搬送経路上を搬送されることが想定される前記プラスチック片の最小寸法を示す情報に更に基づいて、前記搬送経路上における前記プラスチック片の搬送速度を制御する、ことを特徴とする請求項4に記載の識別装置。
【請求項6】
前記計測部は、前記反射光を分光する分光器を含む、ことを特徴とする請求項1に記載の識別装置。
【請求項7】
前記複数の条件は、前記プラスチック片に前記赤外線を照射する照射条件が互いに異なる、ことを特徴とする請求項1に記載の識別装置。
【請求項8】
前記照射条件は、前記赤外線の照射強度および照射時間の少なくとも一方を含む、ことを特徴とする請求項7に記載の識別装置。
【請求項9】
前記計測部は、前記赤外線をパルス光として前記プラスチック片に照射し、
前記照射条件は、前記パルス光の数を含む、ことを特徴とする請求項7に記載の識別装置。
【請求項10】
前記複数の条件は、前記計測部による前記反射光の受光条件が互いに異なる、ことを特徴とする請求項1に記載の識別装置。
(【請求項11】以降は省略されています)
発明の詳細な説明
【技術分野】
【0001】
本発明は、識別装置、分類装置、識別方法、分類方法、および物品製造方法に関する。
続きを表示(約 1,500 文字)
【背景技術】
【0002】
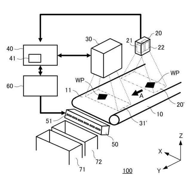
従来から、自動車や家電などの産業廃棄物は、様々なリサイクル工程で、鉄やアルミなどの金属と様々な材質を含むプラスチックとに分別される。そして、近年では、これらのプラスチックを再びプラスチック成型部品の材料として利用する水平リサイクルの試みも進められており、様々な材質を含むプラスチックから特定の種類(材質)のプラスチックを識別して分類するシステムが開発されている。
【0003】
例えば、特許文献1には、廃プラスチック片に照射した赤外線の反射光を分光して廃プラスチック片の種類を識別する技術が開示されている。当該技術では、ベルトコンベア上を流れる廃プラスチック片に赤外線を照射し、廃プラスチック片からの反射光を分光してスペクトル波形を検出する。そして、検出されたスペクトル波形を、予め材質ごとに登録されているスペクトル波形と比較照合することにより、廃プラスチックの材質を識別している。
【先行技術文献】
【特許文献】
【0004】
特許第5367145号公報
【発明の概要】
【発明が解決しようとする課題】
【0005】
ベルトコンベア上を搬送される様々なプラスチック片は、表面性状のばらつきによって赤外線の反射特性が異なるため、プラスチック片の種類を精度よく識別することが困難になることがある。具体的には、様々なプラスチック片には、光沢性の高い表面(光沢面)を有するものと光沢性の低い表面(粗面)を有するものとがある。光沢面と粗面とでは赤外線の反射率が大きく異なるため、反射光の強度に大きな差が生じ、センサによって反射光を精度よく検出することが困難になりうる。
【0006】
そこで、本発明は、プラスチック片の種類を精度よく識別するために有利な技術を提供することを目的とする。
【課題を解決するための手段】
【0007】
上記目的を達成するために、本発明の一側面としての識別装置は、搬送経路上を搬送されているプラスチック片の種類を識別する識別装置であって、前記搬送経路上の所定領域を前記プラスチック片が通過している間に、互いに異なる複数の条件の各々で、前記プラスチック片に赤外線を照射して前記プラスチック片からの反射光を計測する計測部と、前記複数の条件のうち前記計測部で計測された前記反射光の光量が規定範囲内となる条件での前記反射光に基づいて、前記プラスチック片の種類を特定する処理部と、を備えることを特徴とする。
【0008】
本発明の更なる目的又はその他の側面は、以下、添付図面を参照して説明される好ましい実施形態によって明らかにされるであろう。
【発明の効果】
【0009】
本発明によれば、例えば、プラスチック片の種類を精度よく識別するために有利な技術を提供することができる。
【図面の簡単な説明】
【0010】
一実施形態の分類装置の構成例を示す図
計測部の構成例および動作例を示す図
光検出部の構成例および動作例を示す図
実施例1の識別処理を説明するための図
各計測条件C
11
~C
13
で得られたスペクトル波形の例を示す図
実施例2の識別処理を説明するための図
実施例3の識別処理を説明するための図
反射光の計測サイクルの制御方法を示すフローチャート
廃プラスチック片の搬送速度の制御方法を示すフローチャート
【発明を実施するための形態】
(【0011】以降は省略されています)
この特許をJ-PlatPat(特許庁公式サイト)で参照する
関連特許
キヤノン株式会社
容器
9日前
キヤノン株式会社
容器
3日前
キヤノン株式会社
トナー
12日前
キヤノン株式会社
トナー
25日前
キヤノン株式会社
トナー
1か月前
キヤノン株式会社
トナー
25日前
キヤノン株式会社
トナー
25日前
キヤノン株式会社
現像装置
23日前
キヤノン株式会社
定着装置
24日前
キヤノン株式会社
現像容器
23日前
キヤノン株式会社
撮像装置
1か月前
キヤノン株式会社
撮像装置
9日前
キヤノン株式会社
現像装置
16日前
キヤノン株式会社
撮像装置
9日前
キヤノン株式会社
撮像装置
9日前
キヤノン株式会社
撮像装置
26日前
キヤノン株式会社
現像容器
23日前
キヤノン株式会社
記録装置
23日前
キヤノン株式会社
現像装置
23日前
キヤノン株式会社
表示装置
3日前
キヤノン株式会社
撮影装置
23日前
キヤノン株式会社
測距装置
18日前
キヤノン株式会社
撮像装置
3日前
キヤノン株式会社
記録装置
9日前
キヤノン株式会社
モジュール
25日前
キヤノン株式会社
光学センサ
25日前
キヤノン株式会社
画像形成装置
12日前
キヤノン株式会社
画像形成装置
6日前
キヤノン株式会社
カートリッジ
23日前
キヤノン株式会社
画像形成装置
12日前
キヤノン株式会社
画像形成装置
12日前
キヤノン株式会社
画像形成装置
10日前
キヤノン株式会社
画像形成装置
23日前
キヤノン株式会社
画像形成装置
23日前
キヤノン株式会社
画像形成装置
6日前
キヤノン株式会社
電子写真装置
10日前
続きを見る
他の特許を見る