TOP
|
特許
|
意匠
|
商標
特許ウォッチ
Twitter
他の特許を見る
10個以上の画像は省略されています。
公開番号
2025159992
公報種別
公開特許公報(A)
公開日
2025-10-22
出願番号
2024062921
出願日
2024-04-09
発明の名称
モールド、製造方法、膜形成方法、物品の製造方法及びインプリント装置
出願人
キヤノン株式会社
代理人
弁理士法人大塚国際特許事務所
主分類
H01L
21/027 20060101AFI20251015BHJP(基本的電気素子)
要約
【課題】モールドに関する新たな技術を提供する。
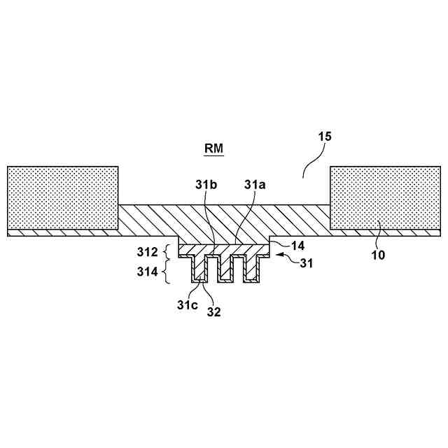
【解決手段】第1弾性率を有する材料からなる第1部位と、前記第1弾性率よりも低い第2弾性率を有する材料からなる第2部位と、を有し、インプリントリソグラフィに用いられるモールドであって、前記第1部位は、平面から突出したメサ部を含む第1面と、凹部を含む、前記第1面とは反対側の第2面と、を有し、前記第2部位は、前記メサ部に結合する第3面及び前記第3面とは反対側の第4面を含む基部と、前記第4面から突出した凸部を含んでパターンを規定するパターン部と、を有し、前記第3面と前記第4面との間の距離で規定される前記基部の厚さは、0.1μm以上10μm以下であり、前記基部の前記第4面、及び、前記パターン部の前記凸部を被覆する無機膜を有する、ことを特徴とするモールドを提供する。
【選択図】図4
特許請求の範囲
【請求項1】
第1弾性率を有する材料からなる第1部位と、前記第1弾性率よりも低い第2弾性率を有する材料からなる第2部位と、を有し、インプリントリソグラフィに用いられるモールドであって、
前記第1部位は、平面から突出したメサ部を含む第1面と、凹部を含む、前記第1面とは反対側の第2面と、を有し、
前記第2部位は、前記メサ部に結合する第3面及び前記第3面とは反対側の第4面を含む基部と、前記第4面から突出した凸部を含んでパターンを規定するパターン部と、を有し、
前記第3面と前記第4面との間の距離で規定される前記基部の厚さは、0.1μm以上10μm以下であり、
前記基部の前記第4面、及び、前記パターン部の前記凸部を被覆する無機膜を有する、
ことを特徴とするモールド。
続きを表示(約 1,300 文字)
【請求項2】
前記無機膜は、金属、半導体、セラミックス、酸化物系セラミックス及びガラスから選択される少なくとも1つを含む、ことを特徴とする請求項1に記載のモールド。
【請求項3】
前記メサ部は、前記凹部を前記平面に平行な仮想平面に正射影した領域の外縁よりも内側の領域に位置する、ことを特徴とする請求項1に記載のモールド。
【請求項4】
前記第1弾性率は、20GPa以上であり、
前記第2弾性率は、10GPa以下である、
ことを特徴とする請求項1に記載のモールド。
【請求項5】
前記第1面の前記平面と、前記第2面の前記凹部がない部分の面との間の距離は、6.35mm±0.10mmである、ことを特徴とする請求項1に記載のモールド。
【請求項6】
前記第1面の前記平面と、前記凹部の底面との間の距離は、0.1mm以上3mm以下である、ことを特徴とする請求項1に記載のモールド。
【請求項7】
前記メサ部は、0μmよりも大きく、且つ、1000μm以下の高さを有する、ことを特徴とする請求項1に記載のモールド。
【請求項8】
前記第2弾性率を有する材料は、重合性化合物と、光重合開始剤と、溶剤と、を含む硬化性組成物で構成され、
前記硬化性組成物は、23℃、1気圧において、2mPa・s以上60mPa・s以下の粘度を有し、
前記硬化性組成物の全体に対する前記溶剤の含有量は、5体積%よりも大きく、且つ、95体積%以下であり、
前記溶剤の沸点は、1気圧において、250℃未満であり、
前記硬化性組成物から前記溶剤を除いた組成物は、23℃、1気圧において、20mPa・s以上10000mPa・s以下の粘度を有する、
ことを特徴とする請求項1に記載のモールド。
【請求項9】
前記モールドは、レプリカモールドを含む、ことを特徴とする請求項1に記載のモールド。
【請求項10】
第1弾性率を有する材料からなる第1部位と、前記第1弾性率よりも低い第2弾性率を有する材料からなる第2部位と、無機膜と、を有するモールドを製造する製造方法であって、
インプリント法を用いて、平面から突出したメサ部を含む第1面と、凹部を含む、前記第1面とは反対側の第2面と、を有する前記第1部位の前記メサ部に、前記メサ部に結合する第3面及び前記第3面とは反対側の第4面を含む基部と、前記第4面から突出した凸部を含んでパターンを規定するパターン部と、を有する前記第2部位を形成する第1工程と、
堆積法を用いて、前記基部の前記第4面、及び、前記パターン部の前記凸部を被覆する前記無機膜を形成する第2工程と、
を有し、
前記第1工程では、前記第3面と前記第4面との間の距離で規定される前記基部の厚さが0.1μm以上10μm以下となるように、前記第2部位を形成する、
ことを特徴とする製造方法。
(【請求項11】以降は省略されています)
発明の詳細な説明
【技術分野】
【0001】
本発明は、モールド、製造方法、膜形成方法、物品の製造方法及びインプリント装置に関する。
続きを表示(約 2,100 文字)
【背景技術】
【0002】
光学部材、記録メディア、半導体デバイス、MEMSなどに対する微細化の要求が高まるにつれて、微細加工技術として、インプリント技術(光インプリント技術)が注目されている。インプリント技術では、微細な凹凸パターンが表面に形成されたモールド(型)を、基板上に配置(供給又は塗布)された硬化性組成物に接触させた状態で、硬化性組成物を硬化させる。これにより、モールドのパターンを硬化性組成物の硬化膜に転写して、基板上にパターンを形成する。インプリント技術によれば、基板上に数ナノメートルオーダーの微細なパターン(構造体)を形成することができる。
【0003】
インプリント技術に用いられるマスターモールドは、精密加工によって、シリコン、石英ガラス、金属などの表面に微細なパターンを形成しているため、非常に高価である。そこで、インプリント処理(レプリカインプリント)及びエッチング処理によって、マスターモールドの微細パターンをモールド基材(例えば、石英ガラス)に転写してレプリカモールドを製造する技術が提案されている(特許文献1参照)。各種デバイスを製造するためのインプリント処理(デバイスインプリント)では、レプリカモールドが用いられる。
【先行技術文献】
【特許文献】
【0004】
特許第5139421号公報
【発明の概要】
【発明が解決しようとする課題】
【0005】
半導体デバイスを製造する場合には、基板(デバイス基板)上に0.1μmから1μm程度の異物が存在することがある。特許文献1に開示された技術で製造された石英ガラス製レプリカモールドを用いて、異物が存在する基板に対してデバイスインプリントを実施した場合、異物を中心として数mmから数十mm程度の非接触領域が発生する。ここで、非接触領域は、基板上の硬化性組成物とレプリカモールドとが接触していない領域であるため、非接触領域には、レプリカモールドのパターンが転写されず、パターンが形成されない。レプリカモールドに強い力(押印力)を印加することで非接触領域を低減することはできるが、レプリカモールドのパターンが異物で圧迫されて破損する可能性が高まる。なお、レプリカモールドの破損によるコストの増加を抑えるために、レプリカモールドを比較的安価な有機材料で構成することが考えられるが、この場合、レプリカモールドへの硬化性組成物の付着が懸念される。
【0006】
本発明は、このような従来技術の課題に鑑みてなされ、モールドに関する新たな技術を提供することを例示的目的とする。
【課題を解決するための手段】
【0007】
上記目的を達成するために、本発明の一側面としてのモールドは、第1弾性率を有する材料からなる第1部位と、前記第1弾性率よりも低い第2弾性率を有する材料からなる第2部位と、を有し、インプリントリソグラフィに用いられるモールドであって、前記第1部位は、平面から突出したメサ部を含む第1面と、凹部を含む、前記第1面とは反対側の第2面と、を有し、前記第2部位は、前記メサ部に結合する第3面及び前記第3面とは反対側の第4面を含む基部と、前記第4面から突出した凸部を含んでパターンを規定するパターン部と、を有し、前記第3面と前記第4面との間の距離で規定される前記基部の厚さは、0.1μm以上10μm以下であり、前記基部の前記第4面、及び、前記パターン部の前記凸部を被覆する無機膜を有する、ことを特徴とする。
【0008】
本発明の更なる目的又はその他の側面は、以下、添付図面を参照して説明される実施形態によって明らかにされるであろう。
【発明の効果】
【0009】
本発明によれば、例えば、モールドに関する新たな技術を提供することができる。
【図面の簡単な説明】
【0010】
本発明の一側面としてのレプリカモールドの構成を説明するための図である。
本発明の一側面としてのレプリカモールドの構成を説明するための図である。
本発明の一側面としてのレプリカモールドの構成を説明するための図である。
本発明の一側面としてのレプリカモールドの構成を説明するための図である。
レプリカモールドを製造する製造方法を説明するための図である。
レプリカモールドを製造する製造方法を説明するための図である。
実施例1、比較例1、比較例2、比較例3及び比較例4のレプリカモールドの構成を示す図である。
インプリント処理の接触工程を説明するための図である。
異物に対するレプリカモールドの追従挙動の解析モデルを説明するための図である。
実施例1と比較例2との異物に対するレプリカモールドの追従挙動の差異を説明するための図である。
本発明の一側面としてのインプリント装置の構成を示す概略図である。
物品の製造方法を説明するための図である。
【発明を実施するための形態】
(【0011】以降は省略されています)
この特許をJ-PlatPat(特許庁公式サイト)で参照する
関連特許
キヤノン株式会社
容器
9日前
キヤノン株式会社
容器
3日前
キヤノン株式会社
トナー
25日前
キヤノン株式会社
トナー
25日前
キヤノン株式会社
トナー
12日前
キヤノン株式会社
トナー
1か月前
キヤノン株式会社
トナー
25日前
キヤノン株式会社
定着装置
24日前
キヤノン株式会社
記録装置
23日前
キヤノン株式会社
撮影装置
23日前
キヤノン株式会社
測距装置
18日前
キヤノン株式会社
撮像装置
26日前
キヤノン株式会社
表示装置
3日前
キヤノン株式会社
現像装置
16日前
キヤノン株式会社
撮像装置
9日前
キヤノン株式会社
撮像装置
9日前
キヤノン株式会社
撮像装置
3日前
キヤノン株式会社
現像装置
23日前
キヤノン株式会社
現像容器
23日前
キヤノン株式会社
撮像装置
1か月前
キヤノン株式会社
記録装置
9日前
キヤノン株式会社
現像容器
23日前
キヤノン株式会社
撮像装置
9日前
キヤノン株式会社
現像装置
23日前
キヤノン株式会社
モジュール
25日前
キヤノン株式会社
光学センサ
25日前
キヤノン株式会社
画像形成装置
12日前
キヤノン株式会社
画像形成装置
12日前
キヤノン株式会社
画像形成装置
6日前
キヤノン株式会社
画像形成装置
5日前
キヤノン株式会社
情報処理装置
5日前
キヤノン株式会社
画像形成装置
5日前
キヤノン株式会社
印刷システム
11日前
キヤノン株式会社
画像形成装置
24日前
キヤノン株式会社
画像形成装置
19日前
キヤノン株式会社
電子写真装置
10日前
続きを見る
他の特許を見る