TOP
|
特許
|
意匠
|
商標
特許ウォッチ
Twitter
他の特許を見る
10個以上の画像は省略されています。
公開番号
2025159968
公報種別
公開特許公報(A)
公開日
2025-10-22
出願番号
2024062873
出願日
2024-04-09
発明の名称
プロファイル付きベルト
出願人
バンドー化学株式会社
,
株式会社クレタス
代理人
弁理士法人藤本パートナーズ
主分類
B65G
15/42 20060101AFI20251015BHJP(運搬;包装;貯蔵;薄板状または線条材料の取扱い)
要約
【課題】プロファイルにおけるベルト本体の幅方向の揺れが抑えられるプロファイル付きベルトを提供することを課題とする。
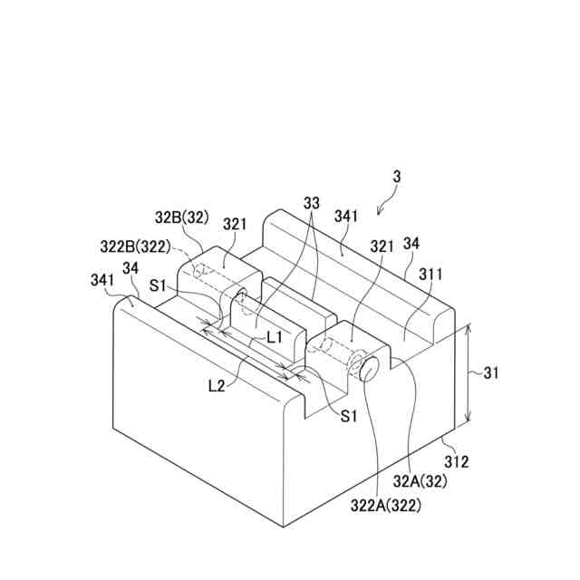
【解決手段】本発明は、ベルト本体と、ベルト本体の背面に取り外し可能に取り付けられるプロファイルと、プロファイルをベルト本体に固定する固定部材と、を備え、ベルト本体は、背面から突出する凸部を有し、ベルト幅方向において、凸部の寸法は、ベルト本体の寸法より小さく、プロファイルは、凸部の突出方向において該凸部と隣り合う第一部位と、ベルト幅方向における凸部の両側において、第一部位からベルト本体の背面に当接する位置まで該背面に向けて延びる一対の第二部位と、を有し、固定部材は、幅方向に延びると共に、凸部を挿通した状態で一対の第二部位のそれぞれに挿入されている、ことを特徴とする。
【選択図】図4
特許請求の範囲
【請求項1】
ベルト本体と、
前記ベルト本体の背面に取り外し可能に取り付けられるプロファイルと、
前記プロファイルを前記ベルト本体に固定する固定部材と、を備え、
前記ベルト本体は、前記背面から突出する凸部を有し、
前記ベルト本体の幅方向において、前記凸部の寸法は、前記ベルト本体の寸法より小さく、
前記プロファイルは、
前記凸部の突出方向において該凸部と隣り合う第一部位と、
前記ベルト本体の幅方向における前記凸部の両側において、前記第一部位から前記ベルト本体の前記背面に当接する位置まで該背面に向けて延びる一対の第二部位と、を有し、
前記固定部材は、前記幅方向に延びると共に、前記凸部を挿通した状態で前記一対の第二部位のそれぞれに挿入されている、プロファイル付きベルト。
続きを表示(約 560 文字)
【請求項2】
前記凸部と各第二部位とは、前記幅方向に延び且つ前記固定部材が挿通又は挿入される穴をそれぞれ有し、
前記プロファイルは、前記ベルト本体の長手方向における前記凸部の両側において、前記第一部位から該凸部に沿い且つ前記ベルト本体の前記背面に向けて延びる一対のガイド部を有する、請求項1に記載のプロファイル付きベルト。
【請求項3】
前記プロファイルは、前記第一部位における前記第二部位と前記ベルト本体の長手方向に間隔をあけた位置から前記ベルト本体の前記背面と当接する位置まで該背面に向けて延びる支持部を有する、請求項1に記載のプロファイル付きベルト。
【請求項4】
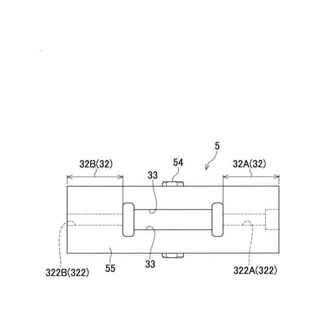
前記凸部と前記一対の第二部位のうちの一方の第二部位とは、前記幅方向に貫通する挿通穴を有し、
前記一対の第二部位のうちの他方の第二部位は、前記幅方向における前記一方の第二部位から前記他方の第二部位に向かう向きに延び且つ内周面に雌ねじを有する螺入穴を有し、
前記固定部材は、前記幅方向に延び且つ先端部に雄ねじを有するボルトによって構成され、前記凸部及び前記一方の第二部位の各挿通穴に挿通されると共に、前記他方の第二部位の螺入穴に螺入する、請求項1~3のいずれか1項に記載のプロファイル付きベルト。
発明の詳細な説明
【技術分野】
【0001】
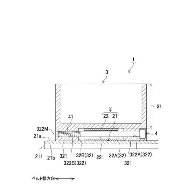
本発明は、ベルト本体と該ベルト本体の背面に取り付けられたプロファイルとを備えるプロファイル付きベルトに関する。
続きを表示(約 1,100 文字)
【背景技術】
【0002】
従来から、図19及び図20に示すようなベルト本体910と該ベルト本体910の背面910aに取り付けられたプロファイル920とを備えたプロファイル付きベルト900が知られている(特許文献1参照)。
【0003】
具体的に、このプロファイル付きベルト900は、ベルト本体910と、プロファイル920と、プロファイル920をベルト本体910に対して着脱可能に固定するための固定部材930と、を備える。
【0004】
ベルト本体910は、背面910aから突出する突起911を有し、この突起911は、ベルト幅方向における該ベルト本体910の一端910bから他端910cまで延びている。
【0005】
プロファイル920は、底面(背面910aと対向する面)920aに突起911が嵌合される凹部921を有する。
【0006】
これらプロファイル920と突起911には、それぞれ、固定部材930が挿通される貫通孔922、912が形成されており、この貫通孔922、912は、プロファイル920及び突起911それぞれのベルト長手方向の中央をベルト幅方向に貫通している。
【0007】
固定部材930は、ベルト幅方向に延び、プロファイル920及び突起911の貫通孔922、912に挿入されている。
【先行技術文献】
【特許文献】
【0008】
特開2016-216259号公報
【発明の概要】
【発明が解決しようとする課題】
【0009】
以上のプロファイル付きベルト900では、プロファイル920を種々の形状のものに取り換えることができるが、プロファイル920が突起911のベルト幅方向の両側においてベルト本体910(背面910a)と接していないため、ベルト駆動時等においてベルト幅方向に揺れやすかった。特に、プロファイル付きベルト900が図21に示すような無端状に配置されたときの湾曲している部位(プーリ951、952に巻き掛けられた部位)においては、プロファイル920の底面920aの全体がベルト本体910(背面910a)から離れた状態となるため、プロファイル920が前記幅方向により揺れ易くなる。
【0010】
そこで、本発明は、プロファイルにおけるベルト本体の幅方向の揺れが抑えられるプロファイル付きベルトを提供することを課題とする。
【課題を解決するための手段】
(【0011】以降は省略されています)
この特許をJ-PlatPat(特許庁公式サイト)で参照する
関連特許
個人
束ね具
18日前
個人
収容箱
4か月前
個人
コンベア
6か月前
個人
容器
10か月前
個人
段ボール箱
8か月前
個人
ゴミ収集器
8か月前
個人
段ボール箱
8か月前
個人
テープ引出機
18日前
個人
土嚢運搬器具
9か月前
個人
角筒状構造体
6か月前
個人
楽ちんハンド
6か月前
個人
バンド
3か月前
個人
宅配システム
8か月前
個人
棒状体収容容器
22日前
個人
お薬の締結装置
7か月前
個人
包装容器
2か月前
個人
コード類収納具
9か月前
個人
閉塞装置
11か月前
個人
廃棄物収容容器
3か月前
個人
蓋閉止構造
5か月前
個人
把手付米袋
5か月前
個人
蓋閉止構造
5か月前
個人
積み重ね用補助具
3か月前
株式会社コロナ
梱包材
6か月前
株式会社和気
包装用箱
1か月前
個人
ゴミ処理機
10か月前
株式会社バンダイ
物品
1か月前
個人
貯蔵サイロ
8か月前
株式会社和気
包装用箱
10か月前
個人
介護用コップ
3か月前
株式会社ナベル
検査装置
1か月前
三甲株式会社
蓋体
10か月前
三甲株式会社
容器
7か月前
三甲株式会社
蓋体
9か月前
株式会社新弘
容器
4か月前
三甲株式会社
容器
7か月前
続きを見る
他の特許を見る