TOP
|
特許
|
意匠
|
商標
特許ウォッチ
Twitter
他の特許を見る
公開番号
2025159959
公報種別
公開特許公報(A)
公開日
2025-10-22
出願番号
2024062857
出願日
2024-04-09
発明の名称
調光装置、および調光シートの駆動方法
出願人
TOPPANホールディングス株式会社
代理人
個人
,
個人
主分類
G02F
1/13 20060101AFI20251015BHJP(光学)
要約
【課題】調光範囲の変更が複数の態様で実現される調光装置、および調光シートの駆動方法を提供する。
【解決手段】第1透明電極層と対向する視点から見て、複数の第2電極要素12A,12B,12C,12Dに重なる1つ以上の第1電極要素11A,11B,11C,11Dを含み、信号処理部50は、第1モードにおいて、相互に異なる電圧を印加された第1電極要素11A,11B,11C,11Dを含み、第2モードにおいて、相互に異なる電圧を印加された第2電極要素12A,12B,12C,12Dを含む。
【選択図】図4
特許請求の範囲
【請求項1】
第1透明電極層と、
第2透明電極層と、
前記第1透明電極層と前記第2透明電極層とに挟まれた調光層と、
前記第1透明電極層と前記第2透明電極層との間に印加する電圧の変更によって前記調光層の透明度合いを変更する駆動部と、
を備える調光装置であって、
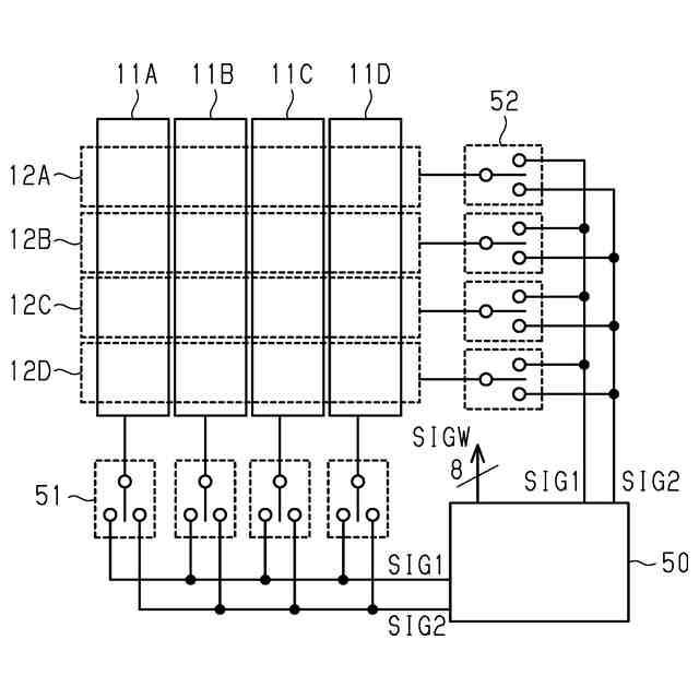
前記第1透明電極層は、電気的に相互に絶縁された複数の第1電極要素を備え、
前記第2透明電極層は、電気的に相互に絶縁された複数の第2電極要素を備え、
前記複数の第1電極要素は、前記第1透明電極層と対向する視点から見て、複数の前記第2電極要素に重なる1つ以上の前記第1電極要素を含み、
前記駆動部は、第1モードと第2モードとを有し、
前記第1モードは、相互に異なる電圧が印加された前記第1電極要素を前記複数の第1電極要素のなかに含め、
前記第2モードは、相互に異なる電圧が印加された前記第2電極要素を前記複数の第2電極要素のなかに含める、
ことを特徴とする調光装置。
続きを表示(約 1,400 文字)
【請求項2】
複数の前記第2電極要素は、前記調光層と対向する視点から見て、複数の前記第1電極要素に重なる1つ以上の前記第2電極要素を備える、
請求項1に記載の調光装置。
【請求項3】
前記第1モードは、前記各第2電極要素に相互に等しい電圧を印加し、
前記第2モードは、前記各第1電極要素に相互に等しい電圧を印加する、
請求項1に記載の調光装置。
【請求項4】
前記第1電極要素と前記第2電極要素とがそれぞれ印加対象であり、
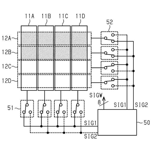
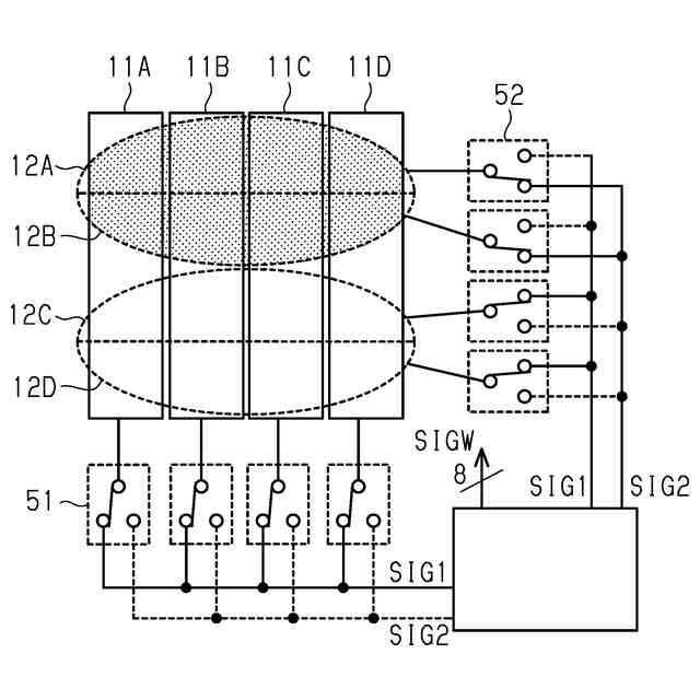
前記駆動部は、前記印加対象に1つずつ接続される切替部を備え、
前記切替部は、当該切替部に接続された前記印加対象に印加される電圧を、相互に異なる第1電圧と第2電圧とのいずれか一方に設定するように構成され、
前記第1モードは、前記切替部を駆動して、前記各第2電極要素に前記第1電圧を印加し、かつ前記複数の前記第1電極要素の一部に前記第1電圧を印加して前記複数の前記第1電極要素の他部に前記第2電圧を印加し、
前記第2モードは、前記切替部を駆動して、前記各第1電極要素に前記第1電圧を印加し、かつ前記複数の前記第2電極要素の一部に前記第1電圧を印加して前記複数の前記第2電極要素の他部に前記第2電圧を印加する、
請求項3に記載の調光装置。
【請求項5】
前記第1電極要素は、第1方向に並び、
前記第2電極要素は、前記第1方向と交差する第2方向に並ぶ、
請求項1または2に記載の調光装置。
【請求項6】
前記第1電極要素は、前記第2方向に延び、
前記第2電極要素は、前記第1方向に延びる
請求項5に記載の調光装置。
【請求項7】
前記第1モードは、相互に等しい電圧が印加される範囲を全ての前記第1電極要素のなかで前記第2方向に広げるように、相互に異なる電圧が印加された前記第1電極要素を前記複数の第2電極要素のなかに含め、
前記第2モードは、相互に等しい電圧が印加される範囲を全ての前記第1電極要素のなかで前記第1方向に広げるように、相互に異なる電圧が印加された前記第1電極要素を前記複数の第1電極要素のなかに含める、
請求項6に記載の調光装置。
【請求項8】
第1透明電極層と、第2透明電極層と、前記第1透明電極層と前記第2透明電極層とに挟まれた調光層と、を備える調光シートを用いて、前記第1透明電極層と前記第2透明電極層との間に印加する電圧の変更によって前記調光層の透明度合いを変更する調光シートの駆動方法であって、
前記第1透明電極層は、電気的に相互に絶縁された複数の第1電極要素を備え、
前記第2透明電極層は、電気的に相互に絶縁された複数の第2電極要素を備え、
前記複数の第1電極要素は、前記第1透明電極層と対向する視点から見て、複数の前記第2電極要素に重なる1つ以上の前記第1電極要素を含み、
前記調光シートの駆動方法は、第1モードと第2モードとを含み、
前記第1モードは、相互に異なる電圧が印加された前記第1電極要素を前記複数の第1電極要素のなかに含め、
前記第2モードは、相互に異なる電圧が印加された前記第2電極要素を前記複数の第2電極要素のなかに含める、
ことを特徴とする調光シートの駆動方法。
発明の詳細な説明
【技術分野】
【0001】
本開示は、透明電極層が複数の電極要素から構成される調光シートを備える調光装置、および調光シートの駆動方法に関する。
続きを表示(約 2,300 文字)
【背景技術】
【0002】
調光シートは、2つの透明電極フィルムの間に調光層を備える。透明電極フィルム間の電圧変更は、液晶化合物の配向状態を変更する。液晶化合物における配向状態の変更は、調光層における透明度合いを変更し、これによって調光シートの透明度合いを変更する(例えば、特許文献1を参照)。
【先行技術文献】
【特許文献】
【0003】
特開2021-184039号公報
【発明の概要】
【発明が解決しようとする課題】
【0004】
調光層と対向する視点から見て、透明度合いが変わる広さは、駆動電圧の作用する一定の大きさを有する。こうした調光範囲が縦方向に徐々に広がるのみならず、横方向にも徐々に広がるように、1つの調光シートのなかで調光範囲の変更が複数の態様で実現されることは、調光装置の適用される分野を広げて調光装置に関わる産業を発展させる。
【課題を解決するための手段】
【0005】
上記課題を解決するための調光装置は、第1透明電極層と、第2透明電極層と、前記第1透明電極層と前記第2透明電極層とに挟まれた調光層と、前記第1透明電極層と前記第2透明電極層との間に印加する電圧の変更によって前記調光層の透明度合いを変更する駆動部と、を備える調光装置であって、前記第1透明電極層は、電気的に相互に絶縁された複数の第1電極要素を備え、前記第2透明電極層は、電気的に相互に絶縁された複数の第2電極要素を備え、前記複数の第1電極要素は、前記第1透明電極層と対向する視点から見て、複数の前記第2電極要素に重なる1つ以上の前記第1電極要素を含み、前記駆動部は、第1モードと第2モードとを有し、前記第1モードは、相互に異なる電圧が印加された前記第1電極要素を前記複数の第1電極要素のなかに含め、前記第2モードは、相互に異なる電圧が印加された前記第2電極要素を前記複数の第2電極要素のなかに含める。
【0006】
上記課題を解決するための調光シートの駆動方法は、第1透明電極層と、第2透明電極層と、前記第1透明電極層と前記第2透明電極層とに挟まれた調光層と、を備える調光シートを用いて、前記第1透明電極層と前記第2透明電極層との間に印加する電圧の変更によって前記調光層の透明度合いを変更する調光シートの駆動方法であって、前記第1透明電極層は、電気的に相互に絶縁された複数の第1電極要素を備え、前記第2透明電極層は、電気的に相互に絶縁された複数の第2電極要素を備え、前記複数の第1電極要素は、前記第1透明電極層と対向する視点から見て、複数の前記第2電極要素に重なる1つ以上の前記第1電極要素を含み、前記調光シートの駆動方法は、第1モードと第2モードとを含み、前記第1モードは、相互に異なる電圧が印加された前記第1電極要素を前記複数の第1電極要素のなかに含め、前記第2モードは、相互に異なる電圧が印加された前記第2電極要素を前記複数の第2電極要素のなかに含める。
【0007】
上記構成によれば、第1透明電極層と対向する視点から見て、第1電極要素が第2電極要素に重なる。そして、第1電極要素と第2電極要素とが重なる範囲において、調光層の透明度合いが変わる。この際、第1モードでは、複数の第1電極要素と重なる範囲において、調光層の透明度合いが変わる。第2モードでは、複数の第2電極要素と重なる範囲において、透明度合いが変わる。このため、第1透明電極層と対向する視点から見て、第1電極要素による調光範囲の変更と、第2電極要素による調光範囲の変更とが、実現される。すなわち、2つの態様による調光範囲の変更が1つの調光装置のなかで実現される。
【0008】
上記構成において、複数の前記第2電極要素は、前記調光層と対向する視点から見て、複数の前記第1電極要素に重なる1つ以上の前記第2電極要素を備えてもよい。
上記構成において、前記第1モードは、前記各第2電極要素に相互に等しい電圧を印加し、前記第2モードは、前記各第1電極要素に相互に等しい電圧を印加してもよい。
【0009】
上記構成において、前記第1電極要素と前記第2電極要素とがそれぞれ印加対象であり、前記駆動部は、前記印加対象に1つずつ接続される切替部を備え、前記切替部は、当該切替部に接続された前記印加対象に印加される電圧を、相互に異なる第1電圧と第2電圧とのいずれか一方に設定するように構成され、前記第1モードは、前記切替部を駆動して、前記各第2電極要素に前記第1電圧を印加し、かつ前記複数の前記第1電極要素の一部に前記第1電圧を印加して前記複数の前記第1電極要素の他部に前記第2電圧を印加し、前記第2モードは、前記切替部を駆動して、前記各第1電極要素に前記第1電圧を印加し、かつ前記複数の前記第2電極要素の一部に前記第1電圧を印加して前記複数の前記第2電極要素の他部に前記第2電圧を印加してもよい。
【0010】
上記構成によれば、第1電圧が第1電極要素に印加されると共に、第2電圧が第1電極要素と第2電極要素とに印加される。または、第1電圧が第1電極要素と第2電極要素とに印加されると共に、第2電圧が第1電極要素に印加される。これにより、透明電極層に印加する電圧を最小数の2種類にしながらも、2つの態様による調光範囲の変更が1つの調光装置のなかで実現される。
(【0011】以降は省略されています)
この特許をJ-PlatPat(特許庁公式サイト)で参照する
関連特許
他の特許を見る