TOP
|
特許
|
意匠
|
商標
特許ウォッチ
Twitter
他の特許を見る
公開番号
2025159893
公報種別
公開特許公報(A)
公開日
2025-10-22
出願番号
2024062735
出願日
2024-04-09
発明の名称
設定端末、制御端末、制御方法及びプログラム
出願人
パナソニックIPマネジメント株式会社
代理人
個人
,
個人
,
個人
主分類
H04Q
9/00 20060101AFI20251015BHJP(電気通信技術)
要約
【課題】複数の設定済みの制御端末の中から所望の内容の設定がされた制御端末を容易に特定することができる設定端末等を提供する。
【解決手段】設定端末20は、各々がユーザの操作に応じて機器40を制御する複数の制御端末30と通信する通信部21と、通信部21を用いて複数の制御端末30のそれぞれへ設定情報を送信することで、複数の制御端末30のそれぞれに操作によりどの機器40がどのように制御されるかの設定を行う設定部222と、通信部21を用いて複数の制御端末30のそれぞれへ報知指令を送信することで、複数の制御端末30のうち報知指令において指定された設定と同じ設定がなされている制御端末30に報知を行わせる報知指令部223とを備える。
【選択図】図1
特許請求の範囲
【請求項1】
各々がユーザの操作に応じて機器を制御する複数の制御端末と通信する通信部と、
前記通信部を用いて前記複数の制御端末のそれぞれへ設定情報を送信することで、前記複数の制御端末のそれぞれに前記操作によりどの前記機器がどのように制御されるかの設定を行う設定部と、
前記通信部を用いて前記複数の制御端末のそれぞれへ報知指令を送信することで、前記複数の制御端末のうち前記報知指令において指定された設定と同じ設定がなされている制御端末に報知を行わせる報知指令部とを備える、
設定端末。
続きを表示(約 980 文字)
【請求項2】
ユーザの操作に応じて機器を制御する制御部と、
前記操作によりどの前記機器がどのように制御されるかの第1設定を示す設定情報を設定端末から受信する通信部と、
受信された前記設定情報が記憶される記憶部と、
前記通信部が前記設定端末から報知指令を受信した場合に、受信された前記報知指令において指定された第2設定と、前記記憶部に記憶された前記設定情報が示す前記第1設定とが一致するかどうかを判定し、前記第2設定と前記第1設定とが一致すると判定した場合に報知を行う報知部とを備える、
制御端末。
【請求項3】
前記報知部は、受信された前記報知指令において指定された前記第2設定の識別情報と、前記記憶部に記憶された前記設定情報が示す前記第1設定の識別情報とが一致するかどうかを判定する、
請求項2に記載の制御端末。
【請求項4】
前記報知部は、前記第2設定と前記第1設定とが一致すると判定した場合に、所定期間の間継続して前記報知を行う、
請求項2又は3に記載の制御端末。
【請求項5】
前記報知部は、前記所定期間中に前記通信部によって他の報知指令が受信された場合、前記報知を停止する、
請求項4に記載の制御端末。
【請求項6】
前記機器は、照明関連機器である、
請求項2又は3に記載の制御端末。
【請求項7】
前記制御端末と前記機器とは、メッシュネットワークを構成する、
請求項2又は3に記載の制御端末。
【請求項8】
コンピュータによって実行される制御方法であって、
各々がユーザの操作に応じて機器を制御する複数の制御端末のそれぞれへ設定情報を送信することで、前記複数の制御端末のそれぞれに前記操作によりどの前記機器がどのように制御されるかの設定を行う設定ステップと、
前記複数の制御端末のそれぞれへ報知指令を送信することで、前記複数の制御端末のうち前記報知指令において指定された設定と同じ設定がなされている制御端末に報知を行わせる報知指令ステップとを含む、
制御方法。
【請求項9】
請求項8に記載の制御方法を実行するためのプログラム。
発明の詳細な説明
【技術分野】
【0001】
本開示は、設定端末、制御端末、制御方法及びプログラムに関する。
続きを表示(約 1,500 文字)
【背景技術】
【0002】
複数の機器の設定を行う時に、設定済みの機器と未設定の機器とで異なる点灯状態に制御することで、設定が終了したかどうかの確認を容易にする技術が開示されている(例えば、特許文献1を参照)。
【先行技術文献】
【特許文献】
【0003】
特開2011-204656号公報
【発明の概要】
【発明が解決しようとする課題】
【0004】
しかし、特許文献1が開示する技術では、設定済みの機器について、その設定された内容を確認することはできないという問題がある。特に、機器がリモートコントローラ等の制御端末である場合は、設定された内容を確認することができないことは、不便である。
【0005】
そこで、本発明は、複数の設定済みの制御端末の中から所望の設定がされた制御端末を容易に特定することができる設定端末、制御端末、制御方法及びプログラムを提供することを目的とする。
【課題を解決するための手段】
【0006】
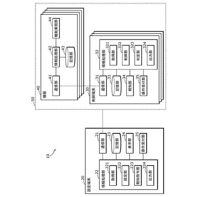
本開示に係る設定端末の一態様は、各々がユーザの操作に応じて機器を制御する複数の制御端末と通信する通信部と、前記通信部を用いて前記複数の制御端末のそれぞれへ設定情報を送信することで、前記複数の制御端末のそれぞれに前記操作によりどの前記機器がどのように制御されるかの設定を行う設定部と、前記通信部を用いて前記複数の制御端末のそれぞれへ報知指令を送信することで、前記複数の制御端末のうち前記報知指令において指定された設定と同じ設定がなされている制御端末に報知を行わせる報知指令部とを備える。
【0007】
また、本開示に係る制御端末の一態様は、ユーザの操作に応じて機器を制御する制御部と、前記操作によりどの前記機器がどのように制御されるかの第1設定を示す設定情報を設定端末から受信する通信部と、受信された前記設定情報が記憶される記憶部と、前記通信部が前記設定端末から報知指令を受信した場合に、受信された前記報知指令において指定された第2設定と、前記記憶部に記憶された前記設定情報が示す前記第1設定とが一致するかどうかを判定し、前記第2設定と前記第1設定とが一致すると判定した場合に報知を行う報知部とを備える。
【0008】
また、本開示に係る制御方法の一態様は、コンピュータによって実行される制御方法であって、各々がユーザの操作に応じて機器を制御する複数の制御端末のそれぞれへ設定情報を送信することで、前記複数の制御端末のそれぞれに前記操作によりどの前記機器がどのように制御されるかの設定を行う設定ステップと、前記複数の制御端末のそれぞれへ報知指令を送信することで、前記複数の制御端末のうち前記報知指令において指定された設定と同じ設定がなされている制御端末に報知を行わせる報知指令ステップとを含む。
【0009】
なお、これらの包括的かつ具体的な態様は、上記制御方法として実現できるだけでなく、制御方法をコンピュータに実行させるプログラムとして実現できる。さらに、そのプログラムを格納したコンピュータ読み取り可能な記録媒体としても実現できる。
【発明の効果】
【0010】
本開示に係る設定端末、制御端末、制御方法及びプログラムによれば、複数の設定済みの制御端末の中から所望の設定がされた制御端末を容易に特定することができる。
【図面の簡単な説明】
(【0011】以降は省略されています)
この特許をJ-PlatPat(特許庁公式サイト)で参照する
関連特許
個人
イヤーマフ
10日前
個人
監視カメラシステム
19日前
個人
スイッチシステム
4日前
キーコム株式会社
光伝送線路
20日前
サクサ株式会社
中継装置
25日前
個人
スキャン式車載用撮像装置
19日前
サクサ株式会社
中継装置
26日前
WHISMR合同会社
収音装置
1か月前
キヤノン株式会社
撮像装置
2か月前
アイホン株式会社
電気機器
1か月前
株式会社リコー
画像形成装置
12日前
ヤマハ株式会社
放音制御装置
4日前
個人
ワイヤレスイヤホン対応耳掛け
1か月前
キヤノン電子株式会社
画像読取装置
18日前
株式会社リコー
画像形成装置
2か月前
サクサ株式会社
無線通信装置
25日前
キヤノン電子株式会社
画像読取装置
4日前
個人
映像表示装置、及びARグラス
5日前
株式会社リコー
画像形成装置
2か月前
サクサ株式会社
無線通信装置
25日前
サクサ株式会社
無線システム
24日前
キヤノン電子株式会社
画像読取装置
1か月前
株式会社リコー
画像形成装置
2か月前
ブラザー工業株式会社
読取装置
2か月前
株式会社ニコン
撮像装置
3か月前
個人
発信機及び発信方法
24日前
日本電気株式会社
海底分岐装置
20日前
キヤノン株式会社
撮像システム
1か月前
株式会社小糸製作所
画像照射装置
2か月前
沖電気工業株式会社
画像形成装置
1か月前
DXO株式会社
情報処理システム
3か月前
株式会社松平商会
携帯機器カバー
1か月前
株式会社JVCケンウッド
通信システム
1か月前
国立大学法人電気通信大学
小型光学装置
2か月前
キヤノン電子株式会社
画像処理システム
18日前
株式会社NTTドコモ
端末
19日前
続きを見る
他の特許を見る