TOP
|
特許
|
意匠
|
商標
特許ウォッチ
Twitter
他の特許を見る
公開番号
2025159782
公報種別
公開特許公報(A)
公開日
2025-10-22
出願番号
2024062536
出願日
2024-04-09
発明の名称
表示システム、車両、および、バッテリの劣化度の表示方法
出願人
トヨタ自動車株式会社
代理人
弁理士法人深見特許事務所
主分類
G01R
31/392 20190101AFI20251015BHJP(測定;試験)
要約
【課題】ユーザに違和感を生じさせることなく、バッテリの正確な劣化度をユーザに報知する。
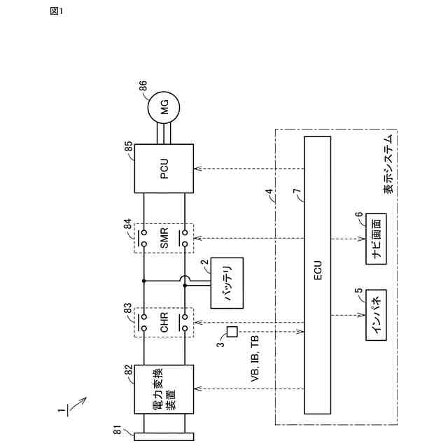
【解決手段】表示システム4は、インパネ5と、インパネ5を制御するECU7とを備える。ECU7は、バッテリ2のSOC(State Of Charge)の変化量とバッテリ2の充放電電力量とを用いてバッテリ2の満充電容量を繰り返し算出し、算出された複数の満充電容量に基づいて、インパネ5に表示するための容量維持率(劣化度)を決定する。ECU7は、複数の満充電容量の変化率が所定値よりも小さい領域では、複数の満充電容量に対するなまし処理により決定される容量維持率を表示するようにインパネ5を制御し、変化率が所定値よりも大きい領域では、なまし処理が行われていない容量維持率を表示するようにインパネ5を制御する。
【選択図】図1
特許請求の範囲
【請求項1】
ディスプレイと、
前記ディスプレイを制御する制御装置とを備え、
前記制御装置は、
バッテリのSOC(State Of Charge)の変化量と前記バッテリの充放電電力量とを用いて前記バッテリの満充電容量を繰り返し算出し、算出された複数の満充電容量に基づいて、前記ディスプレイに表示するための前記バッテリの劣化度を決定し、
前記複数の満充電容量の変化率が所定値よりも小さい領域では、前記複数の満充電容量に対するなまし処理により決定される前記劣化度を表示するように、前記ディスプレイを制御し、
前記変化率が前記所定値よりも大きい初期領域では、前記なまし処理が行われていない前記劣化度を表示するように、前記ディスプレイを制御する、表示システム。
続きを表示(約 840 文字)
【請求項2】
前記制御装置は、前記なまし処理において、前記複数の満充電容量のうちの新しい満充電容量ほど大きな重みが与えられるように、前記複数の満充電容量の各々に対する重み付けを行う、請求項1に記載の表示システム。
【請求項3】
車両であって、
請求項1または2に記載の表示システムと、
前記バッテリとを備え、
前記制御装置は、前記車両の走行距離が所定距離未満である場合、または、前記車両の製造時からの期間が所定時間未満である場合、前記バッテリが劣化していないことを示す固定値を前記劣化度として表示するように、前記ディスプレイを制御する、車両。
【請求項4】
バッテリの満充電容量の時系列データに基づいて決定される前記バッテリの劣化度を表示するディスプレイを備え、
前記ディスプレイは、
前記時系列データに含まれる複数の満充電容量の変化率が所定値よりも小さい領域では、前記複数の満充電容量に対するなまし処理により決定される前記劣化度を表示し、
前記変化率が前記所定値よりも大きい領域では、前記なまし処理が行われていない前記劣化度を表示する、表示システム。
【請求項5】
バッテリのSOC(State Of Charge)の変化量と前記バッテリの充放電電力量とを用いて前記バッテリの満充電容量を繰り返し算出することによって、複数の満充電容量を算出するステップと、
前記複数の満充電容量に基づいて決定される前記バッテリの劣化度をディスプレイに表示するステップとを含み、
前記表示するステップは、前記複数の満充電容量の変化率が所定値よりも小さい領域では、前記複数の満充電容量に対するなまし処理により決定される前記劣化度を表示し、前記変化率が前記所定値よりも大きい初期領域では、前記なまし処理が行われていない前記劣化度を表示するステップを含む、バッテリの劣化度の表示方法。
発明の詳細な説明
【技術分野】
【0001】
本開示は、表示システム、車両、および、バッテリの劣化度の表示方法に関する。
続きを表示(約 1,600 文字)
【背景技術】
【0002】
一般に、バッテリは、使用に伴い、または時間経過とともに劣化する。バッテリが劣化すると、バッテリの満充電容量が低下してユーザの利便性が低下し得る。そのため、バッテリの劣化度をユーザに報知するための技術が提案されている。たとえば特開2020-58122号公報(特許文献1)は、バッテリの劣化を抑制するための具体的方策をユーザに認識させることができる提示装置を開示する。
【先行技術文献】
【特許文献】
【0003】
特開2020-58122号公報
【発明の概要】
【発明が解決しようとする課題】
【0004】
バッテリの劣化度を表示する場合に、バッテリの満充電容量に基づいて算出される劣化度は様々な誤差によりばらつき得る。そのため、一定程度の処理(より具体的には、後述する、なまし処理)を行った上で、劣化度を表示することが考えられる。一方で、表示される劣化度と実際の劣化度との間に乖離が生じると、ユーザに違和感を生じさせ得る。ユーザに違和感を生じさせることなく、バッテリの正確な劣化度をユーザに報知することが望ましい。
【0005】
本開示は上記課題を解決するためになされたものであり、本開示の目的の1つは、ユーザに違和感を生じさせることなく、バッテリの正確な劣化度をユーザに報知することである。
【課題を解決するための手段】
【0006】
(1)本開示のある局面に係る表示システムは、ディスプレイと、ディスプレイを制御する制御装置とを備える。制御装置は、バッテリのSOC(State Of Charge)の変化量とバッテリの充放電電力量とを用いてバッテリの満充電容量を繰り返し算出し、算出された複数の満充電容量に基づいて、ディスプレイに表示するためのバッテリの劣化度を決定する。制御装置は、複数の満充電容量の変化率が所定値よりも小さい領域では、複数の満充電容量に対するなまし処理により決定される劣化度を表示するように、ディスプレイを制御し、変化率が所定値よりも大きい初期領域では、なまし処理が行われていない劣化度を表示するように、ディスプレイを制御する。
【0007】
上記(1)の構成においては、複数の満充電容量の変化率が所定値よりも小さい領域(後述する初期劣化期間)には、なまし処理が非実施とされ、複数の満充電容量の変化率が所定値よりも大きい領域(初期劣化期間後の期間)になまし処理が実施される。初期劣化期間にはなまし処理を非実施とすることにより、初期劣化期間に実際の劣化度(たとえば容量維持率)が早く低下することでディスプレイに表示される劣化度が実際の劣化度と乖離することを防止できるため、正確な劣化度をユーザに報知できる。一方、初期劣化期間後の期間にはなまし処理を実施することにより、ユーザに違和感を生じさせることなく、劣化度をユーザに報知できる。よって、上記(1)の構成によれば、ユーザに違和感を生じさせることなく、バッテリの正確な劣化度をユーザに報知できる。
【0008】
(2)制御装置は、なまし処理において、複数の満充電容量のうちの新しい満充電容量ほど大きな重みが与えられるように、複数の満充電容量の各々に対する重み付けを行う。
【0009】
上記(2)の構成によれば、なまし処理された劣化度に新しい満充電容量を大きく反映させることが可能になる。
【0010】
(3)本開示の他の局面に係る車両は、上記(1)または(2)に記載の表示システムと、バッテリとを備える。制御装置は、車両の走行距離が所定距離未満である場合、または、車両の製造時からの期間が所定時間未満である場合、バッテリが劣化していないことを示す固定値を劣化度として表示するように、ディスプレイを制御する。
(【0011】以降は省略されています)
この特許をJ-PlatPat(特許庁公式サイト)で参照する
関連特許
トヨタ自動車株式会社
車両
17日前
トヨタ自動車株式会社
方法
11日前
トヨタ自動車株式会社
車両
12日前
トヨタ自動車株式会社
車両
4日前
トヨタ自動車株式会社
車両
4日前
トヨタ自動車株式会社
車両
19日前
トヨタ自動車株式会社
方法
20日前
トヨタ自動車株式会社
車両
6日前
トヨタ自動車株式会社
方法
20日前
トヨタ自動車株式会社
車体
13日前
トヨタ自動車株式会社
方法
12日前
トヨタ自動車株式会社
車両
25日前
トヨタ自動車株式会社
車両
11日前
トヨタ自動車株式会社
電池
17日前
トヨタ自動車株式会社
電池
10日前
トヨタ自動車株式会社
椅子
20日前
トヨタ自動車株式会社
治具
5日前
トヨタ自動車株式会社
車両
10日前
トヨタ自動車株式会社
方法
10日前
トヨタ自動車株式会社
車両
24日前
トヨタ自動車株式会社
方法
11日前
トヨタ自動車株式会社
モータ
7日前
トヨタ自動車株式会社
電動機
10日前
トヨタ自動車株式会社
正極層
10日前
トヨタ自動車株式会社
モータ
12日前
トヨタ自動車株式会社
自動車
11日前
トヨタ自動車株式会社
飛行体
17日前
トヨタ自動車株式会社
サーバ
7日前
トヨタ自動車株式会社
固定子
25日前
トヨタ自動車株式会社
モータ
18日前
トヨタ自動車株式会社
電動車
20日前
トヨタ自動車株式会社
電磁弁
20日前
トヨタ自動車株式会社
加熱器
24日前
トヨタ自動車株式会社
蓄電装置
24日前
トヨタ自動車株式会社
通知装置
10日前
トヨタ自動車株式会社
蓄電装置
11日前
続きを見る
他の特許を見る