TOP
|
特許
|
意匠
|
商標
特許ウォッチ
Twitter
他の特許を見る
10個以上の画像は省略されています。
公開番号
2025159755
公報種別
公開特許公報(A)
公開日
2025-10-22
出願番号
2024062482
出願日
2024-04-09
発明の名称
メッセージカード
出願人
株式会社サンセイ
代理人
個人
主分類
B42D
15/02 20060101AFI20251015BHJP(製本;アルバム;ファイル;特殊印刷物)
要約
【課題】簡易な構成でありながら、興趣に富んだ態様で二つのメッセージを相手に伝達すること。
【解決手段】カード本体2に切欠き21を設け、当該切欠きを介してメッセージ記入シート4をカード本体に出入自在に配置する。切欠きは、箱の図柄12の開口20cを構成する線分である折罫20a’,20b’に沿うように配置する。受取人は、まず、カード本体の空白領域R1に記入されたメッセージを視認することができ、続いて、受取人がカード本体から突出する方向にメッセージ記入シートを引き出すことにより、メッセージ記入シートの空白領域R2に記入されたメッセージを視認することができる。このように、極めて簡易な構成でありながら、メッセージ記入シートが、あたかも箱の開口から出てきたような印象を受取人に与えることができ、受取人に二つのメッセージを読む過程を楽しませることができる。
【選択図】図2
特許請求の範囲
【請求項1】
相手にメッセージを伝えるためのメッセージカードであって、
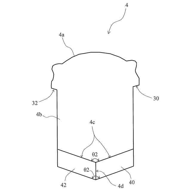
開口を有する物体の図柄を有する第1領域と、第1メッセージを記入可能に前記第1領域に一体に配置された第2領域と、前記第1領域のうち前記開口の内側領域に配置された切欠きと、を有するカード本体と、
所定のキャラクタの図柄を有する第3領域と、第2メッセージを記入可能に前記第3領域に一体に配された第4領域と、を有し、前記切欠きを介して出入自在に前記カード本体に配置されたメッセージ記入シートと、
を備えるメッセージカード。
続きを表示(約 690 文字)
【請求項2】
前記第1領域は、前記開口を画定する少なくとも一本の線分を有しており、
前記切欠きは、前記線分の少なくとも一部に沿って配置されている
請求項1に記載のメッセージカード。
【請求項3】
前記メッセージ記入シートは、該メッセージ記入シートが前記カード本体から突出する方向である第1方向に配置された第1端部と、前記第1方向とは反対方向である第2方向に配置された第2端部と、を有しており、
前記第2端部は、折曲部を有しており、
前記折曲部は、前記メッセージ記入シートが前記第1方向に移動した際、前記切欠きを介して前記カード本体と係合可能である
請求項1または2に記載のメッセージカード。
【請求項4】
前記折曲部は、前記カード本体と少なくとも二点で接触可能な形状を有している
請求項3に記載のメッセージカード。
【請求項5】
前記メッセージ記入シートは、前記第1方向とは反対方向である第2方向に移動した際、前記切欠きを介して前記カード本体と接触可能な接触部をさらに備えている
請求項1または2に記載のメッセージカード。
【請求項6】
前記メッセージ記入シートは、前記所定のキャラクタの図柄の輪郭に沿った形状を有しており、
前記接触部は、前記形状の一部である
請求項5に記載のメッセージカード。
【請求項7】
前記接触部は、前記カード本体と少なくとも二点で接触可能な形状を有している
請求項5に記載のメッセージカード。
発明の詳細な説明
【技術分野】
【0001】
本発明は、相手にメッセージを伝えるためのメッセージカードに関する。
続きを表示(約 2,200 文字)
【背景技術】
【0002】
特開平8-104082号公報(特許文献1)には、主折り曲げ線を介して二つ折り可能に構成されたカード本体と、複数の折り曲げ線を介して折り曲げられると共に当該状態で一部がカード本体の内側に貼着された動作板と、を備えるメッセージカードが記載されている。当該メッセージカードでは、カード本体の外側の面に、キャラクタなどの図柄が記載されていると共にメッセージを記載可能となっていると共に、動作板の折り曲げられた状態では視認不可能な面に、メッセージを記載可能となっている。
【0003】
当該メッセージカードを受け取った者は、まず、当該メッセージカードを受け取った時点において、カード本体に記載されたメッセージを視認できる。次に、当該メッセージカードを受け取った者が、当該メッセージカードを開くことによって、動作板が複雑な動作を経て展開されて、当該動作板に記載されたメッセージを視認することができる。即ち、上述した公報に記載のメッセージカードによれば、二つのメッセージを異なるタイミングで相手に伝達することができる。
【先行技術文献】
【特許文献】
【0004】
特開平8-104082号公報
【発明の概要】
【発明が解決しようとする課題】
【0005】
しかしながら、上述した公報に記載のメッセージカードでは、動作板に複雑な折り曲げ線を設ける必要があると共に、カード本体を開く際に円滑かつ適切に動作板が展開されるようにカード本体へ貼着する必要があり、製造性という点において、なお改良の余地がある。
【0006】
本発明は、上記に鑑みてなされたものであり、簡易な構成でありながら、興趣に富んだ態様で二つのメッセージを相手に伝達することができるメッセージカードを提供することを目的の一つとする。
【課題を解決するための手段】
【0007】
本発明のメッセージカードは、上述の目的を達成するために以下の手段を採った。
【0008】
本発明に係るメッセージカードの好ましい形態によれば、相手にメッセージを伝えるためのメッセージカードが構成される。当該メッセージカードは、カード本体と、メッセージ記入シートと、を備えている。カード本体は、開口を有する物体の図柄を有する第1領域と、第1メッセージを記入可能に第1領域に一体に配置された第2領域と、第1領域のうち開口の内側領域に配置された切欠きと、を有している。メッセージ記入シートは、所定のキャラクタの図柄を有する第3領域と、第2メッセージを記入可能に第3領域に一体に配置された第4領域と、を有している。また、メッセージ記入シートは、切欠きを介して出入自在にカード本体に配置されている。ここで、本発明における「開口を有する物体」とは、典型的には、箱や缶、カゴなどの容器や袋などの入れ物がこれに該当するが、出入口を備える部屋や移動体(車や列車、船、飛行機など)、被服(ポケット含む)、少なくとも一端に開口を有する管(土管など)など、内部に人や動物、物などを収容可能な空間を有すると共に、人や動物、物などが出入自在な開口を有するあらゆる物を好適に包含する。また、本発明における「第1領域に一体に配置された第2領域」とは、第2領域が第1領域に連続して一体に配置される態様の他、第2領域が第1領域内に配置される態様を好適に包含する。さらに、本発明における「キャラクタ」とは、漫画やアニメ、小説、映画、演劇、ゲーム、広告などのフィクションに登場する人物や動物、植物、虫、物のみならず、読者、視聴者、消費者などに一定のイメージを与え、かつ、商品や企業などに対する誘引効果を高めるために創作された人物や動物、植物、虫、物などのマスコットを好適に包含する。また、本発明における「第3領域に一体に配置された第4領域」とは、第4領域が第3領域に連続して一体に配置される態様の他、第4領域が第3領域内に配置される態様を好適に包含する。
【0009】
本発明によれば、メッセージカードを受け取った者(以下、「受取人」という。)は、まず、カード本体の第2領域に記入された第1メッセージを視認することができる。続いて、受取人は、メッセージ記入シートがカード本体から突出する方向に当該メッセージ記入シートを引き出すことにより、第3領域に記入された第2メッセージを視認することができる。即ち、本発明によれば、カード本体の第1領域に配置した切欠きを介して、メッセージ記入シートが出入自在にカード本体に配置するのみという極めて簡易な構成で、受取人に二つのメッセージを読む過程を楽しませることができる。しかも、切欠きが開口の内側領域に配置されているため、メッセージ記入シートが、あたかも物体の開口から出てきたような印象を受取人に与えることができるため、興趣に富んだ態様で、受取人にメッセージを伝達することができる。
【0010】
本発明に係るメッセージカードの更なる形態によれば、第1領域は、開口を画定する少なくとも一本の線分を有している。そして、切欠きは、線分の少なくとも一部に沿って配置されている。ここで、本発明における「線分」は、直線のみならず、曲線を好適に包含する。
(【0011】以降は省略されています)
この特許をJ-PlatPat(特許庁公式サイト)で参照する
関連特許
他の特許を見る