TOP
|
特許
|
意匠
|
商標
特許ウォッチ
Twitter
他の特許を見る
10個以上の画像は省略されています。
公開番号
2025159697
公報種別
公開特許公報(A)
公開日
2025-10-21
出願番号
2025016305
出願日
2025-02-03
発明の名称
作業装置
出願人
KNE株式会社
代理人
個人
,
個人
主分類
B65B
15/04 20060101AFI20251014BHJP(運搬;包装;貯蔵;薄板状または線条材料の取扱い)
要約
【課題】複数の作業ヘッドを無端状のベース部に沿って移動させて同時並行で複数の作業を実施させることができる作業装置を提供する。
【解決手段】作業装置1は、無端状のベース部10と、ベース部10に沿って配置されるリニア駆動部と、ベース部10に沿って配置されるガイド部と、ガイド部に沿って独立して移動可能であり任意の位置で停止可能な複数の作業ヘッド20A~20Fと、複数の作業ヘッド20A~20Fが停止して並行で複数の作業を実施する複数の作業位置Sと、作業ヘッド20A~20Fの任意の位置で、作業ヘッド20A~20Fに給電する非接触給電部15と、作業ヘッド20A~20Fとの間で信号を通信する非接触通信部16と、作業ヘッド20A~20Fにエアを供給する非接触エア供給部100を備える。
【選択図】図1
特許請求の範囲
【請求項1】
無端状のベース部と、
前記ベース部に沿って配置されるリニア駆動部と、
前記ベース部に沿って配置されるガイド部と、
前記ガイド部に沿って独立して移動可能であり任意の位置で停止可能な複数の作業ヘッドと、
複数の前記作業ヘッドが停止して並行で複数の作業を実施する複数の作業位置を備える作業装置であって、
前記作業ヘッドの任意の位置で、前記作業ヘッドに給電する非接触給電部と前記作業ヘッドとの間で信号を通信する非接触通信部と前記作業ヘッドにエアを供給する非接触エア供給部を備えることを特徴とする作業装置。
続きを表示(約 240 文字)
【請求項2】
前記作業位置は、前記作業ヘッドが電子部品をピックアップする部品供給位置と、ピックアップされた前記電子部品の位置を認識する部品認識位置と、ピックアップされた前記電子部品を載置対象に載置する部品載置位置を含むことを特徴とする請求項1記載の作業装置。
【請求項3】
前記エアは、前記作業ヘッドが前記電子部品のピックアップ時および載置時を含む作業に必要な動作を実施するための正圧エアおよび負圧エアであることを特徴とする請求項2記載の作業装置。
発明の詳細な説明
【技術分野】
【0001】
本開示は、複数の作業ヘッドが複数の作業を実行する作業装置に関する。
続きを表示(約 1,800 文字)
【背景技術】
【0002】
作業装置として、作業ヘッドが備えるノズルでトレイなどに載置された電子部品を吸着してピックアップし、キャリアテープなどの部品収納部に移載する部品移載装置が知られている。作業ヘッドには、エア源から供給されるエアや電源から供給される電力が供給される。特許文献1には、エア源から供給されるエアを送るエア配管と電源から供給される電気を送電する電源ケーブルを作業ヘッドに接続することによりエアと電力を供給する作業装置が開示されている。
【0003】
また、特許文献2には、閉ループ軌道に沿って移動する複数のヘッドユニット(作業ヘッド)を備え、各々のヘッドユニットが順に移動しながらヘッドユニットが備えるノズルで部品供給カセットから部品を吸着してピックアップし、基板に移載することにより、部品実装効率を向上させる部品実装装置が開示されている。
【先行技術文献】
【特許文献】
【0004】
特開2009-181998号公報
特開2001-274597号公報
【発明の概要】
【発明が解決しようとする課題】
【0005】
しかしながら特許文献2には、閉ループ軌道を周回するヘッドユニットにエアと電力を供給する手段についての開示は無く、特許文献2に特許文献1の作業ヘッドにエアと電力を供給する手段を組み合わると、複数の作業ヘッドの各々に接続されるエア配管と電源ケーブルを作業ヘッドの周回移動に合わせて回転させる必要が有り、エア配管と電源ケーブルの引き回しのためのスペースが必要となって装置のコンパクト化が妨げられ、また、作業ヘッドの移動の高速化、高精度化も妨げられるという問題点があった。
【0006】
そこで本開示は、複数の作業ヘッドを無端状のベース部に沿って移動させて同時並行で複数の作業を実施させることができる作業装置を提供することを目的とする。
【課題を解決するための手段】
【0007】
本開示の作業装置は、無端状のベース部と、前記ベース部に沿って配置されるリニア駆動部と、前記ベース部に沿って配置されるガイド部と、前記ガイド部に沿って独立して移動可能であり任意の位置で停止可能な複数の作業ヘッドと、複数の前記作業ヘッドが停止して並行で複数の作業を実施する複数の作業位置を備える作業装置であって、前記作業ヘッドの任意の位置で、前記作業ヘッドに給電する非接触給電部と前記作業ヘッドとの間で信号を通信する非接触通信部と前記作業ヘッドにエアを供給する非接触エア供給部を備える。
【発明の効果】
【0008】
本開示によれば、複数の作業ヘッドを無端状のベース部に沿って移動させて同時並行で複数の作業を実施させることができる。
【図面の簡単な説明】
【0009】
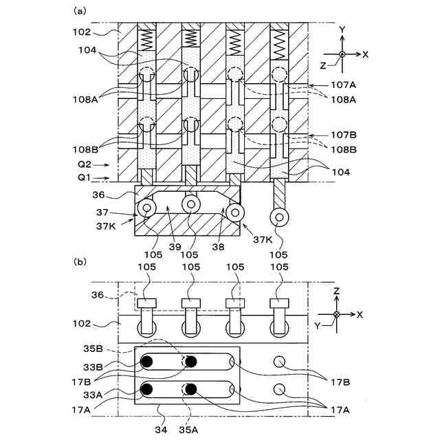
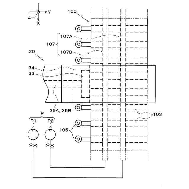
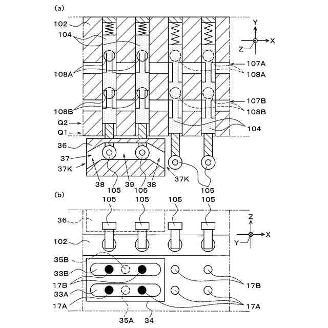
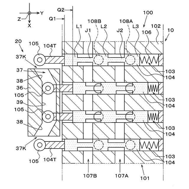
本開示の一実施の形態の作業装置の要部の構成を示す平面図。
作業装置のベース部と複数の作業ヘッドの構成を示す斜視図。
作業装置の図1における矢視V1-V1断面図。
作業装置の非接触エア供給部と非接触エア受容部の要部の構成を示す平面図。
作業装置の非接触エア供給部と非接触エア受容部の要部の拡大断面図。
作業装置の図3における矢視V2-V2断面図。
作業装置の図5における矢視V3正面図。
作業装置が備える(a)バルブユニットの動作説明図(b)エア出口とエア受容口の位置関係を示す図。
作業装置が備える(a)バルブユニットの動作説明図(b)エア出口とエア受容口の位置関係を示す図。
作業装置が備える(a)バルブユニットの動作説明図(b)エア出口とエア受容口の位置関係を示す図。
作業装置の制御系の構成を示すブロック図。
【発明を実施するための形態】
【0010】
以下に図面を用いて、本開示の一実施の形態を詳細に説明する。以下で述べる構成、形状等は説明のための例示であって、作業装置、作業ヘッド、作業位置、作業部の仕様に応じ、適宜変更が可能である。以下では、全ての図面において対応する要素には同一符号を付し、重複する説明を省略する。
(【0011】以降は省略されています)
この特許をJ-PlatPat(特許庁公式サイト)で参照する
関連特許
KNE株式会社
作業装置
3日前
KNE株式会社
部品移載装置および部品移載方法ならびに部品供給装置
4か月前
個人
収容箱
3か月前
個人
コンベア
5か月前
個人
段ボール箱
7か月前
個人
段ボール箱
6か月前
個人
容器
9か月前
個人
ゴミ収集器
6か月前
個人
宅配システム
6か月前
個人
角筒状構造体
5か月前
個人
バンド
2か月前
個人
楽ちんハンド
4か月前
個人
土嚢運搬器具
8か月前
個人
廃棄物収容容器
2か月前
個人
包装容器
1か月前
個人
お薬の締結装置
5か月前
個人
閉塞装置
10か月前
個人
コード類収納具
8か月前
株式会社バンダイ
物品
16日前
個人
蓋閉止構造
3か月前
個人
貯蔵サイロ
7か月前
株式会社和気
包装用箱
8か月前
個人
積み重ね用補助具
2か月前
個人
把手付米袋
4か月前
個人
蓋閉止構造
3か月前
株式会社コロナ
梱包材
5か月前
個人
ゴミ処理機
9か月前
三甲株式会社
容器
5か月前
個人
コード折り畳み器具
4か月前
個人
輸送積荷用動吸振器
6か月前
三甲株式会社
蓋体
7か月前
株式会社新弘
容器
2か月前
三甲株式会社
容器
5か月前
個人
搬送システム
6か月前
三甲株式会社
蓋体
9か月前
株式会社イシダ
搬送装置
6か月前
続きを見る
他の特許を見る