TOP
|
特許
|
意匠
|
商標
特許ウォッチ
Twitter
他の特許を見る
公開番号
2025159559
公報種別
公開特許公報(A)
公開日
2025-10-21
出願番号
2024062222
出願日
2024-04-08
発明の名称
木ねじ成形型
出願人
個人
代理人
安田岡本弁理士法人
主分類
F16B
25/00 20060101AFI20251014BHJP(機械要素または単位;機械または装置の効果的機能を生じ維持するための一般的手段)
要約
【課題】 頭部に亀裂発生がなく、顎部が邪魔になることなく木材に打ち込むことができるようにする。
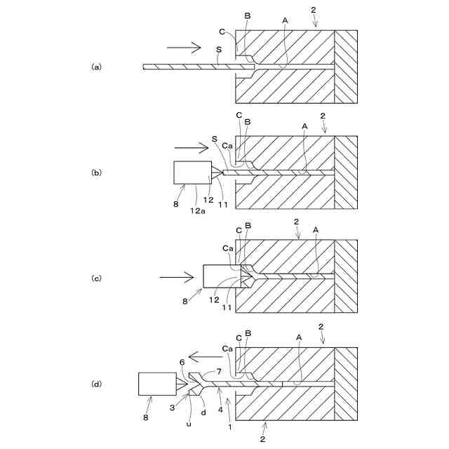
【解決手段】 木ねじは、頭部3と、頭部の下面に突設された軸部4とを有し、頭天3Aに十字穴6が形成され、頭部の下縁dと軸部4を繋ぐ顎部7が形成されている。顎部が頭部の下縁dと軸部とから中途へ次第に深くなる湾曲状凹面に形成され、頭部の外周面3Bが下縁dから上縁uまでストレート円に形成されている。木ねじ成形型は、軸挿入孔Aと顎成形座部Bとを有する。顎成形座部は中腹部が高くなる湾曲状突曲面が形成されており、前記顎成形座部の拡大側端部から入口外方向へ頭部の径外方向流動を規制する内周面Caを有する頭部外周壁部Cが突出形成されており、内周面は頭部の外周面3Bが下縁dから上縁uまでストレート円に形成するべくストレート円に形成されている。
【選択図】図1
特許請求の範囲
【請求項1】
頭部(3)と、頭部(3)の下面に突設された軸部(4)とを有し、頭天(3A)に十字穴(6)が形成され、頭部(3)の下縁(d)と軸部(4)とを繋ぐ顎部(7)が形成されている木ねじであって、
前記顎部(7)が頭部(3)の下縁(d)と軸部(4)とから中途へ次第に深くなる湾曲状凹面に形成され、
前記頭部(3)の外周面(3B)が下縁(d)から上縁(u)までストレート円に形成されていることを特徴とする木ねじ。
続きを表示(約 550 文字)
【請求項2】
頭部(3)及び軸部(4)は、ステンレス鋼、アルミ合金、チタン合金であることを特徴とする請求項1に記載の木ねじ。
【請求項3】
十字穴成形体(8)と同心に位置して棒素材(S)を挿入する軸挿入孔(A)と、この軸挿入孔(A)の入口で入口外方向へ末広がりの顎成形座部(B)とを有する木ねじ成形型であって、
前記顎成形座部(B)は中腹部が高くなる湾曲状突曲面が形成されており、
前記顎成形座部(B)の拡大側端部から入口外方向へ頭部(3)の径外方向流動を規制する内周面(Ca)を有する頭部外周壁部(C)が突出形成されており、この頭部外周壁部(C)の内周面(Ca)は頭部(3)の外周面(3B)が下縁(d)から上縁(u)までストレート円に形成するべくストレート円に形成されていることを特徴とする木ねじ成形型。
【請求項4】
前記十字穴成形体(8)には十字穴成形部(11)とこの十字穴成形部(11)の基部側に棒素材(S)の頭天(3A)に当接して押圧する頭天押圧部(12)とが形成されており、この頭天押圧部(12)の外周面(12a)は頭部外周壁部(C)の内周面(Ca)に嵌入するストレート円に形成されていることを特徴とする請求項3に記載の木ねじ成形型。
発明の詳細な説明
【技術分野】
【0001】
本発明は、木ねじ及び木ねじ成形型に関する。
続きを表示(約 1,300 文字)
【背景技術】
【0002】
木材を固定するネジとして、コーススレッド、ビス等と称される十字穴付き木ねじがJIS B1112に規定され、特許文献1にも開示されている。
【0003】
特許文献1の木ねじ構造は、「頭部及び軸を備えた、木ねじ構造であって、前記頭部には、下向きに延びた軸が一体成形され、前記軸は、胴部及び螺入部を有し、前記螺入部は、ねじ部及びカット部を有し、前記胴部の断面外径は、前記ねじ部及び前記カット部の断面底径より大きく、前記ねじ部の前端には、先端部が設けられ、前記ねじ部の底径周縁には、前記先端部から前記頭部に向かって螺入ねじが螺旋状に配置され、前記ねじ部は、前記カット部に接続され、前記カット部の底径表面には、切削ユニットが設けられ、前記カット部と前記頭部との間には、前記胴部が設けられ、前記カット部の前記切削ユニットの外径は、前記胴部の外径より小さいことを特徴とする。」
前記木ねじは、頭天に十字穴が形成され、頭部の下縁と軸とを繋ぐ顎部が円錐形に形成されている。そして、頭部の外周面が下縁から上縁までストレート円でなく、テーパ面等の外径が変化する形状になっている。
【0004】
前記木ねじの製造は、例えば図4に示すように、十字穴成形体23と同心に位置して棒素材を挿入する軸挿入孔22aと、この軸挿入孔22aの入口で入口外方向へ末広がりの円錐形顎成形座部22bとを有する木ねじ成形型22を用いる。
【0005】
軸挿入孔22aに寸切りの棒素材を挿入し、十字穴成形体23を押圧して棒素材を径外方向及び軸方向に流動させながら、軸挿入孔22aの入り口側の円錐形顎成形座部22bに押し付けて顎部を形成し、かつ円錐形顎成形座部22bの外側で棒素材を径外方向に流動させながら頭部21及び十字穴を形成している。
【0006】
この場合、頭部21に流れる材料は外周を規制するものがないので、外周面は中腹部膨らみの樽形となる。
【先行技術文献】
【特許文献】
【0007】
特開2021-17979号公報
【発明の概要】
【発明が解決しようとする課題】
【0008】
前記従来技術の木ねじは、頭部の下側に円錐形の顎部が形成されているので、ねじとして強度は高められるが、木材に打ち込んだときに、円錐形顎部が邪魔になることがある。また、製造する際に、円錐形顎成形座部に向かって多量の素材が流動するので、頭部外周へ至る素材の流動が少なくなり、頭部の外周部への過大拡張が生じ難く、外周部亀裂発生を抑制できるが、顎成形座部を素材が流動し難い形状にした場合に、頭部の外周過大拡張による亀裂発生を抑制し難いものとなる。
【0009】
本発明は、このような従来技術の問題点を解決できるようにした木ねじ及び木ねじ成形型を提供することを目的とする。
【0010】
本発明は、顎部を上方向に深くなる湾曲状凹面に形成しかつ頭部の外周面をストレート円に形成することにより、頭部に亀裂発生がなく、顎部が邪魔になることなく木材に打ち込める木ねじを提供することを目的とする。
(【0011】以降は省略されています)
この特許をJ-PlatPat(特許庁公式サイト)で参照する
関連特許
個人
留め具
1か月前
個人
鍋虫ねじ
3か月前
個人
回転伝達機構
4か月前
個人
紛体用仕切弁
3か月前
個人
差動歯車用歯形
5か月前
個人
ジョイント
2か月前
個人
給排気装置
2か月前
個人
ナット
2か月前
株式会社不二工機
電磁弁
6か月前
個人
ナット
1か月前
株式会社不二工機
電磁弁
5か月前
個人
地震の揺れ回避装置
4か月前
個人
ゲート弁バルブ
18日前
個人
吐出量監視装置
3か月前
カヤバ株式会社
ダンパ
5か月前
兼工業株式会社
バルブ
1か月前
カヤバ株式会社
緩衝器
5か月前
カヤバ株式会社
ダンパ
5か月前
カヤバ株式会社
緩衝器
2か月前
カヤバ株式会社
緩衝器
5か月前
柿沼金属精機株式会社
分岐管
3か月前
株式会社フジキン
ボールバルブ
6か月前
個人
固着具と固着具の固定方法
6か月前
株式会社三五
ドライブシャフト
1か月前
株式会社不二工機
電磁弁
3か月前
株式会社ニフコ
クリップ
2か月前
アズビル株式会社
回転弁
2か月前
株式会社タカギ
水栓装置
4か月前
株式会社奥村組
制振機構
2か月前
株式会社ノーリツ
分配弁
2か月前
株式会社ニフコ
クリップ
18日前
株式会社不二工機
電動弁
2か月前
竹内工業株式会社
ラッチ
3日前
株式会社奥村組
制振機構
2か月前
個人
固着具と固着具の固定方法
6か月前
個人
固着具と固着具の固定方法
6か月前
続きを見る
他の特許を見る