TOP
|
特許
|
意匠
|
商標
特許ウォッチ
Twitter
他の特許を見る
10個以上の画像は省略されています。
公開番号
2025159240
公報種別
公開特許公報(A)
公開日
2025-10-17
出願番号
2025139063,2023182377
出願日
2025-08-22,2023-10-24
発明の名称
作業装置
出願人
コスモ工機株式会社
代理人
創和国際特許事務所弁理士法人
主分類
F16L
55/00 20060101AFI20251009BHJP(機械要素または単位;機械または装置の効果的機能を生じ維持するための一般的手段)
要約
【課題】不断流状態において筐体の内部に種々の機能部を挿入して様々な作業を行うことができる作業装置を提供すること。
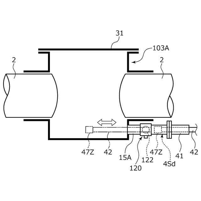
【解決手段】作業装置は、流体管2を密封状に外嵌する筐体103Aと、該筐体103A内と外部を連通する通路と、該通路を開閉可能なボール122を有する作業用ボールバルブ120と、該通路を通して筐体103A内に進入可能な機能部としての作業部材47Zと、を少なくとも有し、前記通路は、筐体103Aの内面にて開口しており、弁体よりも外側に位置する通路に、作業部材47Zが待機可能な密封状の収容部4Sdを有する。
【選択図】図16
特許請求の範囲
【請求項1】
流体管を密封状に外嵌する筐体と、該筐体内と外部を連通する通路と、該通路を開閉可能な弁体を有する弁と、該通路を通して前記筐体内に進入可能な機能部と、を少なくとも有する作業装置であって、
前記通路は、前記筐体の内面にて開口しており、
前記弁体よりも外側に位置する通路に、前記機能部が待機可能な密封状の収容部を有することを特徴とする作業装置。
続きを表示(約 430 文字)
【請求項2】
前記筐体内に向けて延び先端に前記機能部が着脱可能な延設部を有し、前記収容部は、前記延設部を進退可能に密封する密封部を有することを特徴とする請求項1に記載の作業装置。
【請求項3】
前記筐体内に向けて延び先端に前記機能部が着脱可能な延設部を有し、前記収容部は、前記延設部の先端及び前記機能部を密封状に収容可能に構成されていることを特徴とする請求項1に記載の作業装置。
【請求項4】
前記通路は、前記筐体の内側面にて開口していることを特徴とする請求項1に記載の作業装置。
【請求項5】
前記通路は、前記筐体の前記流体管よりも下方の内側面にて開口していることを特徴とする請求項1に記載の作業装置。
【請求項6】
前記弁は、前記弁体を回動可能に備える本体を有する開閉弁であり、前記収容部は、前記開閉弁の前記弁体よりも外側に形成されていることを特徴とする請求項1に記載の作業装置。
発明の詳細な説明
【技術分野】
【0001】
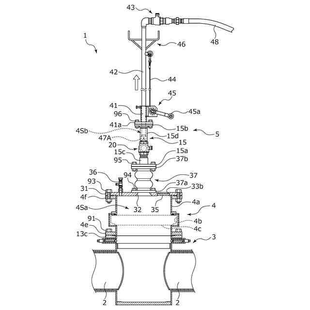
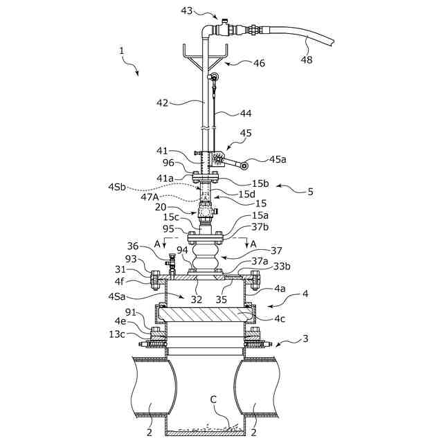
本発明は、流体管を密封状に外嵌する筐体と、該筐体内と外部を連通する通路と、該通路を開閉可能な弁体を有する弁と、該通路を通して前記筐体内に進入可能な機能部と、を少なくとも有する作業装置に関する。
続きを表示(約 1,600 文字)
【背景技術】
【0002】
従来、水やガス等が流れる既設の流路を他の流路と接続する作業等を行う場合において、例えば、既設流体管に対し筐体を密封状に取付け、該筐体の先端に、内部を開閉可能とする作業弁装置を取付けるとともに、該作業弁装置にカッタ及び駆動部を有する穿孔機を設置し、作業弁を開放した状態で駆動部によりカッタを進入させて、不断流状態で筐体内において流体管の一部を穿孔するものがある。
【0003】
このような穿孔機にて既設流体管の一部を穿孔した場合、作業弁装置の先端に取付けた穿孔機に替えて、穿孔の際に生じた切粉を排出するための排出管を有する切粉回収装置を取付けた後、作業弁を開放して排出管を作業弁装置及び筐体の内部に挿入し、内部に散在している切粉を下端に形成された吸引口から吸引して流体とともに外部に排出できるようにしたもの等がある(例えば、特許文献1参照)。
【先行技術文献】
【特許文献】
【0004】
実用新案登録2535896号(第2,3頁、第1~3図)
【発明の概要】
【発明が解決しようとする課題】
【0005】
上記特許文献1に記載の切粉回収装置にあっては、筐体の内部に挿入した排出管の吸引口から筐体の内部に散在した切粉を吸引するが、流体管の切断方式や管内流体の種類等の種々の条件によって、例えば、切粉が筐体内に広く散在したり、あるいはシート面など密封性の大きな影響を与える特定箇所や、筐体内の隅部など特定の箇所に集中して存在するなど、切粉が存在する態様は一様ではない場合がある。このような場合、切粉を吸引する作業のみならず、特定箇所の清掃や筐体内部の目視確認等、他の作業も行う必要が生じる。
【0006】
しかし、不断流状態において筐体の内部で実行可能な作業は、排出管により切粉を吸引により外部に排出するという1工程の作業に限られていることで、切粉の残存態様に応じた様々な作業を行うことができないという問題があった。
【0007】
本発明は、このような問題点に着目してなされたもので、不断流状態において筐体の内部に種々の機能部を挿入して様々な作業を行うことができる作業装置を提供することを目的とする。
【課題を解決するための手段】
【0008】
前記課題を解決するために、本発明の作業装置は、
流体管を密封状に外嵌する筐体と、該筐体内と外部を連通する通路と、該通路を開閉可能な弁体を有する弁と、該通路を通して前記筐体内に進入可能な機能部と、を少なくとも有する作業装置であって、
前記弁体よりも外側に位置する通路に、前記機能部が待機可能な密封状の収容部を有することを特徴としている。
この特徴によれば、弁の弁体よりも外側の収容部に機能部を収容して密封状態を保ったまま待機させ、この状態で通路を開放して筐体内に機能部を挿入することができるため、不断流状態で筐体の内部に種々の機能部を挿入して様々な作業を行うことができる。
【0009】
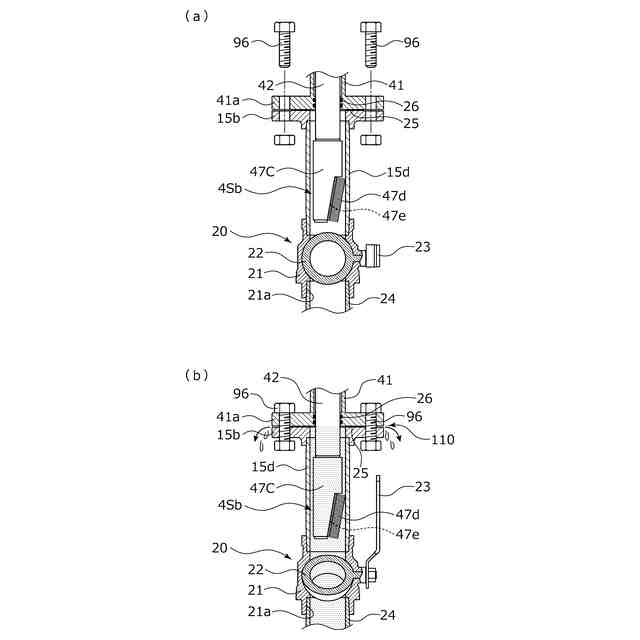
前記筐体内に向けて延び先端に前記機能部が着脱可能な延設部を有し、前記収容部は、前記延設部を進退可能に密封する密封部を有することを特徴としている。
この特徴によれば、進退移動する延設部と収容部との間からの流体の漏洩を防止することができる。
【0010】
前記筐体内に向けて延び先端に前記機能部が着脱可能な延設部を有し、前記収容部は、前記延設部の先端及び前記機能部を密封状に収容可能に構成されていることを特徴としている。
この特徴によれば、機能部とともに延設部の先端を収容部に密封状に収容することができるため、通路を開放したときに延設部を介して機能部を筐体内に挿入することができる。
(【0011】以降は省略されています)
この特許をJ-PlatPat(特許庁公式サイト)で参照する
関連特許
個人
留め具
8日前
個人
鍋虫ねじ
1か月前
個人
回転伝達機構
2か月前
個人
紛体用仕切弁
1か月前
個人
ホース保持具
6か月前
個人
差動歯車用歯形
3か月前
個人
トーションバー
6か月前
個人
給排気装置
15日前
個人
ジョイント
1か月前
個人
ナット
1か月前
個人
地震の揺れ回避装置
3か月前
株式会社不二工機
電磁弁
3か月前
個人
ボルトナットセット
7か月前
株式会社不二工機
電磁弁
5か月前
個人
吐出量監視装置
1か月前
カヤバ株式会社
緩衝器
14日前
株式会社三協丸筒
枠体
6か月前
カヤバ株式会社
緩衝器
3か月前
カヤバ株式会社
ダンパ
4か月前
カヤバ株式会社
緩衝器
3か月前
柿沼金属精機株式会社
分岐管
2か月前
カヤバ株式会社
ダンパ
4か月前
株式会社タカギ
水栓装置
2か月前
株式会社不二工機
電磁弁
1か月前
株式会社三五
ドライブシャフト
今日
株式会社奥村組
制振機構
23日前
株式会社奥村組
制振機構
23日前
個人
固着具と固着具の固定方法
6か月前
株式会社フジキン
ボールバルブ
4か月前
株式会社ノーリツ
分配弁
5か月前
株式会社ノーリツ
分配弁
5か月前
個人
固着具と固着具の固定方法
5か月前
株式会社不二工機
電動弁
6か月前
株式会社不二工機
電動弁
15日前
個人
固着具と固着具の固定方法
5か月前
株式会社ノーリツ
分配弁
5か月前
続きを見る
他の特許を見る