TOP
|
特許
|
意匠
|
商標
特許ウォッチ
Twitter
他の特許を見る
公開番号
2025158042
公報種別
公開特許公報(A)
公開日
2025-10-16
出願番号
2024060488
出願日
2024-04-03
発明の名称
電池及びその製造方法
出願人
トヨタ自動車株式会社
代理人
弁理士法人太陽国際特許事務所
主分類
H01M
10/04 20060101AFI20251008BHJP(基本的電気素子)
要約
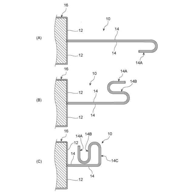
【課題】外装体の周縁部の先端部である最初の折曲部の折曲長を長く採れる電池と、その製造方法を得る。
【解決手段】電極体を内部に収容し、重なり合う周縁部14が熱溶着によって接合されるとともに折り曲げられる外装体12を備えた電池10及びその製造方法であって、周縁部14は、その先端部が一方向に180度折り曲げられた後、一方向とは反対方向に180度折り曲げられ、更に一方向とは反対方向へ90度折り曲げられている。
【選択図】図2
特許請求の範囲
【請求項1】
電極体を内部に収容し、重なり合う周縁部が熱溶着によって接合されるとともに折り曲げられる外装体を備え、
前記周縁部は、その先端部が一方向に180度折り曲げられた後、前記一方向とは反対方向に180度折り曲げられ、更に前記反対方向へ90度折り曲げられている電池。
続きを表示(約 300 文字)
【請求項2】
折り曲げられた前記周縁部は、前記電極体を内部に収容した収容部の厚み方向外側へはみ出ていない請求項1に記載の電池。
【請求項3】
電極体を内部に収容した外装体の重なり合う周縁部を熱溶着によって接合する接合工程と、
前記周縁部の先端部を一方向に180度折り曲げた後、前記一方向とは反対方向に180度折り曲げ、更に前記反対方向へ90度折り曲げる折曲工程と、
を有する電池の製造方法。
【請求項4】
前記折曲工程において、前記周縁部は、前記電極体を内部に収容した収容部の厚み方向外側へはみ出ないように折り曲げられる請求項3に記載の電池の製造方法。
発明の詳細な説明
【技術分野】
【0001】
本発明は、電池及びその製造方法に関する。
続きを表示(約 1,300 文字)
【背景技術】
【0002】
ラミネート型電池の外装体であるラミネートフィルムの熱溶着した周縁部を折り曲げる電池の製造方法は、従来から知られている(例えば、特許文献1参照)。
【先行技術文献】
【特許文献】
【0003】
特開2023-148454号公報
【発明の概要】
【発明が解決しようとする課題】
【0004】
ところで、ラミネートフィルム(外装体)の熱溶着された周縁部を一方向に折り曲げる際、その先端部である最初の折曲部は、後の折曲量(内側への巻込量)を想定して折曲長を長く採ることができない。すなわち、最初の折曲部の折曲長を長く採ると、最終的に折り曲げられた周縁部が電池本体の厚み方向外側へはみ出るおそれがあるし、電池本体の厚み方向外側へはみ出ないように折り曲げると、先に折り曲げられた部分が歪んでしまうおそれがある。
【0005】
しかしながら、電池本体内のガスの透過性低減の観点からは、最初の折曲部の折曲長を長く採りたい。このように、電池本体の厚み方向外側へはみ出ないようにする限られたスペースでありながら、周縁部の最初の折曲部の折曲長を長く採り、ガスの透過性を低減させる構造には、未だ改善の余地がある。
【0006】
そこで、本発明は、外装体の周縁部の先端部である最初の折曲部の折曲長を長く採れる電池と、その製造方法を得ることを目的とする。
【課題を解決するための手段】
【0007】
上記の目的を達成するために、本発明に係る第1の態様の電池は、電極体を内部に収容し、重なり合う周縁部が熱溶着によって接合されるとともに折り曲げられる外装体を備え、前記周縁部は、その先端部が一方向に180度折り曲げられた後、前記一方向とは反対方向に180度折り曲げられ、更に前記反対方向へ90度折り曲げられている。
【0008】
第1の態様の発明によれば、電極体を内部に収容した外装体は、重なり合う周縁部が熱溶着によって接合されるとともに折り曲げられている。この周縁部は、その先端部が一方向に180度折り曲げられた後、その一方向とは反対方向に180度折り曲げられ、更に、その一方向とは反対方向へ90度折り曲げられている。つまり、外装体の周縁部の先端部である最初の折曲部は、内側に巻き込まれる構成になっていない。したがって、外装体の周縁部の先端部である最初の折曲部の折曲長を長く採れる。なお、本発明における「180度」及び「90度」には、「略180度」及び「略90度」も含まれる。
【0009】
また、本発明に係る第2の態様の電池は、第1の態様の電池であって、折り曲げられた前記周縁部は、前記電極体を内部に収容した収容部の厚み方向外側へはみ出ていない。
【0010】
第2の態様の発明によれば、周縁部が、電極体を内部に収容した収容部の厚み方向外側へはみ出ていない。したがって、複数の電池が厚み方向に並べられて収容されるときに、精度よく並べられる。
(【0011】以降は省略されています)
この特許をJ-PlatPat(特許庁公式サイト)で参照する
関連特許
トヨタ自動車株式会社
車両
11日前
トヨタ自動車株式会社
車両
5日前
トヨタ自動車株式会社
車体
4日前
トヨタ自動車株式会社
車両
4日前
トヨタ自動車株式会社
車両
4日前
トヨタ自動車株式会社
電池
5日前
トヨタ自動車株式会社
方法
4日前
トヨタ自動車株式会社
治具
12日前
トヨタ自動車株式会社
車両
11日前
トヨタ自動車株式会社
蓄電池
4日前
トヨタ自動車株式会社
モータ
3日前
トヨタ自動車株式会社
路側装置
3日前
トヨタ自動車株式会社
電動車両
4日前
トヨタ自動車株式会社
路側装置
3日前
トヨタ自動車株式会社
路側装置
3日前
トヨタ自動車株式会社
路側装置
3日前
トヨタ自動車株式会社
蓄電装置
11日前
トヨタ自動車株式会社
制御装置
3日前
トヨタ自動車株式会社
電動車両
3日前
トヨタ自動車株式会社
電動車両
3日前
トヨタ自動車株式会社
推定装置
3日前
トヨタ自動車株式会社
蓄電装置
11日前
トヨタ自動車株式会社
電池装置
13日前
トヨタ自動車株式会社
鋳造装置
3日前
トヨタ自動車株式会社
濾過装置
5日前
トヨタ自動車株式会社
蓄電装置
12日前
トヨタ自動車株式会社
樹脂外板
4日前
トヨタ自動車株式会社
電源装置
12日前
トヨタ自動車株式会社
蓄電装置
11日前
トヨタ自動車株式会社
蓄電装置
3日前
トヨタ自動車株式会社
制御装置
3日前
トヨタ自動車株式会社
電池パック
11日前
トヨタ自動車株式会社
電池パック
4日前
トヨタ自動車株式会社
全固体電池
11日前
トヨタ自動車株式会社
サーバ装置
11日前
トヨタ自動車株式会社
電力システム
11日前
続きを見る
他の特許を見る