TOP
|
特許
|
意匠
|
商標
特許ウォッチ
Twitter
他の特許を見る
公開番号
2025157924
公報種別
公開特許公報(A)
公開日
2025-10-16
出願番号
2024060281
出願日
2024-04-03
発明の名称
植物組織採取装置および採取方法
出願人
トヨタ自動車株式会社
代理人
個人
主分類
G01N
1/04 20060101AFI20251008BHJP(測定;試験)
要約
【課題】大容量のサンプルを採取するとともにサンプルの不活性化にかかる時間を短縮する。
【解決手段】上側支持部21と、上側支持部21に対向して配され、孔部22cを有する下側支持部22と、上側支持部21の下面に設けられ、サンプルを切り出す刃部32を有する刃付き蓋部12と、下側支持部22の孔部22cの下方に設けられ、刃部32により切り出されたサンプルが容器部本体41の上部の投入部42を介して容器部本体41内に投入されるサンプル容器部13と、冷却体52が充填され、サンプル容器部13を格納する冷却タンク部14と、を備え、前記容器部本体41は、冷却タンク部14からの冷却体52が通過可能である容器孔部43を有し、刃付き蓋部12は、刃部32によりサンプルを切り出し、容器部本体41にサンプルが投入された際に、容器部本体41の投入部42と嵌合して塞ぐとともに、容器孔部43を塞ぐ。
【選択図】図1
特許請求の範囲
【請求項1】
平板状の上側支持部と、
平板状で、前記上側支持部の下方で前記上側支持部に対向して配されているとともに、孔部を有する下側支持部と、
サンプルの採取前において前記上側支持部の下面に設けられており、採取対象からサンプルを切り出す刃部を有する刃付き蓋部と、
前記下側支持部の前記孔部の下方に設けられ、前記上側支持部と前記下側支持部を近接させた際に前記刃付き蓋部の前記刃部により切り出されたサンプルが、容器部本体の上部に設けられた投入部を介して、容器部本体内に投入されるサンプル容器部と、
冷却体が充填されるとともに、前記サンプル容器部を取り外し可能な状態で格納する冷却タンク部と、を備え、
前記サンプル容器部の前記容器部本体は、
前記冷却タンク部からの冷却体が通過可能である容器孔部を有し、
前記刃付き蓋部は、
前記刃部により前記サンプルを切り出して、前記冷却タンク部から前記冷却体が充填済みの前記容器部本体にサンプルが投入された際に、前記上側支持部から外れて前記容器部本体の前記投入部と嵌合して塞ぐとともに、前記容器孔部を塞ぐ、
植物組織採取装置。
続きを表示(約 860 文字)
【請求項2】
前記上側支持部は、
所定の方向に延在する平板状であって、延在方向における両端部である第1の端部と第3の端部を有し、
前記下側支持部は、
所定の方向に延在する平板状であって、延在方向における両端部である第2の端部と第4の端部を有し、
前記上側支持部の前記第1の端部と、前記下側支持部の前記第2の端部はヒンジで連結されており、
前記上側支持部の前記第3の端部と、前記下側支持部の前記第4の端部は互いに対抗して配されており、
前記刃付き蓋部は、
サンプルの採取前において、前記上側支持部の前記第3の端部の下面に配されており、
前記下側支持部の前記第4の端部には、
前記上側支持部と前記下側支持部が近接して、前記刃付き蓋部の前記刃部により前記サンプルの切り出しが行われる際に、前記刃部が貫通するとともに、切り出されたサンプルが下方に配された前記サンプル容器部に向けて通過可能である、
請求項1に記載の植物組織採取装置。
【請求項3】
前記刃部は、
円筒形状に形成された刃である、
請求項2に記載の植物組織採取装置。
【請求項4】
前記刃部は、
前記容器部本体内に配された状態において、前記容器部本体の前記容器孔部を塞ぐ突起状の栓部を有する、
請求項3に記載の植物組織採取装置。
【請求項5】
冷却タンク部に冷却体を充填する工程と、
前記冷却タンク部内にサンプル容器部を固定して、前記冷却タンク部から前記サンプル容器部内に前記冷却体を挿入する工程と、
刃付き蓋部と前記サンプル容器部の間に採取対象を配置する工程と、
前記採取対象から、サンプルを切り出す工程と、
前記切り出されたサンプルが前記サンプル容器部に投入された際に、前記刃付き蓋部により前記サンプル容器部を密閉する工程と、を備える、
採取方法。
発明の詳細な説明
【技術分野】
【0001】
本開示は、植物組織採取装置および採取方法に関する。
続きを表示(約 1,900 文字)
【背景技術】
【0002】
自然環境に関する研究や調査等を行う際に、植物の組織片を採取することが一般的に行われている。特許文献1には、植物組織の切片を採取する方法において、第1のゲル層をニードルに挿入し、第2のゲル層の上に植物組織を配置し、第2のゲル層とともに前記植物組織に前記ニードルを貫通させて、ニードルに植物組織の切片を採取する工程を含むことを特徴とする植物組織切片の採取方法が開示されている。
【先行技術文献】
【特許文献】
【0003】
国際公開第2013/125141号
【発明の概要】
【発明が解決しようとする課題】
【0004】
しかしながら、特許文献1に開示された植物組織切片の採取方法では、ニードルによるサンプルの採取と、採取したサンプルを液的に移し液体窒素につける2つの工程が発生しているため、サンプルの不活性化に時間がかかる。また、採取方法がニードルによる採取のため、ごく微量のサンプルしか採取できないことがある。さらに、サンプルをゲル状に固定する場合、ゲルの準備などの準備物が多く、フィールドでの使用に向かない場合があった。
【0005】
本開示は、大容量のサンプルを採取するとともにサンプルの不活性化にかかる時間を短縮した植物組織採取装置および採取方法を提供するものである。
【課題を解決するための手段】
【0006】
本開示にかかる植物組織採取装置は、平板状の上側支持部と、平板状で、前記上側支持部の下方で前記上側支持部に対向して配されているとともに、孔部を有する下側支持部と、サンプルの採取前において前記上側支持部の下面に設けられており、採取対象からサンプルを切り出す刃部を有する刃付き蓋部と、前記下側支持部の前記孔部の下方に設けられ、前記上側支持部と前記下側支持部を近接させた際に前記刃付き蓋部の前記刃部により切り出されたサンプルが、容器部本体の上部に設けられた投入部を介して、容器部本体内に投入されるサンプル容器部と、冷却体が充填されるとともに、前記サンプル容器部を取り外し可能な状態で格納する冷却タンク部と、を備え、前記サンプル容器部の前記容器部本体は、前記冷却タンク部からの冷却体が通過可能である容器孔部を有し、前記刃付き蓋部は、前記刃部により前記サンプルを切り出して、前記冷却タンク部から前記冷却体が充填済みの前記容器部本体にサンプルが投入された際に、前記上側支持部から外れて前記容器部本体の前記投入部と嵌合して塞ぐとともに、前記容器孔部を塞ぐ。
これにより、採取容器を冷却させつつ、ワンステップでサンプルを切り出すことができる。
【0007】
本開示にかかる採取方法は、冷却タンク部に冷却体を充填する工程と、前記冷却タンク部内にサンプル容器部を固定して、前記冷却タンク部から前記サンプル容器内に前記冷却体を挿入する工程と、刃付き蓋部と前記サンプル容器部の間に採取対象を配置する工程と、前記採取対象から、サンプルを切り出す工程と、前記切り出されたサンプルが前記サンプル容器部に投入された際に、前記刃付き蓋部により前記サンプル容器部を密閉する工程と、を備える。
これにより、採取容器を冷却させつつ、ワンステップでサンプルを切り出すことができる。
【発明の効果】
【0008】
本開示よれば、大容量のサンプルを採取するとともにサンプルの不活性化にかかる時間を短縮した植物組織採取装置および採取方法を提供することができる。
【図面の簡単な説明】
【0009】
実施の形態1にかかる植物組織採取装置の構成を示す図である。
実施の形態1にかかる刃付き蓋部の図である。
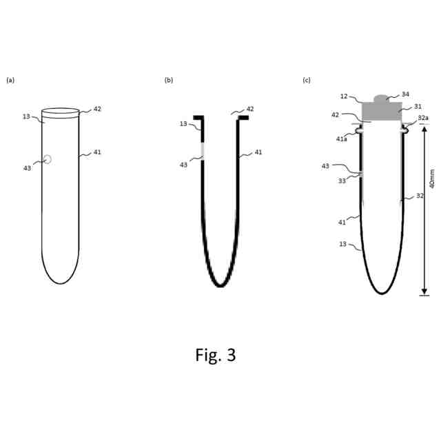
実施の形態1にかかるサンプル容器部を示す図である。
実施の形態1にかかる冷却タンク部を示す図である。
実施の形態1にかかる植物組織採取装置の動作を示す図である。
【発明を実施するための形態】
【0010】
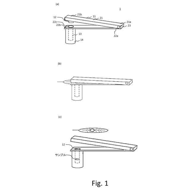
実施の形態1
以下、図面を参照して本実施の形態に係る植物組織採取装置1について説明する。図1(a)は、植物組織採取装置1の構成の例を示した図である。植物組織採取装置1は、支持部11と、刃付き蓋部12と、サンプル容器部13と、冷却タンク部14と、を備える。なお、図1(a)~(c)は植物組織採取装置1の動作例を示した図であり、図1(a)は採取前、図1(b)は採取中、図1(c)は採取後の状態の一例を示している。
(【0011】以降は省略されています)
この特許をJ-PlatPat(特許庁公式サイト)で参照する
関連特許
トヨタ自動車株式会社
椅子
1か月前
トヨタ自動車株式会社
方法
23日前
トヨタ自動車株式会社
車体
25日前
トヨタ自動車株式会社
車両
1か月前
トヨタ自動車株式会社
方法
24日前
トヨタ自動車株式会社
方法
9日前
トヨタ自動車株式会社
車体
9日前
トヨタ自動車株式会社
車両
23日前
トヨタ自動車株式会社
方法
23日前
トヨタ自動車株式会社
車両
9日前
トヨタ自動車株式会社
車両
22日前
トヨタ自動車株式会社
車両
29日前
トヨタ自動車株式会社
車両
9日前
トヨタ自動車株式会社
電池
10日前
トヨタ自動車株式会社
電池
22日前
トヨタ自動車株式会社
車両
10日前
トヨタ自動車株式会社
方法
22日前
トヨタ自動車株式会社
車両
18日前
トヨタ自動車株式会社
治具
17日前
トヨタ自動車株式会社
車両
16日前
トヨタ自動車株式会社
車両
16日前
トヨタ自動車株式会社
電池
29日前
トヨタ自動車株式会社
車両
24日前
トヨタ自動車株式会社
方法
1か月前
トヨタ自動車株式会社
方法
1か月前
トヨタ自動車株式会社
電池
1日前
トヨタ自動車株式会社
車両
1か月前
トヨタ自動車株式会社
飛行体
29日前
トヨタ自動車株式会社
蓄電池
9日前
トヨタ自動車株式会社
正極層
22日前
トヨタ自動車株式会社
モータ
19日前
トヨタ自動車株式会社
電動車
1か月前
トヨタ自動車株式会社
サーバ
19日前
トヨタ自動車株式会社
自動車
23日前
トヨタ自動車株式会社
電動機
22日前
トヨタ自動車株式会社
モータ
1か月前
続きを見る
他の特許を見る