TOP
|
特許
|
意匠
|
商標
特許ウォッチ
Twitter
他の特許を見る
10個以上の画像は省略されています。
公開番号
2025157835
公報種別
公開特許公報(A)
公開日
2025-10-16
出願番号
2024060108
出願日
2024-04-03
発明の名称
異種金属接合体及びその製造方法
出願人
株式会社神戸製鋼所
代理人
弁理士法人栄光事務所
主分類
B32B
15/01 20060101AFI20251008BHJP(積層体)
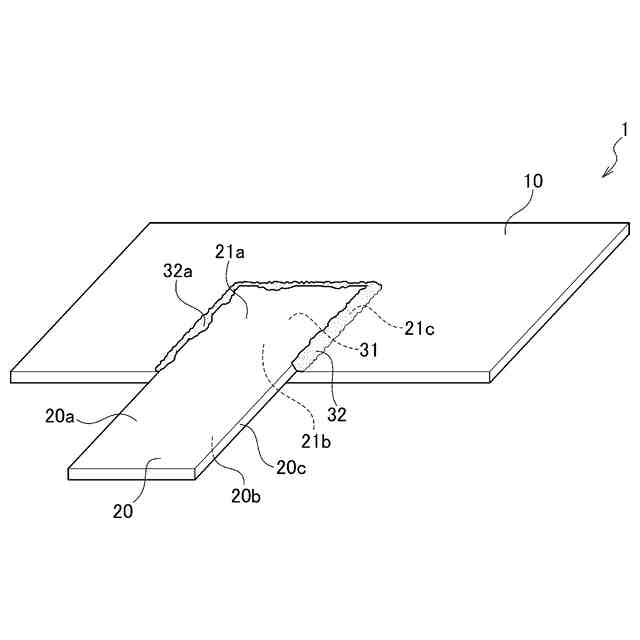
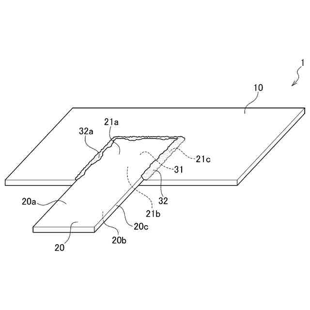
要約
【課題】アルミニウム合金板と表面処理鋼板とが接合された異種金属接合体であって、複数のシール剤や接着剤を使用することなく、簡単な構造で優れた接合強度を有するとともに、接合部における電位差腐食を防止することができる異種金属接合体を提供する。
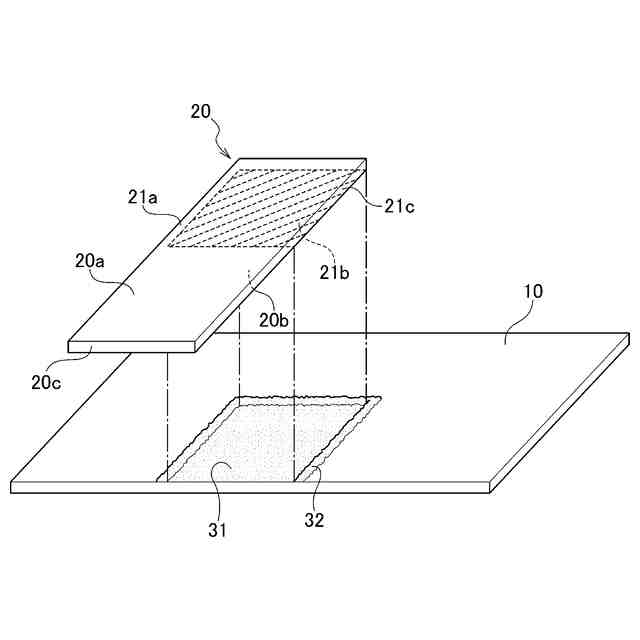
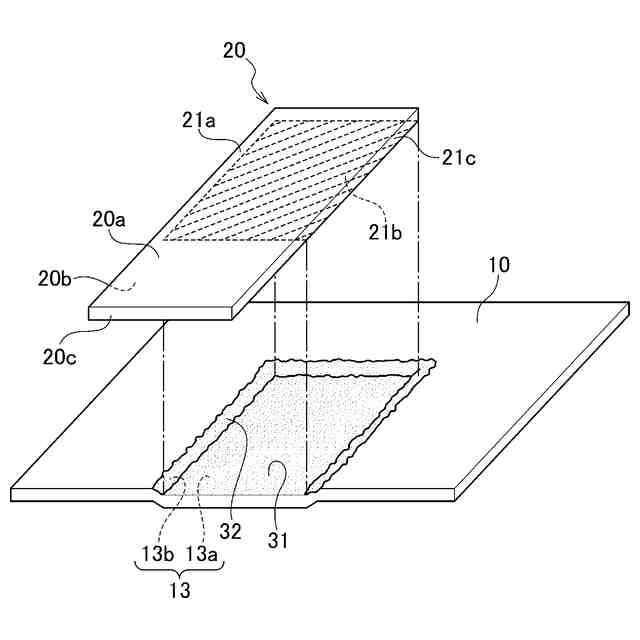
【解決手段】異種金属接合体1は、アルミニウム合金板10と、表面処理鋼板20と、両者を接合する接着剤31、32と、を有する。表面処理鋼板20は、一方の主面20bにおけるアルミニウム合金板10に対向する第1主面領域21bと、他方の主面20aにおける第1主面領域21bに対向する第2主面領域21aと、第1主面領域21bと第2主面領域21aとを連結する端面領域21cと、を有する。接着剤31、32は、アルミニウム合金板10と表面処理鋼板20の第1主面領域21bとの間の少なくとも一部に存在するとともに、端面領域21cの全てを被覆している。
【選択図】図4
特許請求の範囲
【請求項1】
アルミニウム合金板と、前記アルミニウム合金板の厚さ方向に直交する面上に配置された表面処理鋼板と、前記アルミニウム合金板と前記表面処理鋼板とを接合する接着剤と、を有する異種金属接合体であって、
前記表面処理鋼板は、一対の主面と、前記一対の主面を連結する端面と、を有するとともに、一方の主面における前記アルミニウム合金板に対向する第1主面領域と、他方の主面における前記第1主面領域に対向する第2主面領域と、前記第1主面領域と前記第2主面領域とを連結する端面領域と、を有し、
前記接着剤は、前記アルミニウム合金板と前記表面処理鋼板の前記第1主面領域との間の少なくとも一部に存在するとともに、前記端面領域の全てを被覆していることを特徴とする、異種金属接合体。
続きを表示(約 1,400 文字)
【請求項2】
前記接着剤は、エポキシ樹脂を含むことを特徴とする、請求項1に記載の異種金属接合体。
【請求項3】
前記接着剤は、前記端面領域から連続して前記第2主面領域の一部を被覆していることを特徴とする、請求項1に記載の異種金属接合体。
【請求項4】
前記アルミニウム合金板における前記表面処理鋼板の第1主面領域に対向する接合領域は、前記第1主面領域に沿った表面形状を有することを特徴とする、請求項1に記載の異種金属接合体。
【請求項5】
前記アルミニウム合金板は、前記表面処理鋼板の前記第1主面領域の形状に沿った窪みを有し、
前記窪みは、底面部と、前記底面部から立ち上がる壁部と、を有し、
前記接着剤は、前記表面処理鋼板における前記端面領域と前記壁部との間に充填されていることを特徴とする、請求項1に記載の異種金属接合体。
【請求項6】
前記窪みの深さは、前記表面処理鋼板の板厚よりも大きいことを特徴とする、請求項5に記載の異種金属接合体。
【請求項7】
請求項1~6のいずれか1項に記載の異種金属接合体の製造方法であって、
前記アルミニウム合金板における前記表面処理鋼板を接合する領域である接合予定領域と、前記接合予定領域の周縁の周縁部と、を設定し、
前記接合予定領域の少なくとも一部に前記接着剤を配置するとともに、前記周縁部に、前記接合予定領域に配置した前記接着剤の高さよりも高くなるように、前記接着剤を配置する接着剤配置工程と、
前記接合予定領域と前記第1主面領域とが対向するように、前記アルミニウム合金板と前記表面処理鋼板とを重ね合わせて両者を接合する接合工程と、を有し、
前記接合工程において、前記周縁部に配置した前記接着剤が前記表面処理鋼板における全ての前記端面領域を覆うように、前記表面処理鋼板と前記アルミニウム合金板とを重ね合わせることを特徴とする、異種金属接合体の製造方法。
【請求項8】
前記接合工程において、前記周縁部に配置した前記接着剤が前記端面領域から連続して前記第2主面領域の一部を被覆するように、前記表面処理鋼板と前記アルミニウム合金板とを重ね合わせることを特徴とする、請求項7に記載の異種金属接合体の製造方法。
【請求項9】
前記アルミニウム合金板における前記接合予定領域は、前記表面処理鋼板における前記第1主面領域に沿った表面形状を有し、
前記接合工程において、前記アルミニウム合金板における前記接合予定領域と、前記表面処理鋼板における前記第1主面領域とを、前記接着剤を介して密着させることを特徴とする、請求項7に記載の異種金属接合体の製造方法。
【請求項10】
前記接着剤配置工程の前に、前記アルミニウム合金板に、前記表面処理鋼板の前記第1主面領域の形状に沿った窪みを形成する加工工程を有し、
前記接着剤配置工程において、前記窪みの内部における前記接合予定領域の少なくとも一部、及び前記接合予定領域の前記周縁部に前記接着剤を配置し、
前記接合工程において、前記接着剤が、前記表面処理鋼板における前記端面領域と前記窪みを構成する壁部との間に充填されるように、前記表面処理鋼板と前記アルミニウム合金板とを重ね合わせることを特徴とする、請求項7に記載の異種金属接合体の製造方法。
(【請求項11】以降は省略されています)
発明の詳細な説明
【技術分野】
【0001】
本発明は、簡単な構造で高強度に接合され、電位差腐食を防止することができる異種金属接合体、及び該異種金属接合体を容易に製造することができる異種金属接合体の製造方法に関する。
続きを表示(約 2,100 文字)
【背景技術】
【0002】
自動車を代表とする輸送機器には、地球温暖化問題等の深刻化を背景として、(a)有限資源である石油燃料消費、(b)燃焼に伴って発生する地球温暖化ガスであるCO
2
、(c)走行コストといった各種の抑制を目的として、走行燃費の向上が常に求められている。燃費を改善する手段としては、電気駆動の利用など動力系技術の改善の他に、車体重量の軽量化が有効であることが知られている。また、従来より、車両における乗員の安全性向上が求められており、例えば、衝突に対して必要な強度を確保することができる車体の開発が要求される。
【0003】
車体重量を軽量化する手段としては、現在の主要材料となっている鋼を、軽量素材であるアルミニウム又はアルミニウム合金、マグネシウム又はマグネシウム合金、炭素繊維などに置換する手段がある。しかし、全てをこれら軽量素材に置換するには、高コスト化や強度不足になる、といった課題があり、解決策として鋼と軽量素材を適材適所に組み合わせた、いわゆるマルチマテリアルと呼ばれる設計手法が注目を浴びている。以下、アルミニウム又はアルミニウム合金を、単に、アルミニウム合金ということがある。
【0004】
ところで、鋼材と上記軽量素材を組み合わせて接合した場合に、異種金属の接触領域に、ガルバニック腐食と呼ばれる腐食が発生することが知られている。例えば、自然電位が低いアルミニウム合金材と、自然電位が高い鋼材とを水中で接触させると、腐食回路が形成され、アルミニウム合金材に腐食が発生する。この腐食回路は、アルミニウム合金と鋼とを通電させる媒体、すなわち、水が存在することにより形成される。
【0005】
このような腐食の発生を防止する方法として、鋼板におけるアルミニウム合金材と接する面に、表面処理を施す方法が挙げられる。例えば、特許文献1には、接着剤を併用する機械的接合法により接合された耐食性および接合強度に優れた異種金属接合継手および異種金属の接合方法が提案されている。上記特許文献1に記載の異種金属接合継手は、亜鉛系めっき鋼板と、アルミニウム合金板と、これらの間の少なくとも一部に配置された接着剤層と、これらの積層部を機械的接合してなる接合部とを有し、接着剤層の成分が規定されている。
【0006】
また、腐食を防止する方法としては、接合部に対して水が浸入することを防止する方法も挙げられる。特許文献2には、継手重量の増加や、新たな設備投資によるコストの増加を招くことなく、シール剤による耐食性の確保と、シール剤の残存による継手強度低下の防止とを両立することができる異種金属の接合方法が開示されている。上記異種金属の接合方法は、接合部の近傍位置に熱硬化性樹脂から成るシール剤を塗布した状態で重ね合わせた異種金属材料に、高エネルギービームを照射して両材料を重ね接合する方法である。具体的には、高エネルギービームを照射する際に、シール剤の接合部に最も近い側の端部直上位置にダイオードレーザビームを照射し、シール剤を部分的に硬化させた後に、レーザビームを接合部に照射して、鋼板とアルミニウム合金板とを接合する。
【0007】
しかし、上記特許文献1に示すように、表面処理を施した表面処理鋼板を使用した場合や、特許文献2に示すように、接合部に水分が侵入することを防止する方法を使用した場合であっても、表面処理鋼板の切断面の近傍でアルミニウム合金材と接合する際には、鋼板の端面において鉄素地が露出する。露出した切断面(加工端面)は、追加で表面処理を施すことが難しいため、一般的に、シーリング剤のような低強度で水密性の高い接着剤が、切断面の防食用途として使用される。
【0008】
例えば、特許文献3には、新しい部品や特殊なシール剤を用いることなしに、シール剤の硬化速度を改善し、生産性を改善する構造の提示と、シール剤の塗布形状を変更することで、シール強度改善を図りつつ、耐水、耐塩水腐食性を改善する方法が開示されている。
【0009】
さらに、特許文献4には、繊維強化樹脂製のリヤフロアパンを金属製のフレームに対して接合させる車両下部構造において、電位差腐食を抑制する車両下部構造が提案されている。上記特許文献4には、フレームの上面の内側端部からフレームの内側端面、そしてフレームの下面の内側端部まで接着剤が連続的に覆っているため、防錆処理等の表面処理を完全に施すことが困難なフレームの内側端面が外部に露出されることが防止されることが記載されている。
【先行技術文献】
【特許文献】
【0010】
特許第6393592号公報
特開2009-39720号公報
特開2011-3682号公報
特開2018-16109号公報
【発明の概要】
【発明が解決しようとする課題】
(【0011】以降は省略されています)
この特許をJ-PlatPat(特許庁公式サイト)で参照する
関連特許
株式会社神戸製鋼所
銅合金
24日前
株式会社神戸製鋼所
混練機
1か月前
株式会社神戸製鋼所
混練装置
1か月前
株式会社神戸製鋼所
接点材料
22日前
株式会社神戸製鋼所
混合装置
1か月前
株式会社神戸製鋼所
混合装置
1か月前
株式会社神戸製鋼所
混練装置
1か月前
株式会社神戸製鋼所
ボルト用鋼
1か月前
株式会社神戸製鋼所
浸炭窒化鋼材
1か月前
株式会社神戸製鋼所
出湯用スリーブ
9日前
株式会社神戸製鋼所
熱交換システム
22日前
株式会社神戸製鋼所
圧縮機ユニット
1か月前
株式会社神戸製鋼所
焼結鉱の製造方法
1か月前
株式会社神戸製鋼所
再生ゴム製造方法
9日前
株式会社神戸製鋼所
ステッピングモータ
1か月前
株式会社神戸製鋼所
スラグ流出予兆検知方法
1か月前
株式会社神戸製鋼所
アルミニウム合金押出材
1か月前
株式会社神戸製鋼所
微小構造物及びその製造方法
3日前
株式会社神戸製鋼所
異種金属接合体及びその製造方法
1か月前
株式会社神戸製鋼所
熱延鋼板の製造方法および熱延鋼板
1か月前
株式会社神戸製鋼所
溶接金属、溶接継手及び溶接構造物
1か月前
株式会社神戸製鋼所
チタン板およびチタン板の製造方法
1か月前
株式会社神戸製鋼所
水素供給システムおよび水素供給方法
1か月前
株式会社神戸製鋼所
冷間加工用機械構造用鋼線とその製造方法
1か月前
株式会社神戸製鋼所
ペールパック用押え板、及びペールパック
1か月前
株式会社神戸製鋼所
カップリング組付用治具及び治具付き押出機
1か月前
株式会社神戸製鋼所
密閉型混練機及び密閉型混練機用混練ロータ
9日前
株式会社神戸製鋼所
移動機械システムおよび移動機械の運用方法
1か月前
株式会社神戸製鋼所
アルミニウム合金熱間鍛造材及びその製造方法
1か月前
株式会社神戸製鋼所
多孔質炭素の製造方法および二酸化炭素分離方法
1か月前
株式会社神戸製鋼所
形状解析システム、形状解析方法、及びプログラム
1か月前
株式会社神戸製鋼所
ギアボックスの製造方法並びに回転機械の製造方法
1か月前
株式会社神戸製鋼所
非調質鍛造用鋼、非調質鍛造鋼および非調質鍛造部品
1か月前
株式会社神戸製鋼所
制御方法、溶接電源、溶接システム及び制御プログラム
1か月前
株式会社神戸製鋼所
ガス供給システム改良方法及びガス供給システム改良装置
1か月前
株式会社神戸製鋼所
二次精錬条件および連続鋳造条件の決定方法と鋼の製造方法
1か月前
続きを見る
他の特許を見る