TOP
|
特許
|
意匠
|
商標
特許ウォッチ
Twitter
他の特許を見る
10個以上の画像は省略されています。
公開番号
2025157777
公報種別
公開特許公報(A)
公開日
2025-10-16
出願番号
2024060006
出願日
2024-04-03
発明の名称
光学部材、撮像装置及び宇宙航行体
出願人
キヤノン電子株式会社
代理人
主分類
G02B
1/118 20150101AFI20251008BHJP(光学)
要約
【課題】低反射処理では波長700nm以上の領域において、黒色の多孔質層における光の吸収が弱まるため、波長400~700nmの領域に比べて、反射率が増加する傾向にある。そのため、近赤外域の波長域まで感度を持つセンサを使用する場合には、迷光が発生する恐れがある。
【解決手段】アルミニウム又はアルミニウム合金の基材と、前記基材の上に設けられ、黒色の多孔質の酸化アルミニウムの第1層と、前記第1層上に設けられ、複数の突起部を有する酸化アルミニウムの第2層と、前記第2層上に設けられ、ニッケル又はニッケル合金の第3層と、を備えることを特徴とする
【選択図】図5
特許請求の範囲
【請求項1】
アルミニウム又はアルミニウム合金の基材と、
前記基材の上に設けられ、黒色の多孔質の酸化アルミニウムの第1層と、
前記第1層上に設けられ、複数の突起部を有する酸化アルミニウムの第2層と、
前記第2層上に設けられ、ニッケル又はニッケル合金の第3層と、を備えることを特徴とする光学部材。
続きを表示(約 280 文字)
【請求項2】
前記第3層の厚みは、前記第2層の突起部の高さよりも小さいことを特徴とする請求項1に記載の光学部材
【請求項3】
前記第3層の厚みを前記第2層の突起部の高さに対して、1/100~1/10の厚みにすることを特徴とする請求項2に記載の光学部材。
【請求項4】
請求項1から3のいずれか一項に記載の光学部材と、
前記光学部材を通過した光を受光する撮像素子と、を備える、
ことを特徴とする撮像装置。
【請求項5】
請求項4に記載の撮像装置を恒星センサとして備える宇宙航行体。
発明の詳細な説明
【技術分野】
【0001】
本発明は、光学素子、撮像装置、ビデオカメラ、スチルカメラ等の撮像光学系に搭載された光学部材に関し、光学部材を備える撮像装置及び宇宙航行体に関するものである。
続きを表示(約 1,300 文字)
【背景技術】
【0002】
従来から、撮影レンズの内側で不所望の反射が起きると画面にハーローあるいはゴーストが生じて 画質が低下することは知られている。その為、鏡筒の内面あるいは絞り羽根に光吸収用の黒色塗料を塗布して画質の低下を防止することが行われている。
【0003】
しかしながら、太陽の様に特に明るい物体を撮影すると物体像の周りに放射状のゴーストが生ずることがあり、絞り羽根や遮光板における内径端部のエッジ(角部)に当った光が迷光になることがある。
【0004】
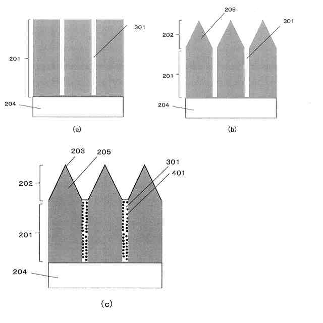
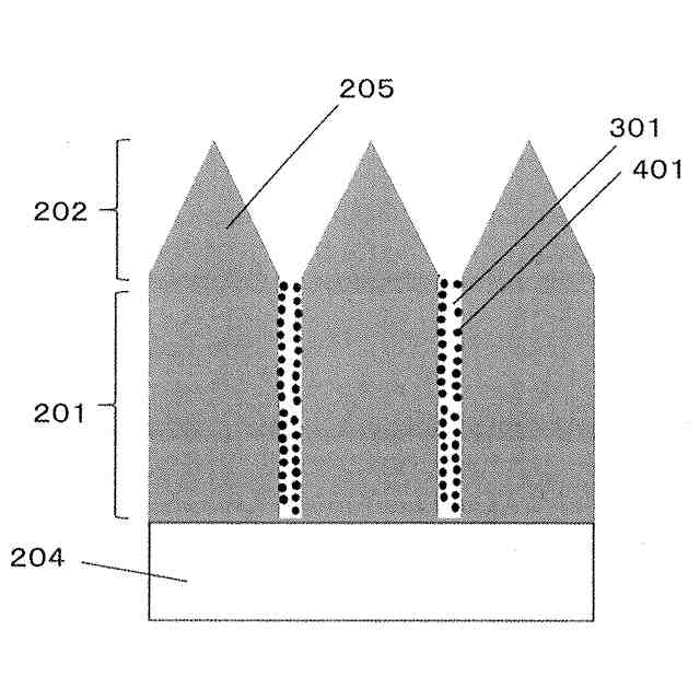
特許文献1では、アルミニウム製の基材に対して、陽極酸化処理とエッチング処理を実施することで、アルミニウム基材表面に黒色の多孔質の酸化アルミニウム層と、黒色の多孔質の酸化アルミニウム層上に複数の突起部を有する酸化アルミニウム層を形成し、基材の反射率を低く抑えている。
【先行技術文献】
【特許文献】
【0005】
特開2021-56494号公報
【発明の概要】
【発明が解決しようとする課題】
【0006】
しかしながら、特許文献1の低反射処理では波長700nm以上の領域において、黒色の多孔質層における光の吸収が弱まるため、波長400~700nmの領域に比べて、反射率が増加する傾向にある。そのため、近赤外域の波長域まで感度を持つセンサを使用する場合には、迷光が発生する恐れがある。
【課題を解決するための手段】
【0007】
上記課題を解決するため、本発明の光学部材は、アルミニウム又はアルミニウム合金の基材と、前記基材の上に設けられ、黒色の多孔質の酸化アルミニウムの第1層と、前記第1層上に設けられ、複数の突起部を有する酸化アルミニウムの第2層と、前記第2層上に設けられ、ニッケル又はニッケル合金の第3層と、を備えることを特徴とする。
【発明の効果】
【0008】
本発明によれば、基材上に設けられた突起部を維持したまま、突起表面の光が反射する部分の材質をアルミニウムよりも低反射なニッケルに置換することができ、700nm以上の波長域においても十分に反射率を低減することができ、近赤外域の波長領域まで感度を持つセンサを使用する場合でも迷光を抑えることができる。
【図面の簡単な説明】
【0009】
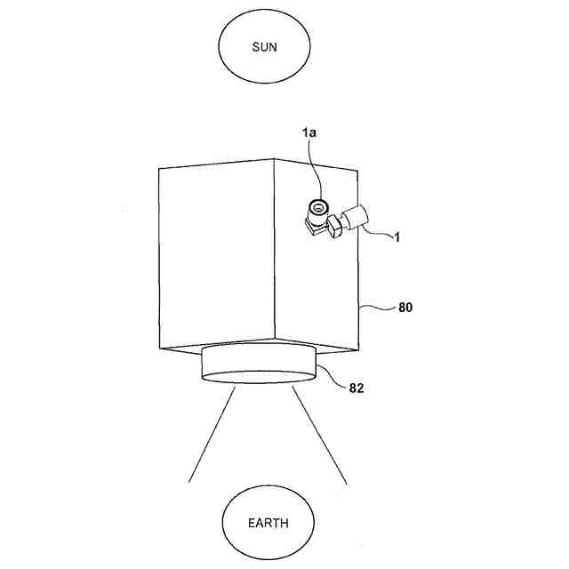
本発明に係る恒星センサの概略図
本発明に係るバッフルの展開図
本発明に係る斜角概略図
本発明に係るベーンの断面図
本発明に係る低反射構造の概略図
本発明に低反射構造の作製方法の説明図
比較例における低反射構造の概略図
実施例及び比較例における反射特性
恒星センサを搭載した宇宙航行体の一例を説明する図
【発明を実施するための形態】
【0010】
以下に、本発明の実施の形態について、図面を参照しながら説明する。
(【0011】以降は省略されています)
この特許をJ-PlatPat(特許庁公式サイト)で参照する
関連特許
株式会社シグマ
結像光学系
1か月前
株式会社シグマ
結像光学系
1か月前
日本精機株式会社
ミラーユニット
1か月前
アイカ工業株式会社
反射防止フィルム
4日前
日本電気株式会社
光モジュール
1か月前
個人
多方向視差効果のための微細穴加工
1か月前
日東電工株式会社
導光部材
1か月前
豊田合成株式会社
調光装置
17日前
株式会社コシナ
投射ズームレンズ
23日前
日東電工株式会社
光学積層体
1か月前
京セラ株式会社
光学系
1か月前
日本精機株式会社
ヘッドアップディスプレイ
1か月前
日本精機株式会社
ヘッドアップディスプレイ
1か月前
キヤノン株式会社
表示装置
2日前
キヤノン株式会社
表示装置
9日前
古河電気工業株式会社
光ファイバケーブル
2日前
日本精機株式会社
ヘッドアップディスプレイ装置
1か月前
マクセル株式会社
映像表示装置
23日前
古河電気工業株式会社
光ファイバケーブル
2日前
住友化学株式会社
複合偏光板
2日前
日本精機株式会社
ヘッドアップディスプレイ装置
1か月前
京セラ株式会社
アイソレータ
9日前
株式会社リコー
光走査装置及び画像形成装置
1か月前
株式会社タムロン
ズームレンズ及び撮像装置
1か月前
株式会社タムロン
ズームレンズ及び撮像装置
2日前
古河電気工業株式会社
融着機、ピッチ変換部材
2日前
スタンレー電気株式会社
透光性樹脂部材
1か月前
レーザーテック株式会社
光学装置及び調整方法
1か月前
住友ベークライト株式会社
光学部品の製造方法
2日前
株式会社小糸製作所
画像生成装置
25日前
マクセル株式会社
空中浮遊映像表示装置
17日前
株式会社小糸製作所
画像表示装置
1か月前
日東電工株式会社
光学積層体
2日前
マクセル株式会社
空中浮遊映像表示装置
1か月前
日東電工株式会社
光学積層体
2日前
株式会社小糸製作所
画像投影装置
17日前
続きを見る
他の特許を見る