TOP
|
特許
|
意匠
|
商標
特許ウォッチ
Twitter
他の特許を見る
公開番号
2025157736
公報種別
公開特許公報(A)
公開日
2025-10-16
出願番号
2024059936
出願日
2024-04-03
発明の名称
固体Liイオン電池
出願人
トヨタ自動車株式会社
代理人
個人
,
個人
,
個人
主分類
H01M
10/0585 20100101AFI20251008BHJP(基本的電気素子)
要約
【課題】放電容量の減少を抑制することができる固体Liイオン電池を提供する。
【解決手段】固体Liイオン電池であって、前記固体Liイオン電池は、正極集電体と、正極層と、固体電解質層と、負極層と、樹脂層と、アルミニウムを含む負極集電体と、をこの順に有し、負極集電体の少なくとも1つの端面が、前記正極集電体、前記正極層、前記固体電解質層、前記負極層、前記樹脂層のいずれの端面に対しても、積層方向側面から見て奥側に配置されている、固体Liイオン電池。
【選択図】図1
特許請求の範囲
【請求項1】
固体Liイオン電池であって、
前記固体Liイオン電池は、正極集電体と、正極層と、固体電解質層と、負極層と、樹脂層と、アルミニウムを含む負極集電体と、をこの順に有し、
前記負極集電体の少なくとも1つの端面が、前記正極集電体、前記正極層、前記固体電解質層、前記負極層、前記樹脂層のいずれの端面に対しても、積層方向側面から見て奥側に配置されている、固体Liイオン電池。
発明の詳細な説明
【技術分野】
【0001】
本開示は、固体Liイオン電池に関する。
続きを表示(約 1,300 文字)
【背景技術】
【0002】
特許文献1において開示されるような固体Liイオン電池に関して様々な技術が提案されている。
【先行技術文献】
【特許文献】
【0003】
特開2020-091997号公報
【発明の概要】
【発明が解決しようとする課題】
【0004】
集電体の端部(端面、側面)など、被覆層が形成されずに集電体が露出しやすい部分で、電池の充電時に集電体のアルミニウム(Al)とリチウム(Li)とが合金化し、電池の放電容量が減少する虞がある。
【0005】
本開示は、上記実情に鑑みてなされたものであり、放電容量の減少を抑制することができる固体Liイオン電池を提供することを主目的とする。
【課題を解決するための手段】
【0006】
<1> 固体Liイオン電池であって、
前記固体Liイオン電池は、正極集電体と、正極層と、固体電解質層と、負極層と、樹脂層と、アルミニウムを含む負極集電体と、をこの順に有し、
負極集電体の少なくとも1つの端面が、前記正極集電体、前記正極層、前記固体電解質層、前記負極層、前記樹脂層のいずれの端面に対しても、積層方向側面から見て奥側に配置されている、固体Liイオン電池。
【発明の効果】
【0007】
本開示の固体Liイオン電池は、放電容量の減少を抑制することができる。
【図面の簡単な説明】
【0008】
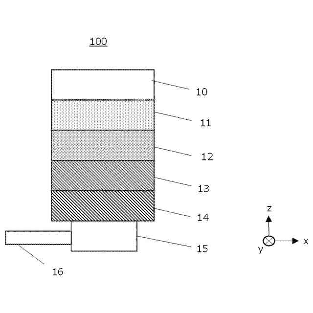
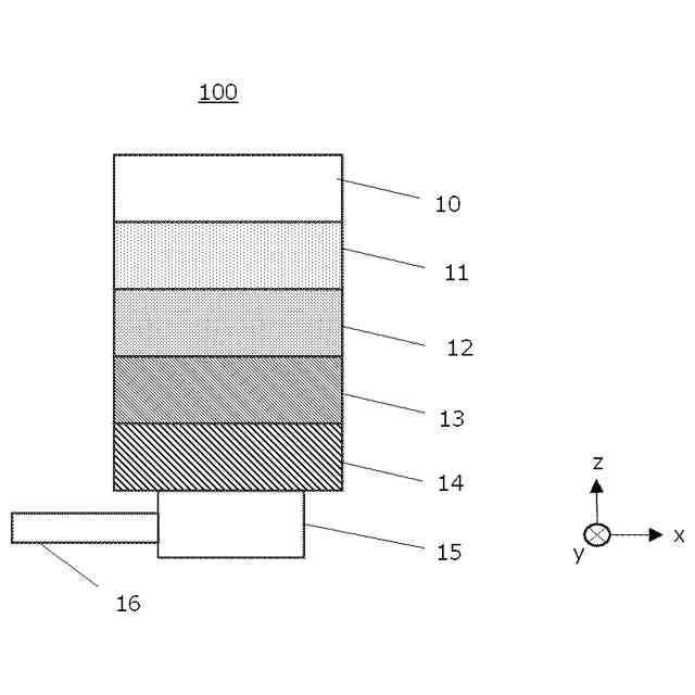
図1は、本開示の固体Liイオン電池の一例を示す断面模式図である。
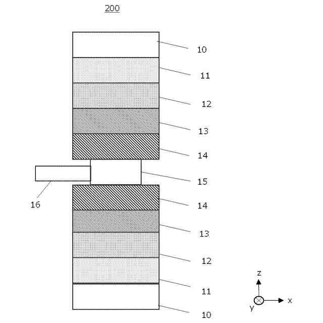
図2は、本開示の固体Liイオン電池の別の一例を示す断面模式図である。
【発明を実施するための形態】
【0009】
以下、本開示による実施の形態を説明する。なお、本明細書において特に言及している事項以外の事柄であって本開示の実施に必要な事柄(例えば、本開示を特徴付けない固体Liイオン電池の一般的な構成および製造プロセス)は、当該分野における従来技術に基づく当業者の設計事項として把握され得る。本開示は、本明細書に開示されている内容と当該分野における技術常識とに基づいて実施することができる。
図には3次元直交座標系の方向も合わせて示した。ここではxy平面が水平面であり、z軸方向を鉛直方向とし、z軸方向に大きい方が上とする。
本開示において、粒子の平均粒径は、特記しない限り、レーザー回折・散乱式粒子径分布測定により測定される体積基準の粒度分布における積算値50%での粒子径であるメディアン径(D50)の値である。
【0010】
本開示においては、固体Liイオン電池であって、
前記固体Liイオン電池は、正極集電体と、正極層と、固体電解質層と、負極層と、樹脂層と、アルミニウムを含む負極集電体と、をこの順に有し、
負極集電体の少なくとも1つの端面が、前記正極集電体、前記正極層、前記固体電解質層、前記負極層、前記樹脂層のいずれの端面に対しても、積層方向側面から見て奥側に配置されている、固体Liイオン電池を提供する。
(【0011】以降は省略されています)
この特許をJ-PlatPat(特許庁公式サイト)で参照する
関連特許
トヨタ自動車株式会社
制御装置
2日前
トヨタ自動車株式会社
蓄電装置
2日前
トヨタ自動車株式会社
車両前部構造
2日前
トヨタ自動車株式会社
動力伝達装置
2日前
トヨタ自動車株式会社
車両用制御装置
2日前
トヨタ自動車株式会社
車両用充電設備
2日前
トヨタ自動車株式会社
支援装置及び支援方法
2日前
トヨタ自動車株式会社
支援装置及び支援方法
2日前
トヨタ自動車株式会社
冷却用電動ファン制御装置
2日前
株式会社デンソー
摺動機構
2日前
株式会社デンソー
摺動機構
2日前
トヨタ自動車株式会社
ハイブリッド車両の制御装置
2日前
トヨタ自動車株式会社
情報処理装置及び情報処理方法
2日前
トヨタ自動車株式会社
空気清浄装置及び空気清浄方法
2日前
株式会社豊田中央研究所
吸着器の製造方法および吸着器
2日前
トヨタ自動車株式会社
後方車両接近通知装置及び後方車両接近通知装置の通知方法
2日前
トヨタ自動車株式会社
車両の制御装置、車両の制御方法、及びコンピュータプログラム
2日前
トヨタ自動車株式会社
車両用表示制御装置、車両用表示システム、車両、表示方法及びプログラム
2日前
APB株式会社
蓄電セル
16日前
東ソー株式会社
絶縁電線
18日前
個人
フレキシブル電気化学素子
1か月前
ローム株式会社
半導体装置
1か月前
株式会社東芝
端子台
10日前
マクセル株式会社
電源装置
10日前
株式会社ユーシン
操作装置
1か月前
ローム株式会社
半導体装置
17日前
日新イオン機器株式会社
イオン源
26日前
株式会社GSユアサ
蓄電設備
1か月前
株式会社GSユアサ
蓄電装置
3日前
太陽誘電株式会社
コイル部品
1か月前
株式会社GSユアサ
蓄電設備
1か月前
オムロン株式会社
電磁継電器
1か月前
株式会社GSユアサ
蓄電装置
11日前
株式会社GSユアサ
蓄電装置
11日前
株式会社ホロン
冷陰極電子源
24日前
日本特殊陶業株式会社
保持装置
2日前
続きを見る
他の特許を見る