TOP
|
特許
|
意匠
|
商標
特許ウォッチ
Twitter
他の特許を見る
公開番号
2025156923
公報種別
公開特許公報(A)
公開日
2025-10-15
出願番号
2024059689
出願日
2024-04-02
発明の名称
カートリッジタンクシステム
出願人
トヨタ自動車株式会社
代理人
弁理士法人平木国際特許事務所
主分類
F16K
35/00 20060101AFI20251007BHJP(機械要素または単位;機械または装置の効果的機能を生じ維持するための一般的手段)
要約
【課題】簡単な構造をもって、水素ガスの漏れを防止できるカートリッジタンクシステムを提供する。
【解決手段】カートリッジタンクシステム1は、ユニット2に装着されたカートリッジタンク10を水素ガス配管5に相対的に接近させることによりカートリッジタンク10及び水素ガス配管5を接続する接続状態と、カートリッジタンク10を水素ガス配管5から相対的に離間させることにより上記接続状態を解除する解除状態とを切り換える切換部材3と、カートリッジタンク10の接近及び離間に合わせてカートリッジタンク10の接近方向及び離間方向に移動可能なストッパー部材7と、水素ガス配管5に設けられるハンドバルブ4とを備える。解除状態では、ハンドバルブ4の開弁はストッパー部材7に制限される。接続状態では、切換部材3の解除状態への切り換えはハンドバルブ4に制限される。
【選択図】図1
特許請求の範囲
【請求項1】
カートリッジタンクへの水素ガス充填に用いられたカートリッジタンクシステムであって、
前記カートリッジタンクが着脱可能に収容されるユニットと、
前記ユニットに装着された前記カートリッジタンクを水素ガス配管に相対的に接近させることにより前記カートリッジタンク及び前記水素ガス配管を接続する接続状態と、前記カートリッジタンクを前記水素ガス配管から相対的に離間させることにより前記接続状態を解除する解除状態とを切り換える切換部材と、
前記カートリッジタンクの接近及び離間に合わせて前記カートリッジタンクの接近方向及び離間方向に移動可能なストッパー部材と、
前記水素ガス配管に設けられるハンドバルブと、
を備え、
前記解除状態において、前記ハンドバルブの開弁は、前記ストッパー部材によって制限され、
前記接続状態において、前記切換部材の前記解除状態への切り換えは、前記ハンドバルブによって制限されていることを特徴とするカートリッジタンクシステム。
発明の詳細な説明
【技術分野】
【0001】
本発明は、カートリッジタンクシステムに関し、特にカートリッジタンクへの水素ガス充填に用いられたカートリッジタンクシステムに関する。
続きを表示(約 2,000 文字)
【背景技術】
【0002】
近年、水素社会の実現に向け、より身近な水素活用を可能とする一つのアイデアとして、小型軽量のカートリッジタンクの利用が期待されている。このようなカートリッジタンクに水素を充填するとき、例えば下記特許文献1に記載のカートリッジタンクシステムを用いることができる。すなわち、複数のカートリッジタンクをマニホールドに装着し、マニホールドを介して複数のカートリッジタンクに水素を効率的に充填する。
【先行技術文献】
【特許文献】
【0003】
特開2016-157522号公報
【発明の概要】
【発明が解決しようとする課題】
【0004】
上述のカートリッジタンクシステムを用いる場合、マニホールドを備えたタンク接続部には、カートリッジタンクへの水素ガス充填を遮断又は許可するバルブを設ける必要がある。しかし、バルブの開閉操作を誤ると、水素漏れのリスクが発生する。例えばカートリッジタンクと水素ガス配管とが接続されていない状態でバルブを開弁したり、バルブを開弁した状態でカートリッジタンクを外したりすると、水素ガスが外部に漏れる問題が生じる。このような問題を解決するために、バルブの開閉を電気的に制御する制御機器をバルブ毎に設置する方法が考えられるが、電気制御機器が高価で且つ制御回路が複雑であるので、コストアップを招くのみならず、構造が複雑になる問題も新たに発生する。
【0005】
本発明は、このような技術課題を解決するためになされたものであって、簡単な構造をもって、水素ガスの漏れを防止できるカートリッジタンクシステムを提供することを目的とする。
【課題を解決するための手段】
【0006】
本発明に係るカートリッジタンクシステムは、カートリッジタンクへの水素ガス充填に用いられたカートリッジタンクシステムであって、前記カートリッジタンクが着脱可能に収容されるユニットと、前記ユニットに装着された前記カートリッジタンクを水素ガス配管に相対的に接近させることにより前記カートリッジタンク及び前記水素ガス配管を接続する接続状態と、前記カートリッジタンクを前記水素ガス配管から相対的に離間させることにより前記接続状態を解除する解除状態とを切り換える切換部材と、前記カートリッジタンクの接近及び離間に合わせて前記カートリッジタンクの接近方向及び離間方向に移動可能なストッパー部材と、前記水素ガス配管に設けられるハンドバルブと、を備え、前記解除状態において、前記ハンドバルブの開弁は、前記ストッパー部材によって制限され、前記接続状態において、前記切換部材の前記解除状態への切り換えは、前記ハンドバルブによって制限されていることを特徴としている。
【0007】
本発明に係るカートリッジタンクシステムでは、カートリッジタンクと水素ガス配管との解除状態(すなわち、カートリッジタンクと水素ガス配管との未接続状態)において、ハンドバルブの開弁は、ストッパー部材によって制限されており、カートリッジタンクと水素ガス配管との接続状態において、切換部材の解除状態への切り換えは、ハンドバルブによって制限されている。このため、例えばカートリッジタンクと水素ガス配管との未接続状態で誤ってハンドバルブを開弁しようとしても、その開弁はストッパー部材により制限される(言い換えれば、禁止される)。従って、ハンドバルブの誤開弁に起因する水素ガスの漏れを防止することができる。
【0008】
また、カートリッジタンクと水素ガス配管との接続状態且つハンドバルブが開弁した状態で、誤って切換部材を操作して解除状態に切り換えようとしても、その切り換えはハンドバルブにより制限される。従って、誤切換に起因する水素ガスの漏れを防止することができる。更に、ハンドバルブ、切換部材及びストッパー部材はインターロック構造をなすことで、電気制御機器を用いた場合と比べて安価であり、且つ構造が簡単である。その結果、簡単な構造をもって、水素ガスの漏れを防止することができる。
【発明の効果】
【0009】
本発明によれば、簡単な構造をもって、水素ガスの漏れを防止することができる。
【図面の簡単な説明】
【0010】
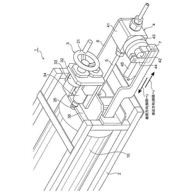
実施形態に係るカートリッジタンクシステム(カートリッジタンクと水素ガス配管との解除状態)を示す部分斜視図である。
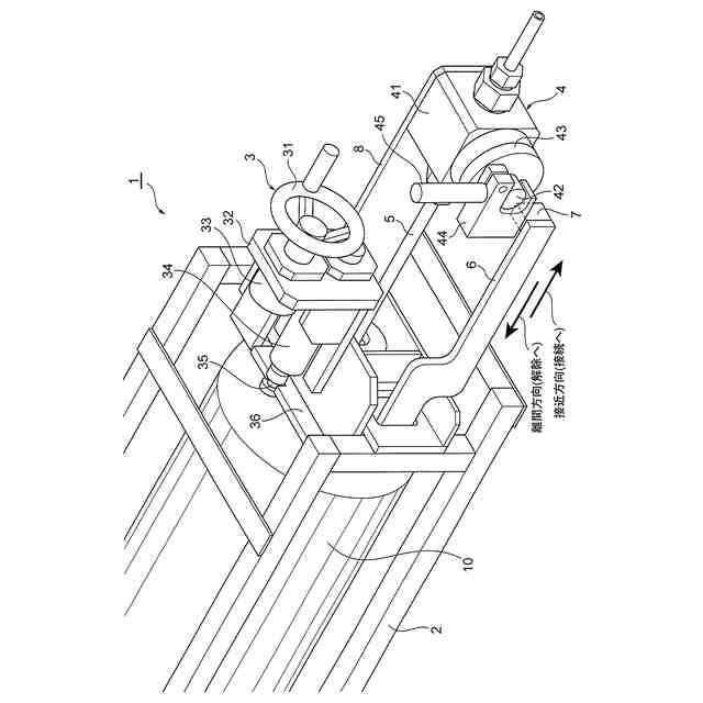
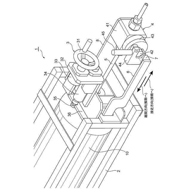
実施形態に係るカートリッジタンクシステム(カートリッジタンクと水素ガス配管との接続状態)を示す部分斜視図である。
ハンドバルブの開閉時におけるハンドバルブとストッパー部材との位置関係を説明する模式図である。
【発明を実施するための形態】
(【0011】以降は省略されています)
この特許をJ-PlatPat(特許庁公式サイト)で参照する
関連特許
トヨタ自動車株式会社
電池
1か月前
トヨタ自動車株式会社
車両
24日前
トヨタ自動車株式会社
車両
10日前
トヨタ自動車株式会社
車両
17日前
トヨタ自動車株式会社
車両
17日前
トヨタ自動車株式会社
車両
23日前
トヨタ自動車株式会社
車両
1か月前
トヨタ自動車株式会社
車両
10日前
トヨタ自動車株式会社
方法
24日前
トヨタ自動車株式会社
方法
23日前
トヨタ自動車株式会社
車両
11日前
トヨタ自動車株式会社
電池
23日前
トヨタ自動車株式会社
車両
1か月前
トヨタ自動車株式会社
車両
1か月前
トヨタ自動車株式会社
方法
24日前
トヨタ自動車株式会社
電池
1か月前
トヨタ自動車株式会社
方法
25日前
トヨタ自動車株式会社
電池
1か月前
トヨタ自動車株式会社
車両
25日前
トヨタ自動車株式会社
椅子
1か月前
トヨタ自動車株式会社
車体
26日前
トヨタ自動車株式会社
車両
19日前
トヨタ自動車株式会社
方法
10日前
トヨタ自動車株式会社
方法
1か月前
トヨタ自動車株式会社
方法
1か月前
トヨタ自動車株式会社
電池
2日前
トヨタ自動車株式会社
治具
18日前
トヨタ自動車株式会社
車両
1か月前
トヨタ自動車株式会社
車体
10日前
トヨタ自動車株式会社
電池
11日前
トヨタ自動車株式会社
モータ
25日前
トヨタ自動車株式会社
固定子
1か月前
トヨタ自動車株式会社
モータ
20日前
トヨタ自動車株式会社
サーバ
20日前
トヨタ自動車株式会社
モータ
9日前
トヨタ自動車株式会社
蓄電池
10日前
続きを見る
他の特許を見る