TOP
|
特許
|
意匠
|
商標
特許ウォッチ
Twitter
他の特許を見る
公開番号
2025156912
公報種別
公開特許公報(A)
公開日
2025-10-15
出願番号
2024059662
出願日
2024-04-02
発明の名称
車両の判定装置
出願人
トヨタ自動車株式会社
代理人
個人
,
個人
,
個人
,
個人
,
個人
,
個人
,
個人
主分類
G08G
1/16 20060101AFI20251007BHJP(信号)
要約
【課題】車両が信号機を通過しようとする際に、通過の可否を精度良く判定することが可能な車両の判定装置を提供する。
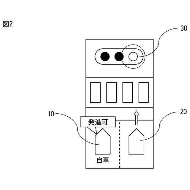
【解決手段】ECU150のプロセッサ152は、車両10の前方の信号機30が、車両10が通過可能であることを示しているか否かを判定する信号機判定部152aと、車両10の周辺に存在する他車20の挙動を判定する他車挙動判定部152bと、車両10が通過可能であることを信号機30が示していると判定された場合に、車両10の周辺に存在する他車20の挙動に基づいて車両10による信号機30の通過の可否を判定する通過可否判定部152cと、を備える。
【選択図】図3
特許請求の範囲
【請求項1】
車両の前方の信号機が、車両が通過可能であることを示しているか否かを判定する信号機判定部と、
車両の周辺に存在する他車の挙動を判定する他車挙動判定部と、
車両が通過可能であることを前記信号機が示していると判定された場合に、車両の周辺に存在する他車の挙動に基づいて車両による前記信号機の通過の可否を判定する通過可否判定部と、
を備える、車両の判定装置。
続きを表示(約 300 文字)
【請求項2】
前記通過可否判定部は、車両が前記信号機で停止している場合に、車両が通過可能であることを前記信号機が示していると判定され、且つ、車両と同方向または逆方向に走行する他車が発進したと判定されると、車両の発進が可能であると判定する、請求項1に記載の車両の判定装置。
【請求項3】
前記通過可否判定部は、車両が走行中に前記信号機を通過しようとする場合に、車両が通過可能であることを前記信号機が示していると判定され、且つ、車両と同方向に走行する他車が所定値以上の減速をしていないと判定されると、車両による前記信号機の通過が可能であると判定する、請求項1に記載の車両の判定装置。
発明の詳細な説明
【技術分野】
【0001】
本発明は、車両の判定装置に関する。
続きを表示(約 1,300 文字)
【背景技術】
【0002】
従来、認識対象の信号機を複数検出した状況において、車両が従うべき進行方向前方の信号機の信号表示を精度良く推定することを想定した信号表示推定システムが公知である(特許文献1を参照)。
【先行技術文献】
【特許文献】
【0003】
特開2021-018737号公報
【発明の概要】
【発明が解決しようとする課題】
【0004】
しかし、信号機の状態は、点灯している信号機の色または矢印表示で表され、物体の移動などを伴うことなく表される。このため、信号機の状態を判定する場合には、原理的にカメラの画像情報しか使用できず、逆光などの外的要因により画像情報の認識に誤りが発生する可能性を考慮すると、判定の信頼性の向上が図りにくい。例えば、信号機のある交差点を車両が通過しようとする際に、信号機の状態のみに基づいて通過の可否を判定すると、判定はカメラ画像による信号機の状態のみを用いることになり、信頼性が低下する可能性がある。
【0005】
また、カメラ画像による信号機の状態の認識は技術的にも難易度が比較的高く、信号機の状態の認識精度を高めることには限界も想定される。このため、信号機の状態の判定においては、カメラ画像による信号機の状態の認識だけでなく、他の手段をも併用することにより、システム全体としての判定精度を向上することが好ましい。
【0006】
そこで、本発明は、車両が信号機を通過しようとする際に、通過の可否を精度良く判定することが可能な車両の判定装置を提供することを目的とする。
【課題を解決するための手段】
【0007】
本開示の要旨は以下のとおりである。
【0008】
(1)車両の前方の信号機が、車両が通過可能であることを示しているか否かを判定する信号機判定部と、
車両の周辺に存在する他車の挙動を判定する他車挙動判定部と、
車両が通過可能であることを前記信号機が示していると判定された場合に、車両の周辺に存在する他車の挙動に基づいて車両による前記信号機の通過の可否を判定する通過可否判定部と、
を備える、車両の判定装置。
【0009】
(2)前記通過可否判定部は、車両が前記信号機で停止している場合に、車両が通過可能であることを前記信号機が示していると判定され、且つ、車両と同方向または逆方向に走行する他車が発進したと判定されると、車両の発進が可能であると判定する、上記(1)に記載の車両の判定装置。
【0010】
(3)前記通過可否判定部は、車両が走行中に前記信号機を通過しようとする場合に、車両が通過可能であることを前記信号機が示していると判定され、且つ、車両と同方向に走行する他車が所定値以上の減速をしていないと判定されると、車両による前記信号機の通過が可能であると判定する、上記(1)に記載の車両の判定装置。
【発明の効果】
(【0011】以降は省略されています)
この特許をJ-PlatPat(特許庁公式サイト)で参照する
関連特許
トヨタ自動車株式会社
車両
19日前
トヨタ自動車株式会社
車体
10日前
トヨタ自動車株式会社
車両
17日前
トヨタ自動車株式会社
治具
18日前
トヨタ自動車株式会社
車両
11日前
トヨタ自動車株式会社
方法
10日前
トヨタ自動車株式会社
車両
10日前
トヨタ自動車株式会社
方法
23日前
トヨタ自動車株式会社
電池
2日前
トヨタ自動車株式会社
電池
11日前
トヨタ自動車株式会社
車両
17日前
トヨタ自動車株式会社
車両
10日前
トヨタ自動車株式会社
電池
23日前
トヨタ自動車株式会社
蓄電池
10日前
トヨタ自動車株式会社
モータ
20日前
トヨタ自動車株式会社
モータ
9日前
トヨタ自動車株式会社
サーバ
20日前
トヨタ自動車株式会社
路側装置
9日前
トヨタ自動車株式会社
推定装置
9日前
トヨタ自動車株式会社
蓄電装置
9日前
トヨタ自動車株式会社
路側装置
9日前
トヨタ自動車株式会社
路側装置
9日前
トヨタ自動車株式会社
制御装置
9日前
トヨタ自動車株式会社
路側装置
9日前
トヨタ自動車株式会社
電動車両
9日前
トヨタ自動車株式会社
蓄電装置
17日前
トヨタ自動車株式会社
蓄電装置
18日前
トヨタ自動車株式会社
電動車両
9日前
トヨタ自動車株式会社
制御装置
9日前
トヨタ自動車株式会社
蓄電セル
4日前
トヨタ自動車株式会社
濾過装置
11日前
トヨタ自動車株式会社
樹脂外板
10日前
トヨタ自動車株式会社
蓄電セル
23日前
トヨタ自動車株式会社
塗工装置
23日前
トヨタ自動車株式会社
電源装置
18日前
トヨタ自動車株式会社
蓄電装置
17日前
続きを見る
他の特許を見る