TOP
|
特許
|
意匠
|
商標
特許ウォッチ
Twitter
他の特許を見る
公開番号
2025156811
公報種別
公開特許公報(A)
公開日
2025-10-15
出願番号
2024059500
出願日
2024-04-02
発明の名称
燃料電池システム
出願人
トヨタ自動車株式会社
代理人
弁理士法人明成国際特許事務所
主分類
H01M
8/04029 20160101AFI20251007BHJP(基本的電気素子)
要約
【課題】効率よく燃料電池スタックの加熱および冷却を行える技術を提供する。
【解決手段】燃料電池システムは、冷媒が流入する第1供給口と冷媒が流出する第1排出口とを有する第1燃料電池スタックと、冷媒が流入する第2供給口と冷媒が流出する第2排出口とを有する第2燃料電池スタックと、冷却装置と、第1排出口と冷却装置とを接続し、冷媒が流通する第1流路と、第2供給口と冷却装置とを接続し、冷媒が流通する第1流路と異なる第2流路と、第1流路に配置されており、冷媒が流入する第1流入口と、冷媒が流出する第1流出口と、第2流路と接続されている第2流出口とを有し、第1流入口と第1流出口とが連通する第1状態と、第1流入口と第2流出口とが連通する第2状態とに切り替え可能である弁部と、暖機運転において、弁部を第2状態にする制御を行い、暖機運転の終了後において、弁部を第1状態にする制御を行う制御装置と、を備える。
【選択図】図1
特許請求の範囲
【請求項1】
燃料電池システムであって、
冷媒が流入する第1供給口と前記冷媒が流出する第1排出口とを有する第1燃料電池スタックと、
前記冷媒が流入する第2供給口と前記冷媒が流出する第2排出口とを有する第2燃料電池スタックと、
冷却装置と、
前記第1排出口と前記冷却装置とを接続し、前記冷媒が流通する第1流路と、
前記第2供給口と前記冷却装置とを接続し、前記冷媒が流通する前記第1流路と異なる第2流路と、
前記第1流路に配置されており、前記冷媒が流入する第1流入口と、前記冷媒が流出する第1流出口と、前記第2流路と接続されている第2流出口とを有する弁部であって、前記第1流入口と前記第1流出口とが連通する第1状態と、前記第1流入口と前記第2流出口とが連通する第2状態とに切り替え可能である弁部と、
暖機運転において、前記弁部を前記第2状態にする制御を行い、前記暖機運転の終了後において、前記弁部を前記第1状態にする制御を行う制御装置と、を備える、燃料電池システム。
発明の詳細な説明
【技術分野】
【0001】
本開示は、燃料電池システムに関する。
続きを表示(約 1,700 文字)
【背景技術】
【0002】
複数の燃料電池スタックを有する燃料電池システムが知られている。特許文献1では、第1燃料電池スタックと第2燃料電池スタックとが冷却水流路によって直列で接続されている燃料電池システムが開示されている。この場合、第1燃料電池スタックによって温められた冷却水が第2燃料電池スタックに流れるため、第2燃料電池スタックを効率よく温めることができる。
【先行技術文献】
【特許文献】
【0003】
特開2022-157407号公報
【発明の概要】
【発明が解決しようとする課題】
【0004】
しかし、燃料電池スタックを冷却する場合、第2燃料電池スタックには、第1燃料電池スタックによって温められた冷却水が流れるため、第2燃料電池スタックの冷却効果が低下するおそれがある。そのため、効率よく燃料電池スタックの加熱および冷却を行える技術が求められていた。
【課題を解決するための手段】
【0005】
本開示は、上述の課題を解決するためになされたものであり、以下の形態として実現することが可能である。
【0006】
本開示の形態によれば、燃料電池システムが提供される。この燃料電池システムは、冷媒が流入する第1供給口と前記冷媒が流出する第1排出口とを有する第1燃料電池スタックと、前記冷媒が流入する第2供給口と前記冷媒が流出する第2排出口とを有する第2燃料電池スタックと、冷却装置と、前記第1排出口と前記冷却装置とを接続し、前記冷媒が流通する第1流路と、前記第2供給口と前記冷却装置とを接続し、前記冷媒が流通する前記第1流路と異なる第2流路と、前記第1流路に配置されており、前記冷媒が流入する第1流入口と、前記冷媒が流出する第1流出口と、前記第2流路と接続されている第2流出口とを有する弁部であって、前記第1流入口と前記第1流出口とが連通する第1状態と、前記第1流入口と前記第2流出口とが連通する第2状態とに切り替え可能である弁部と、暖機運転において、前記弁部を前記第2状態にする制御を行い、前記暖機運転の終了後において、前記弁部を前記第1状態にする制御を行う制御装置と、を備える。
この形態の燃料電池システムによれば、暖機運転において、第1燃料電池スタックと第2燃料電池スタックとが直列に接続されるため、第1燃料電池スタックによって温められた冷媒が第2燃料電池スタックに流入する。また、暖機運転の終了後において、第1燃料電池スタックと第2燃料電池スタックとが並列に冷却装置へ接続されるため、第1燃料電池スタックによって温められた冷媒が第2燃料電池スタックに流入することを抑制できる。そのため、効率よく燃料電池スタックの加熱および冷却を行える。
【0007】
なお、本開示は、種々の形態で実現することが可能であり、例えば、弁部の制御方法等の態様で実現することが可能である。
【図面の簡単な説明】
【0008】
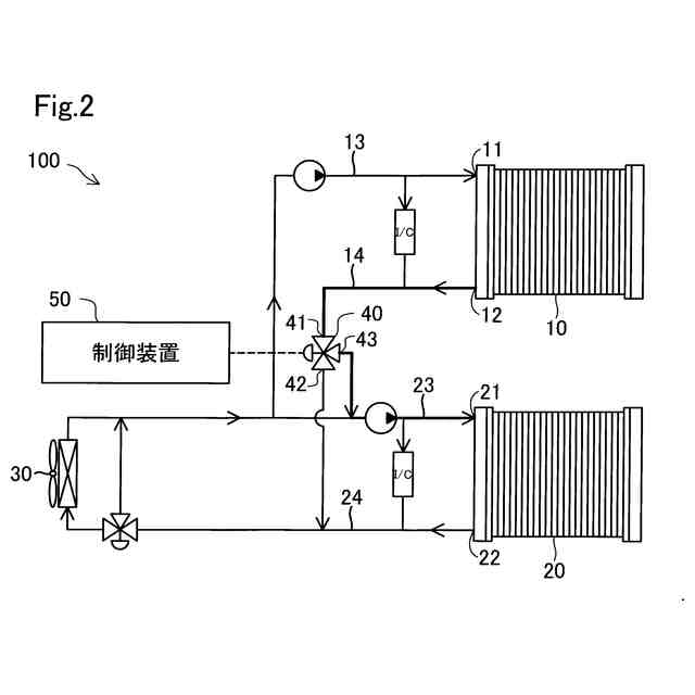
燃料電池システムの概略構成を示す図である。
暖機運転における、冷媒の流通を示す説明図である。
暖機運転の終了後における、冷媒の流通を示す説明図である。
【発明を実施するための形態】
【0009】
A.第1実施形態:
図1は、本実施形態における、燃料電池システム100の概略構成を示す図である。燃料電池システム100は、第1燃料電池スタック10と第1冷媒供給流路13と第1冷媒排出流路14と第2燃料電池スタック20と第2冷媒供給流路23と第2冷媒排出流路24と冷却装置30と弁部40と制御装置50とを備えている。本実施形態の燃料電池システム100は、例えば、燃料電池車両に搭載される。
【0010】
第1燃料電池スタック10および第2燃料電池スタック20は、反応ガスとしてアノードガス(例えば、水素ガス)とカソードガス(例えば、空気)との供給を受けて発電する固体高分子形燃料電池である。第1燃料電池スタック10および第2燃料電池スタック20は、複数の単セルが積層されて構成されている。
(【0011】以降は省略されています)
この特許をJ-PlatPat(特許庁公式サイト)で参照する
関連特許
トヨタ自動車株式会社
車両
16日前
トヨタ自動車株式会社
電池
16日前
トヨタ自動車株式会社
車両
10日前
トヨタ自動車株式会社
車両
10日前
トヨタ自動車株式会社
治具
11日前
トヨタ自動車株式会社
車両
17日前
トヨタ自動車株式会社
方法
17日前
トヨタ自動車株式会社
方法
17日前
トヨタ自動車株式会社
車両
12日前
トヨタ自動車株式会社
方法
18日前
トヨタ自動車株式会社
方法
3日前
トヨタ自動車株式会社
車体
3日前
トヨタ自動車株式会社
車両
4日前
トヨタ自動車株式会社
車両
3日前
トヨタ自動車株式会社
電池
4日前
トヨタ自動車株式会社
車両
3日前
トヨタ自動車株式会社
車両
18日前
トヨタ自動車株式会社
方法
16日前
トヨタ自動車株式会社
モータ
2日前
トヨタ自動車株式会社
蓄電池
3日前
トヨタ自動車株式会社
正極層
16日前
トヨタ自動車株式会社
サーバ
13日前
トヨタ自動車株式会社
モータ
13日前
トヨタ自動車株式会社
自動車
17日前
トヨタ自動車株式会社
モータ
18日前
トヨタ自動車株式会社
電動機
16日前
トヨタ自動車株式会社
コネクタ
17日前
トヨタ自動車株式会社
蓄電装置
10日前
トヨタ自動車株式会社
駆動装置
17日前
トヨタ自動車株式会社
路側装置
16日前
トヨタ自動車株式会社
報知装置
18日前
トヨタ自動車株式会社
燃料電池
18日前
トヨタ自動車株式会社
塗工装置
16日前
トヨタ自動車株式会社
蓄電装置
11日前
トヨタ自動車株式会社
電動車両
3日前
トヨタ自動車株式会社
蓄電装置
10日前
続きを見る
他の特許を見る