TOP
|
特許
|
意匠
|
商標
特許ウォッチ
Twitter
他の特許を見る
公開番号
2025156793
公報種別
公開特許公報(A)
公開日
2025-10-15
出願番号
2024059463
出願日
2024-04-02
発明の名称
車両駆動制御装置
出願人
トヨタ自動車株式会社
代理人
弁理士法人中部国際特許事務所
主分類
B60W
30/188 20120101AFI20251007BHJP(車両一般)
要約
【課題】 実用性の高い車両駆動制御装置を提供する。
【解決手段】 車速とアクセル開度δとに基づいて、実現すべき車両の前後加速度である目標前後加速度G
*
を決定し、その目標前後加速度G
*
に基づいて、駆動装置を制御する車両駆動制御装置において、車速ごとに記憶されている5つのデータ(それぞれが特定のアクセル開度に対応する目標前後加速度についてのデータであり、〇若しくは内に番号が付されている箇所のデータである)に基づいて、任意のアクセル開度に対応する目標前後加速度を補間処理によって決定する。比較的少ないデータを記憶するだけで、駆動装置を適切に制御することが可能となる。
【選択図】 図2
特許請求の範囲
【請求項1】
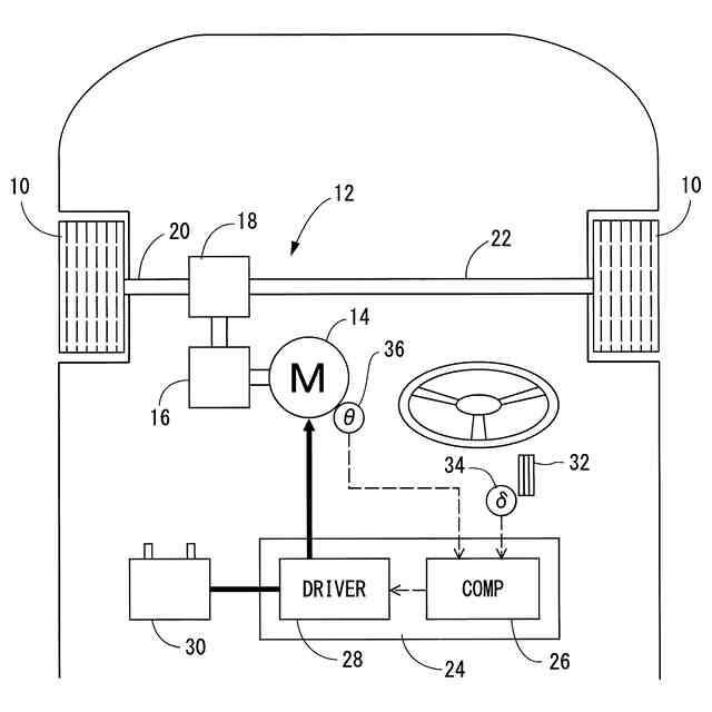
車両が備える駆動装置を制御するための車両駆動制御装置であって、
その車両の走行速度とアクセル開度とに基づいて、実現すべき車両の前後加速度若しくは発生させるべき駆動力である目標駆動指標を決定し、その目標駆動指標に基づいて、前記駆動装置を制御するように構成され、
目標駆動指標を決定するためのデータとして、車両の走行速度ごとに、特定のアクセル開度に対応する目標駆動指標の値若しくはその値を決定するためのデータを、5つ以下しか記憶しておらず、
その5つ以下のデータに基づき、任意のアクセル開度に対応する目標駆動指標を補間処理によって決定することを特徴とする車両駆動制御装置。
発明の詳細な説明
【技術分野】
【0001】
本発明は、車両に搭載された駆動装置を制御する車両駆動制御装置に関する。
続きを表示(約 2,200 文字)
【背景技術】
【0002】
エンジン等を駆動源とする駆動装置を制御する車両駆動制御装置に関して、下記特許文献に記載された技術が存在する。その技術では、車両の走行速度とアクセル開度とに基づいて車両に対して発生させるべき駆動力を決定し、その決定した駆動力に基づいて駆動装置が制御される。そして、その技術では、車両の走行速度ごとに設定されたマップ、詳しくは、アクセル開度と駆動力との関係を示すマップが用いられ、そのマップに基づいて駆動力が決定される。
【先行技術文献】
【特許文献】
【0003】
特開2023-28903号公報
【発明の概要】
【発明が解決しようとする課題】
【0004】
上記特許出願に記載された技術では、車両駆動制御装置は、上述したようなマップを記憶しているが、そのマップに係るデータ量は、相当に大きく、当該車両駆動制御装置は、大きな負担を強いられている。したがって、記憶するデータ量を小さくすることで、車両駆動制御装置の実用性は向上することになる。本発明は、そのような実情に鑑みてなされたものであり、実用性の高い車両駆動制御装置を提供することを課題とする。
【課題を解決するための手段】
【0005】
上記課題を解決するために、本発明の車両駆動制御装置は、
車両が備える駆動装置を制御するための車両駆動制御装置であって、
その車両の走行速度とアクセル開度とに基づいて、実現すべき車両の前後加速度若しくは発生させるべき駆動力である目標駆動指標を決定し、その目標駆動指標に基づいて、前記駆動装置を制御するように構成され、
当該車両駆動制御装置が、
目標駆動指標を決定するためのデータとして、車両の走行速度ごとに、特定のアクセル開度に対応する目標駆動指標の値若しくはその値を決定するためのデータを、5つ以下しか記憶しておらず、
その5つ以下のデータに基づき、任意のアクセル開度に対応する目標駆動指標を補間処理によって決定することを特徴とする。
【発明の効果】
【0006】
本発明の車両駆動制御装置によれば、比較的少ないデータを記憶するだけで、駆動装置を適切に制御することが可能となる。
【発明の概要】
発明の態様
【0007】
本発明における「車両の走行速度(以下、「車速」と略す場合がある)」は、例えば、ドライブシャフトの回転速度等に基づいて、測定若しくは推定することが可能である。「アクセル開度」は、アクセルペダル,ジョイスティック等のアクセル操作部材の操作の程度、例えば、操作量,操作速度,操作強度等を広く含む概念である。なお、以下の説明では、アクセル開度は、便宜的に、アクセル操作部材を最大に操作したときを100%と、全く操作していないときを0%としたパーセントで表すものとする。「目標駆動指標」に関して言えば、目標駆動指標が前後加速度である場合、その前後加速度は、車両を減速させるときには減速度となり、駆動力である場合、その駆動力は、車両を減速させるときには、ブレーキ力として作用するものとなる。
【0008】
本発明における「駆動装置」は、例えば、ガソリンエンジン等を駆動源とするものであっても、電動モータを駆動源とするものであっても、それらの両者を駆動源とするものであってもよい。すなわち、本発明の車両駆動制御装置が採用される車両は、ガソリンエンジン車であってもよく、いわゆるBEV,HEVであってもよいのである。ちなみに、ガソリンエンジン車の場合には、車両駆動制御装置は、目標駆動指標に基づいて、スロットル開度,燃料噴射量,変速機等を制御すればよく、電動モータを駆動源とする車両の場合には、車両駆動制御装置は、目標駆動指標に基づいて、その電動モータへの供給電流を制御すればよい。
【0009】
本発明における「目標駆動指標の値を決定するためのデータ」とは、例えば、特定のアクセル開度が含まれる範囲における目標駆動指標の勾配等が、広く含まれる。上記「補間処理」は、例えば、線形補間であってもよく、アクセル開度をパラメータとする2次以上の何らかの関数を用いた補間であってもよい。
【0010】
上述の「5つ以下のデータ」には、例えば、以下のものを含ませることができる。ちなみに、以下のデータのいずれか1以上を採用すれば、駆動装置の制御に対して、運転者の意志,設計思想に基づく走行特性等を適切に反映させることが可能である。
(1)アクセル開度0%における目標駆動指標の値
(2)目標駆動指標の値が0となるときの、例えば、車両が増速も減速もしない状態となるときのアクセル開度
(3)特定のアクセル開度を含む定常域(アクセル開度が比較的小さい範囲)における目標駆動指標のアクセル開度に対する増加勾配
(4)通常高加速域(通常の運転状態における比較的大きなアクセル開度の範囲)の上限となるアクセル開度における目標駆動指標の値
(5)アクセル開度100%のときの目標駆動指標の値
【図面の簡単な説明】
(【0011】以降は省略されています)
この特許をJ-PlatPat(特許庁公式サイト)で参照する
関連特許
トヨタ自動車株式会社
車体
9日前
トヨタ自動車株式会社
電池
1日前
トヨタ自動車株式会社
電池
10日前
トヨタ自動車株式会社
車両
10日前
トヨタ自動車株式会社
車両
9日前
トヨタ自動車株式会社
車両
9日前
トヨタ自動車株式会社
車両
16日前
トヨタ自動車株式会社
車両
16日前
トヨタ自動車株式会社
車両
18日前
トヨタ自動車株式会社
方法
9日前
トヨタ自動車株式会社
治具
17日前
トヨタ自動車株式会社
方法
22日前
トヨタ自動車株式会社
サーバ
19日前
トヨタ自動車株式会社
蓄電池
9日前
トヨタ自動車株式会社
モータ
8日前
トヨタ自動車株式会社
モータ
19日前
トヨタ自動車株式会社
推定装置
8日前
トヨタ自動車株式会社
濾過装置
10日前
トヨタ自動車株式会社
電動車両
8日前
トヨタ自動車株式会社
電動車両
9日前
トヨタ自動車株式会社
路側装置
8日前
トヨタ自動車株式会社
蓄電装置
8日前
トヨタ自動車株式会社
電動車両
8日前
トヨタ自動車株式会社
電池装置
18日前
トヨタ自動車株式会社
制御装置
8日前
トヨタ自動車株式会社
路側装置
8日前
トヨタ自動車株式会社
路側装置
8日前
トヨタ自動車株式会社
鋳造装置
8日前
トヨタ自動車株式会社
路側装置
8日前
トヨタ自動車株式会社
樹脂外板
9日前
トヨタ自動車株式会社
制御装置
8日前
トヨタ自動車株式会社
蓄電装置
17日前
トヨタ自動車株式会社
製造設備
1日前
トヨタ自動車株式会社
電源装置
17日前
トヨタ自動車株式会社
蓄電装置
16日前
トヨタ自動車株式会社
蓄電装置
16日前
続きを見る
他の特許を見る