TOP
|
特許
|
意匠
|
商標
特許ウォッチ
Twitter
他の特許を見る
10個以上の画像は省略されています。
公開番号
2025156475
公報種別
公開特許公報(A)
公開日
2025-10-14
出願番号
2025129057,2022179965
出願日
2025-08-01,2022-11-10
発明の名称
遊技機
出願人
株式会社三洋物産
代理人
個人
主分類
A63F
7/02 20060101AFI20251002BHJP(スポーツ;ゲーム;娯楽)
要約
【課題】遊技者の興趣を向上させることができる遊技機の提供。
【解決手段】遊技機は、所定の発射力にて発射した遊技球が特定の経路を流下した場合に到達可能な遊技領域に設けられた特電作動口91と、開状態および閉状態に切り替え可能な開閉扉923、およびV入賞口921を有する特電入賞装置92と、特電作動口91に遊技球が入球することに基づいて、開閉扉923に所定期間の開放を実行させる開放実行手段と、所定期間の開閉扉923の開放中に遊技球がV入賞口921に入球することに基づいて、利益遊技として特別遊技状態とは異なる特定期間の特定期間遊技を実行する特定遊技実行手段とを備える。遊技機は、電動役物261の制御状態が特定遊技状態に対応していない第1制御状態である所定遊技状態において、所定の特定期間遊技の実行を終了した場合に、第1制御状態から特定遊技状態に対応した第2制御状態に制御状態を変更する。
【選択図】図135
特許請求の範囲
【請求項1】
遊技盤の正面に形成された遊技領域に向かって遊技球を発射する発射力を調整可能であり、第1方向に遊技球を発射して行う第1の遊技、および前記第1方向とは異なる第2方向に遊技球を発射して行う第2の遊技を実行可能な発射手段と、
図柄の変動表示を実行する変動表示手段と、
前記遊技領域を流下する遊技球が入球可能であって、当該入球に基づいて前記変動表示の始動条件を発生可能な始動入球手段と、
前記変動表示の始動条件の成立を補助する補助手段と、
前記変動表示の結果に基づいて、利益遊技として特別遊技状態を実行する特別遊技実行手段と、
前記特別遊技状態を発生させることなく所定の前記変動表示の実行回数が所定回数になった場合に前記補助手段に対する制御状態を切り替えて特定遊技状態を実行可能な遊技機であって、
所定の前記発射力にて前記第2方向に発射した遊技球が特定の経路を流下した場合に到達可能な前記遊技領域に設けられた第1入球手段と、
開状態および閉状態に切り替え可能な開閉切替手段、および特定入球領域を有する第2入球手段と、
前記第1入球手段に遊技球が入球することに基づいて、前記開閉切替手段に所定期間の開放を実行させる開放実行手段と、
前記所定期間の前記開閉切替手段の開放中に遊技球が前記特定入球領域に入球することに基づいて、前記利益遊技として前記特別遊技状態とは異なる特定期間の特定期間遊技を実行する特定遊技実行手段とを備え、
前記補助手段の制御状態が前記特定遊技状態に対応していない第1制御状態である所定遊技状態において、所定の前記特定期間遊技の実行を終了した場合に、前記第1制御状態から前記特定遊技状態に対応した第2制御状態に制御状態を変更することを特徴とする遊技機。
発明の詳細な説明
【技術分野】
【0001】
本発明は、パチンコ遊技機等の遊技機に関する。
続きを表示(約 5,600 文字)
【背景技術】
【0002】
従来、複数の絵柄を変動表示する変動表示手段を備えた遊技機が知られている(例えば、特許文献1参照)。この遊技機は、作動口(始動入球手段)に遊技球が入球することによって、大当たり抽選などの所定の抽選を実行するとともに、絵柄の変動表示を開始する。遊技機は、例えば、大当たり抽選に当選した場合には、特定の絵柄の組み合わせ等を変動表示手段に最終的に停止表示させるとともに、遊技者にとって有利な特別遊技状態に遊技状態を移行する。この特別遊技状態では、遊技機は、例えば、遊技球が入球可能な状態に可変入賞装置を移行させることによって、大量の遊技球を払い出している。
ところで、このような遊技機は、前述した特別遊技状態の他、所定の条件に基づいて、複数の遊技状態間を移行するようになっている。
【先行技術文献】
【特許文献】
【0003】
特開2005-074175号公報
【発明の概要】
【発明が解決しようとする課題】
【0004】
しかしながら、複数の遊技状態間の移行を適切にできない場合には、遊技機は、遊技者の興趣を向上させることができないという問題がある。
【0005】
本発明の目的は、遊技者の興趣を向上させることができる遊技機を提供することである。
【課題を解決するための手段】
【0006】
本発明の遊技機は、遊技盤の正面に形成された遊技領域に向かって遊技球を発射する発射力を調整可能であり、第1方向に遊技球を発射して行う第1の遊技、および第1方向とは異なる第2方向に遊技球を発射して行う第2の遊技を実行可能な発射手段と、図柄の変動表示を実行する変動表示手段と、遊技領域を流下する遊技球が入球可能であって、この入球に基づいて変動表示の始動条件を発生可能な始動入球手段と、変動表示の始動条件の成立を補助する補助手段と、変動表示の結果に基づいて、利益遊技として特別遊技状態を実行する特別遊技実行手段と、特別遊技状態を発生させることなく所定の変動表示の実行回数が所定回数になった場合に補助手段に対する制御状態を切り替えて特定遊技状態を実行可能な遊技機であって、所定の発射力にて第2方向に発射した遊技球が特定の経路を流下した場合に到達可能な前記遊技領域に設けられた第1入球手段と、開状態および閉状態に切り替え可能な開閉切替手段、および特定入球領域を有する第2入球手段と、第1入球手段に遊技球が入球することに基づいて、開閉切替手段に所定期間の開放を実行させる開放実行手段と、所定期間の開閉切替手段の開放中に遊技球が特定入球領域に入球することに基づいて、利益遊技として特別遊技状態とは異なる特定期間の特定期間遊技を実行する特定遊技実行手段とを備え、補助手段の制御状態が特定遊技状態に対応していない第1制御状態である所定遊技状態において、所定の特定期間遊技の実行を終了した場合に、第1制御状態から特定遊技状態に対応した第2制御状態に制御状態を変更することを特徴とする。
【発明の効果】
【0007】
本発明によれば、遊技機は、遊技者の遊技への注目度を向上させることができる。
【図面の簡単な説明】
【0008】
本発明の主参考形態に係るパチンコ機の正面図
遊技盤の正面図
図柄表示装置の表示画面を示す図
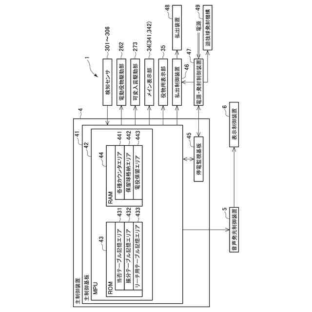
パチンコ機の電気的構成を示すブロック図
内部抽選に用いられる各カウンタの内容を示す図
大当たり発生に当選する乱数の値を記憶した当否テーブルを示す図
大当たりの種別の振分先に係る乱数の値を記憶した振分テーブルを示す図
タイマ割込み処理のフローチャートを示す図
作動口用の入賞処理のフローチャートを示す図
通常処理のフローチャートを示す図
メイン処理のフローチャートを示す図
遊技回制御処理のフローチャートを示す図
データ設定処理のフローチャートを示す図
変動開始処理のフローチャートを示す図
遊技状態移行処理のフローチャートを示す図
大入賞口開閉処理のフローチャートを示す図
大入賞口開放処理のフローチャートを示す図
開閉実行モード終了時の移行処理のフローチャートを示す図
音声発光制御装置の電気的構成を示すブロック図
サブ側保留情報格納エリアの内容を示す図
表示制御装置の電気的構成を示すブロック図
音声発光制御装置にて実行されるタイマ割込み処理のフローチャートを示す図
保留決定処理のフローチャートを示す図
保留発生処理のフローチャートを示す図
保留シフト処理のフローチャートを示す図
図柄表示装置の表示画面に表示される予告保留絵柄、通常保留絵柄、および特殊保留絵柄を示す図
演出決定処理のフローチャートを示す図
遊技結果と、遊技状態等との関係を示す図
本発明の参考形態Mに係る作動口用の入賞処理のフローチャートを示す図
保留発生処理のフローチャートを示す図
保留シフト処理のフローチャートを示す図
先読み演出発生判定処理のフローチャートを示す図
演出決定処理のフローチャートを示す図
演出パターンの決定処理のフローチャートを示す図
先読み演出消化決定処理のフローチャートを示す図
第1サブ側保留エリアの第4エリアに予告保留情報が記憶された場合における図柄表示装置の表示画面を示す図
第1サブ側保留エリアの第3エリアに予告保留情報が記憶された場合における図柄表示装置の表示画面を示す図
第1サブ側保留エリアの第2エリアに予告保留情報が記憶された場合における図柄表示装置の表示画面を示す図
第1サブ側保留エリアの第2エリアに予告保留情報が記憶された後、先読み演出の発生前に第2サブ側保留エリアの第1エリアに通常保留情報が記憶された場合における図柄表示装置の表示画面を示す図
第1サブ側保留エリアの第2エリアに予告保留情報が記憶された後、先読み演出の発生後に第2サブ側保留エリアの第1エリアに通常保留情報が記憶された場合における図柄表示装置の表示画面を示す図
先読み演出の発生していない状態において、第2サブ側保留エリアに通常保留情報が記憶された場合における図柄表示装置の表示画面を示す図
本発明の参考形態Nに係る先読み演出発生判定処理のフローチャートを示す図
演出パターンの決定処理のフローチャートを示す図
先読み演出消化決定処理のフローチャートを示す図
第1サブ側保留エリアの第2エリアに予告保留情報が記憶された後、先読み演出の発生後に第2サブ側保留エリアの第1エリアに通常保留情報が記憶された場合における図柄表示装置の表示画面を示す図
本発明の参考形態Oに係る演出パターンの決定処理のフローチャートを示す図
先読み演出消化決定処理のフローチャートを示す図
第1サブ側保留エリアの第3エリアに予告保留情報が記憶された後、先読み演出の発生後に第2サブ側保留エリアの第1エリアに通常保留情報が記憶された場合における図柄表示装置の表示画面を示す図
本発明の参考形態Pに係る作動口用の入賞処理のフローチャートを示す図
保留発生処理のフローチャートを示す図
保留シフト処理のフローチャートを示す図
先読み演出発生判定処理のフローチャートを示す図
演出決定処理のフローチャートを示す図
演出パターンの決定処理のフローチャートを示す図
先読み演出消化決定処理のフローチャートを示す図
第1サブ側保留エリアの第4エリアに予告保留情報が記憶された場合における図柄表示装置の表示画面を示す図
第1サブ側保留エリアの第3エリアに予告保留情報が記憶された場合における図柄表示装置の表示画面を示す図
第1サブ側保留エリアの第2エリアに予告保留情報が記憶された場合における図柄表示装置の表示画面を示す図
第1サブ側保留エリアの第4エリアに予告保留情報が記憶された後、先読み演出の発生中に第2サブ側保留エリアの第1エリアに通常保留情報が記憶された場合における図柄表示装置の表示画面を示す図
第1サブ側保留エリアの第4エリアに予告保留情報が記憶され、この予告保留情報の実行前にリーチ表示が発生する場合における図柄表示装置の表示画面を示す図
本発明の参考形態Qに係る保留シフト処理のフローチャートを示す図
演出決定処理のフローチャートを示す図
演出パターンの決定処理のフローチャートを示す図
遊技回終了用演出の決定処理のフローチャートを示す図
先読み演出発生判定処理のフローチャートを示す図
先読み演出消化決定処理のフローチャートを示す図
第1サブ側保留エリアの第4エリアに予告保留情報が記憶された場合における図柄表示装置の表示画面を示す図
第1サブ側保留エリアの第3エリアに予告保留情報が記憶された場合における図柄表示装置の表示画面を示す図
第1サブ側保留エリアの第2エリアに予告保留情報が記憶された場合における図柄表示装置の表示画面を示す図
第1サブ側保留エリアの第4エリアに予告保留情報が記憶された後、先読み演出の発生中に第2サブ側保留エリアの第1エリアに通常保留情報が記憶された場合における図柄表示装置の表示画面を示す図
第1サブ側保留エリアの第4エリアに予告保留情報が記憶され、この予告保留情報の実行前にリーチ表示が発生する場合における図柄表示装置の表示画面を示す図
本発明の参考形態Rに係る保留発生処理のフローチャートを示す図
保留シフト処理のフローチャートを示す図
開始時先読み演出発生判定処理のフローチャートを示す図
演出決定処理のフローチャートを示す図
演出パターンの決定処理のフローチャートを示す図
開始時先読み演出消化決定処理のフローチャートを示す図
遊技回終了用演出の決定処理のフローチャートを示す図
終了時先読み演出発生判定処理のフローチャートを示す図
終了時先読み演出消化決定処理のフローチャートを示す図
第1サブ側保留エリアの第3エリアに開始時先読み演出フラグに係る予告保留情報が記憶された後、第1サブ側保留エリアの記憶エリアに終了時先読み演出フラグに係る予告保留情報が記憶された場合における図柄表示装置の表示画面を示す図
第1サブ側保留エリアの第3エリアに終了時先読み演出フラグに係る予告保留情報が記憶された後、第1サブ側保留エリアの記憶エリアに開始時先読み演出フラグに係る予告保留情報が記憶された場合における図柄表示装置の表示画面を示す図
本発明の参考形態Sに係る音声発光制御装置にて実行されるタイマ割込み処理のフローチャートを示す図
演出決定処理のフローチャートを示す図
予告表示の操作予告パートを示す図
予告表示の予告結果報知パートを示す図
予告表示を発生させるタイミングを示す図
演出パターンの決定処理のフローチャートを示す図
演出実行処理のフローチャートを示す図
リーチ表示の発生後における図柄表示装置の表示画面と、予告表示のタイミングチャートとを示す図
本発明の参考形態Tに係る予告表示の操作予告パートを示す図
予告表示の予告結果報知パートを示す図
予告表示を発生させるタイミングを示す図
演出パターンの決定処理のフローチャートを示す図
演出実行処理のフローチャートを示す図
リーチ表示の発生後における図柄表示装置の表示画面と、予告表示のタイミングチャートとを示す図
本発明の参考形態Uに係る演出実行処理のフローチャートを示す図
リーチ表示の発生後における図柄表示装置の表示画面と、予告表示のタイミングチャートとを示す図
本発明の参考形態Vに係る遊技盤の正面図
上側回転式役物の正面図および断面図
【発明を実施するための形態】
【0009】
〔主参考形態〕
以下、本発明の主参考形態を図面に基づいて説明する。
図1は、本発明の主参考形態に係るパチンコ機の正面図である。
パチンコ機1は、遊技機の一種であるパチンコ遊技機である。このパチンコ機1は、図1に示すように、パチンコ機1の外殻を形成する外枠11と、この外枠11に対して前方(正面側)に回動可能に取り付けられた遊技機本体12とを備えている。
【0010】
遊技機本体12は、左右両側部のうち一方を支持側として回動可能となるように外枠11に支持される内枠(図示略)と、内枠の前方に配置されるとともに、左右両側部のうち一方を支持側として前方へ回動可能となるように内枠に支持される前扉枠121と、内枠の後方に配置されるとともに、左右両側部のうち一方を支持側として後方へ回動可能となるように内枠に支持される裏パックユニット(図示略)とを備えている。
(【0011】以降は省略されています)
この特許をJ-PlatPat(特許庁公式サイト)で参照する
関連特許
株式会社三洋物産
遊技機
1か月前
株式会社三洋物産
遊技機
1か月前
株式会社三洋物産
遊技機
1か月前
株式会社三洋物産
遊技機
1か月前
株式会社三洋物産
遊技機
1か月前
株式会社三洋物産
遊技機
1か月前
株式会社三洋物産
遊技機
1か月前
株式会社三洋物産
遊技機
1か月前
株式会社三洋物産
遊技機
1か月前
株式会社三洋物産
遊技機
23日前
株式会社三洋物産
遊技機
1か月前
株式会社三洋物産
遊技機
1か月前
株式会社三洋物産
遊技機
1か月前
株式会社三洋物産
遊技機
1か月前
株式会社三洋物産
遊技機
1か月前
株式会社三洋物産
遊技機
1か月前
株式会社三洋物産
遊技機
1か月前
株式会社三洋物産
遊技機
23日前
株式会社三洋物産
遊技機
23日前
株式会社三洋物産
遊技機
1か月前
株式会社三洋物産
遊技機
1か月前
株式会社三洋物産
遊技機
20日前
株式会社三洋物産
遊技機
20日前
株式会社三洋物産
遊技機
20日前
株式会社三洋物産
遊技機
20日前
株式会社三洋物産
遊技機
20日前
株式会社三洋物産
遊技機
1か月前
株式会社三洋物産
遊技機
1か月前
株式会社三洋物産
遊技機
23日前
株式会社三洋物産
遊技機
1か月前
株式会社三洋物産
遊技機
23日前
株式会社三洋物産
遊技機
23日前
株式会社三洋物産
遊技機
23日前
株式会社三洋物産
遊技機
23日前
株式会社三洋物産
遊技機
23日前
株式会社三洋物産
遊技機
23日前
続きを見る
他の特許を見る