TOP
|
特許
|
意匠
|
商標
特許ウォッチ
Twitter
他の特許を見る
10個以上の画像は省略されています。
公開番号
2025155765
公報種別
公開特許公報(A)
公開日
2025-10-14
出願番号
2024216287,2024549517
出願日
2024-12-11,2024-04-01
発明の名称
熱交換器及び冷凍サイクル装置
出願人
三菱電機株式会社
代理人
弁理士法人深見特許事務所
主分類
F28F
19/06 20060101AFI20251006BHJP(熱交換一般)
要約
【課題】伝熱管の表面に付着した水の排出性が改善された熱交換器を提供する。
【解決手段】熱交換器(100)は、少なくとも1つの伝熱管(10)とフィン(20)とを備えている。少なくとも1つの伝熱管の各々は、第1表面(10c)を有する。フィンは、第2表面(20a)を有する。第2表面における親水性は、第1表面における親水性よりも高くなっている。
【選択図】図1
特許請求の範囲
【請求項1】
第1方向に垂直な第2方向に沿って延在している少なくとも1つの伝熱管と、
前記第1方向及び前記第2方向に垂直な第3方向に前記少なくとも1つの伝熱管を挟むように配置されている第1突出部及び第2突出部と、前記第1突出部及び前記第2突出部の間で前記少なくとも1つの伝熱管に接触する本体部とを有するフィンとを備え、
前記少なくとも1つの伝熱管の各々は、亜鉛を含む第1表面を有し、
前記第1突出部及び前記第2突出部の各々は、亜鉛を含む第2表面を有し、
前記第2表面における亜鉛濃度を前記第1表面における亜鉛濃度よりも高くすることにより、前記第2表面における親水性が前記第1表面における親水性よりも高くなり、熱交換により前記第1表面に付着した水を前記第2表面に移動させる駆動力が発生する、熱交換器。
続きを表示(約 1,200 文字)
【請求項2】
前記少なくとも1つの伝熱管の各々は、前記第1表面にある第1表層と、前記第1表層よりも前記第1表面から離れている芯部とを有し、
前記フィンは、前記第2表面にある第2表層とを有し、
前記第1表層における材料電位は、前記芯部における材料電位よりも低くなっており、
前記第2表層における材料電位は、前記芯部における材料電位よりも低く、かつ前記第1表層における材料電位と異なっている、請求項1に記載の熱交換器。
【請求項3】
前記フィン及び前記少なくとも1つの伝熱管は、アルミニウム合金で形成されている、請求項2に記載の熱交換器。
【請求項4】
前記第1表層における亜鉛濃度は、前記芯部における亜鉛濃度よりも高くなっており、
前記第2表層における亜鉛濃度は、前記芯部における亜鉛濃度よりも高く、かつ前記第1表層における亜鉛濃度と異なっている、請求項3に記載の熱交換器。
【請求項5】
前記第2表層における亜鉛濃度は、前記第1表層における亜鉛濃度よりも高くなっている、請求項4に記載の熱交換器。
【請求項6】
前記第1表層における亜鉛濃度と前記芯部における亜鉛濃度との差は、0.5質量パーセント以上であり、
前記第2表層における亜鉛濃度と前記第1表層における亜鉛濃度との差は、0.5質量パーセント以上であり、
前記第2表層における亜鉛濃度は、10質量パーセント以下である、請求項5に記載の熱交換器。
【請求項7】
前記少なくとも1つの伝熱管には、第1扁平管及び第2扁平管が含まれ、
前記第1扁平管及び前記第2扁平管は、前記第1方向に沿って間隔を空けて対向配置され、
前記第1扁平管及び前記第2扁平管の各々は、前記第2方向に沿って延在しており、かつ前記第2方向に垂直な断面視において長手方向が前記第3方向に沿っており、
前記本体部は、前記第1方向における端面である第1面及び第2面を有し、
前記本体部は、前記第2方向に沿って間隔を空けて並ぶ複数の第1屈曲部を有し、
前記第1面は、前記複数の第1屈曲部のうちの隣り合う2つの間において、前記第1扁平管に接触しており、
前記複数の第1屈曲部の各々は、前記第2面が前記第2扁平管に接触するように前記第1方向に屈曲しており、
前記第1突出部及び前記第2突出部の各々は、前記第3方向に沿って突出するように前記本体部の前記第3方向における両端に連なり、
前記第1突出部及び前記第2突出部の各々は、前記第1方向に沿って間隔を空けて並ぶ複数の第2屈曲部を有し、
前記第2屈曲部の各々は、前記複数の第1屈曲部の各々とは反対側へ前記第1方向に屈曲している、請求項1に記載の熱交換器。
【請求項8】
請求項1から請求項7のいずれか1項に記載の熱交換器を備える、冷凍サイクル装置。
発明の詳細な説明
【技術分野】
【0001】
本開示は、熱交換器及び冷凍サイクル装置に関する。
続きを表示(約 1,300 文字)
【背景技術】
【0002】
特開2023-100145号公報(特許文献1)には、熱交換器が記載されている。特許文献1に記載の熱交換器は、伝熱管としての扁平管を有している。扁平管は、表面に犠牲陽極層を有している。犠牲陽極層は、亜鉛で形成されている。犠牲陽極層上には、犠牲陽極層をなす金属材料の酸化物の膜が形成されている。
【先行技術文献】
【特許文献】
【0003】
特開2023-100145号公報
【発明の概要】
【発明が解決しようとする課題】
【0004】
特許文献1に記載の熱交換器は、伝熱管(扁平管)の表面に付着した水の排出性に改善の余地がある。本開示は、伝熱管の表面に付着した水の排出性が改善された熱交換器を提供するものである。
【課題を解決するための手段】
【0005】
本開示の熱交換器は、少なくとも1つの伝熱管と、フィンとを備えている。少なくとも1つの伝熱管の各々は、第1表面を有する。フィンは、第2表面を有する。第2表面における親水性は、第1表面における親水性よりも高くなっている。
【発明の効果】
【0006】
本開示の熱交換器によると、伝熱管の表面に付着した水の排出性を高めることが可能である。
【図面の簡単な説明】
【0007】
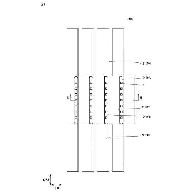
熱交換器100の平面図である。
図1中のII-IIにおける断面図である。
熱交換器100の第1側面図である。
図3とは反対側から見た熱交換器100の第2側面図である。
伝熱管10の断面図である。
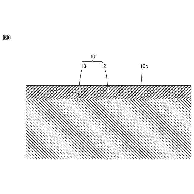
表面10cの近傍における伝熱管10の拡大断面図である。
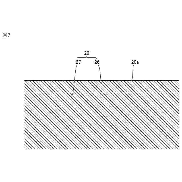
表面20aの近傍におけるフィン20の拡大断面図である。
アルミニウム合金の表面における親水性を説明するモデル図である。
冷凍サイクル装置200の模式図である。
【発明を実施するための形態】
【0008】
本開示の実施形態の詳細を、図面を参照しながら説明する。以下の図面では、同一又は相当する部分に同一の参照符号を付し、重複する説明は繰り返さないものとする。
【0009】
実施の形態1.
実施の形態1に係る熱交換器を説明する。実施の形態1に係る熱交換器を、熱交換器100とする。
【0010】
(熱交換器100の構成)
図1は、熱交換器100の平面図である。図2は、図1中のII-IIにおける断面図である。図3は、熱交換器100の第1側面図である。図4は、図3とは反対側から見た熱交換器100の第2側面図である。図5は、伝熱管10の断面図である。図1、図2、図3、図4及び図5に示されているように、熱交換器100は、複数の伝熱管10と、複数のフィン20とを有している。熱交換器100は、例えば、冷却器として用いられる熱交換器である。熱交換器100は、例えば、空気調和機に用いられる熱交換器である。但し、熱交換器100は、冷蔵庫、冷凍庫、自動販売機、冷凍装置又は給湯器等の冷熱機器に用いられる熱交換器であってもよい。
(【0011】以降は省略されています)
この特許をJ-PlatPat(特許庁公式サイト)で参照する
関連特許
三菱電機株式会社
換気扇
26日前
三菱電機株式会社
増幅器
17日前
三菱電機株式会社
換気扇
26日前
三菱電機株式会社
冷蔵庫
13日前
三菱電機株式会社
換気扇
26日前
三菱電機株式会社
扇風機
11日前
三菱電機株式会社
回転電機
1か月前
三菱電機株式会社
収集装置
24日前
三菱電機株式会社
照明装置
4日前
三菱電機株式会社
電子機器
27日前
三菱電機株式会社
空気調和機
19日前
三菱電機株式会社
半導体装置
1か月前
三菱電機株式会社
半導体装置
12日前
三菱電機株式会社
保護リレー
12日前
三菱電機株式会社
加熱調理器
1か月前
三菱電機株式会社
制御システム
4日前
三菱電機株式会社
空調システム
6日前
三菱電機株式会社
炊飯システム
13日前
三菱電機株式会社
光源デバイス
4日前
三菱電機株式会社
貯湯式給湯機
13日前
三菱電機株式会社
貯湯式給湯機
4日前
三菱電機株式会社
照明システム
1か月前
三菱電機株式会社
ねじ締め装置
17日前
三菱電機株式会社
点検管理装置
11日前
三菱電機株式会社
空調システム
17日前
三菱電機株式会社
貯湯式給湯機
14日前
三菱電機株式会社
貯湯式給湯機
1か月前
三菱電機株式会社
給湯システム
1か月前
三菱電機株式会社
調理システム
13日前
三菱電機株式会社
樹脂成形用金型
17日前
三菱電機株式会社
誘導加熱調理器
26日前
三菱電機株式会社
非常用照明装置
1か月前
三菱電機株式会社
移動体監視装置
3日前
三菱電機株式会社
電動機制御装置
1か月前
三菱電機株式会社
空気清浄システム
1か月前
三菱電機株式会社
全館空調システム
24日前
続きを見る
他の特許を見る