TOP
|
特許
|
意匠
|
商標
特許ウォッチ
Twitter
他の特許を見る
10個以上の画像は省略されています。
公開番号
2025155470
公報種別
公開特許公報(A)
公開日
2025-10-14
出願番号
2024079988
出願日
2024-05-16
発明の名称
無段変速装置
出願人
リ,ソン ウォン
代理人
個人
,
個人
主分類
F16H
9/08 20060101AFI20251002BHJP(機械要素または単位;機械または装置の効果的機能を生じ維持するための一般的手段)
要約
【課題】本発明は、無段変速装置を提供する。
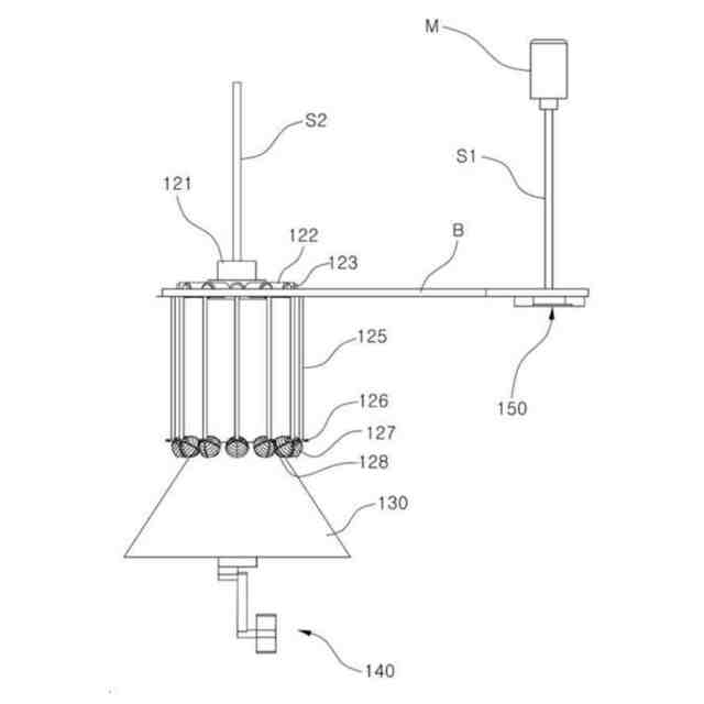
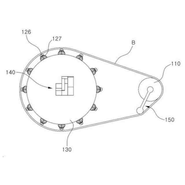
【解決手段】本発明の無段変速装置は、動力発生装置と結合され、前記動力発生装置から発生する動力によって第1回転半径および第1回転数で回転する原動プーリ部;一側が前記原動プーリ部の外面の一部に引っ掛かったチェーン部の他側が、外面の一部に引っ掛かって第2回転半径および第2回転数で回転される従動プーリ部;および回転する前記従動プーリ部の下部を支持するが、前記従動プーリ部と接した状態で、前記従動プーリ部に向かう第1方向に移動するか、前記第1方向とは反対方向である第2方向に移動する支持部;を含み、前記従動プーリ部は、前記支持部の前記第1方向または前記第2方向への移動によって前記第2回転半径が長くなるか短くなるように変形されることができる。
【選択図】図1
特許請求の範囲
【請求項1】
動力発生装置と結合され、前記動力発生装置から発生する動力によって第1回転半径および第1回転数で回転する原動プーリ部;
一側が前記原動プーリ部の外面の一部に引っ掛かったチェーン部の他側が外面の一部に引っ掛かって第2回転半径および第2回転数で回転する従動プーリ部;および
回転する前記従動プーリ部の下部を支持するが、前記従動プーリ部と接した状態で、前記従動プーリ部に向かう第1方向に移動するか、前記第1方向とは反対方向である第2方向に移動する支持部;
を含み、
前記従動プーリ部は、
前記支持部の前記第1方向または前記第2方向への移動によって、前記第2回転半径が長くなるか短くなるように変形されることを特徴とする、
無段変速装置。
続きを表示(約 1,300 文字)
【請求項2】
前記従動プーリ部は、
前記第2回転数が変更することにより、前記第1回転数および前記第2回転数の間の割合である変速比が変更することを特徴とする、
請求項1に記載の無段変速装置。
【請求項3】
前記従動プーリ部は、
前記動力が伝達されて回転する従動軸が結合する回転プレート;および
前記回転プレートから延びるが、前記回転プレートと同一平面上に位置され、長さが可変して端部に前記チェーン部が引っ掛かる複数の回転シャフト;
を備えることを特徴とする、
請求項1に記載の無段変速装置。
【請求項4】
前記従動プーリ部は、
前記支持部に向かう方向に、前記複数の回転シャフトのそれぞれから延びて形成される複数の支持シャフト;
前記複数の支持シャフトの端部に締結され、半球状に形成される複数の回転ホルダー;および
前記複数の回転ホルダーのそれぞれに回転自在に結合され、前記支持部の傾斜した側面に接した状態で、前記支持部によって支持される複数の回転ボール;
をさらに備えることを特徴とする、
請求項3に記載の無段変速装置。
【請求項5】
前記支持部は、
上部面と下部面の直径が異なる円筒状または円錐状に形成され、前記複数の回転ボールの間に位置し、傾斜した前記側面が前記複数の回転ボールを支持することを特徴とする、
請求項4に記載の無段変速装置。
【請求項6】
前記複数の回転ボールは、
前記支持部が前記第1方向に移動するほど、同一平面上に位置する前記支持部の断面の断面積が増加して、相互離隔距離が長くなり、
前記複数の回転ホルダーは、
前記複数の回転ボール間の相互離隔距離が長くなる場合、相互離隔距離が長くなり、
前記複数の支持シャフトは、
前記複数の回転ホルダー間の相互離隔距離が長くなる場合、相互離隔距離が長くなり、
前記複数の回転シャフトは、
前記複数の支持シャフト間の相互離隔距離が長くなる場合、長さが延長可変することにより、前記第2回転半径が長くなり、前記第2回転数と変速比が低くなることを特徴とする、
請求項5に記載の無段変速装置。
【請求項7】
前記複数の回転ボールは、
前記支持部が前記第2方向に移動するほど、同一平面上に位置する前記支持部の断面の断面積が減少し、相互離隔距離が短くなり、
前記複数の回転ホルダーは、
前記複数の回転ボール間の相互離隔距離が短くなる場合、相互離隔距離が短くなり、
前記複数の支持シャフトは、
前記複数の回転ホルダー間の相互離隔距離が短くなる場合、相互離隔距離が短くなり、
前記複数の回転シャフトは、
前記複数の支持シャフト間の相互離隔距離が短くなる場合、長さが短縮可変することにより、前記第2回転半径が短くなり、前記第2回転数と変速比が高くなることを特徴とする、
請求項6に記載の無段変速装置。
発明の詳細な説明
【技術分野】
【0001】
本発明は、無段変速装置に関し、より詳しくは、チェーン部の一側が動力発生装置と結合して回転する原動プーリ部に引っ掛かって、チェーン部の他側が従動軸と結合された従動プーリ部に引っ掛かり、従動プーリ部を支持する支持部の移動に応じて従動プーリ部の回転半径が長くなったり短くなったりすることで、変速衝撃のない、それにより特殊なチェーンが不要な無段変速装置に関する。
続きを表示(約 1,000 文字)
【背景技術】
【0002】
変速装置は、2軸の一側から他側へ回転を伝達するときに、2軸間の回転速度を段階的または無段階に変換する装置である。
【0003】
変速原理によって、機械的変速装置、流体的変速装置、電気的変速装置があり、回転速度の変化を段階的に変化させる段階変速装置と、連続的に変化させる無段階変速装置がある。段差を用いたベルト電動、滑り歯車、クラッチ、滑りキーなどは機械的段階変速装置であり、摩擦電動装置、巻上げ電動装置などは機械的無段階変速装置である。
【0004】
通常、段階変速装置は、回転速度の変化を段階的に変化させるために、2軸間に連結された動力伝達媒体(例えば、ギア、チェーンおよびベルト)の位置を段階的に移動させることとなる。
【0005】
この際、持続して2軸が回転している間に動力伝達媒体の位置が変わることにより、動力伝達媒体の位置が変更するときに、変更する位置で締結される軸と衝突が生じて変速衝撃が発生することになる。
【0006】
また、前述したように、停止した状態の軸ではなく、回転している状態の軸と動力伝達媒体とが衝突するため、その衝突による変速衝撃の大きさが非常に大きいことがあり得る。
【0007】
したがって、変速時に衝撃がなく、連続して回転速度(回転比、変速比)を変更できる技術が求められている。
【先行技術文献】
【特許文献】
【0008】
韓国登録特許第10-1238414号公報
【発明の概要】
【発明が解決しようとする課題】
【0009】
本発明の目的は、チェーン部の一側が動力発生装置と結合して回転する原動プーリ部に引っ掛かり、チェーン部の他側が従動軸と結合された従動プーリ部に引っ掛かり、従動プーリ部を支持する支持部の移動に伴い従動プーリ部の回転半径が長くなったり短くなったりすることで、変速衝撃無しで無段変速が可能な変速装置を提供しようとする。
【0010】
本発明の目的は、以上で述べた目的に制限されず、言及されていない本発明の他の目的および利点は、以下の説明によって理解されることができ、本発明の実施例によって、より明確に理解される。さらに、本発明の目的および利点は、特許請求の範囲に示された手段およびその組み合わせによって実現され得ることが容易に理解できる。
【課題を解決するための手段】
(【0011】以降は省略されています)
この特許をJ-PlatPat(特許庁公式サイト)で参照する
関連特許
他の特許を見る