TOP
|
特許
|
意匠
|
商標
特許ウォッチ
Twitter
他の特許を見る
公開番号
2025155423
公報種別
公開特許公報(A)
公開日
2025-10-14
出願番号
2024059246
出願日
2024-04-01
発明の名称
高速道路の障害物検知システム
出願人
トヨタ自動車株式会社
代理人
個人
,
個人
主分類
G08G
1/16 20060101AFI20251006BHJP(信号)
要約
【課題】障害物検知を精度良く行うことができる、高速道路の障害物検知システムを提供する。
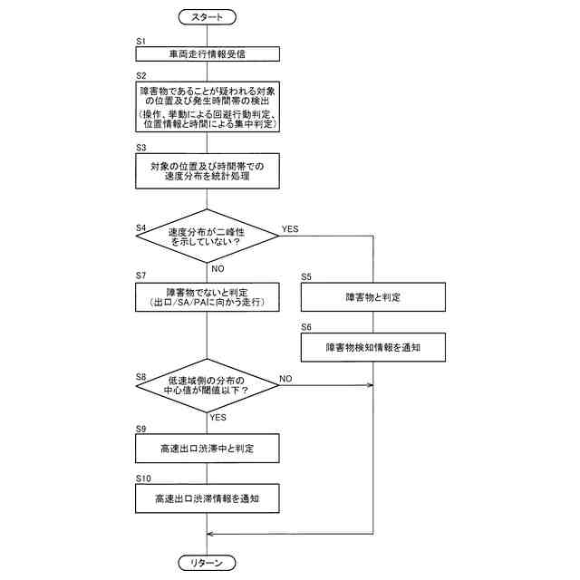
【解決手段】対象検出部34により、車両毎の操作(ステアリング、アクセル、ブレーキ、ウインカー等)や操作に伴う挙動(加減速、前後左右加速度、ヨー加速度等)が蓄積された車両走行情報VIから、障害物であることが疑われる対象Qの位置Pt及び発生した時間帯Ttが検出され、障害物検知部36により、位置Pt及び時間帯Ttを走行した複数の車両10、12の速度分布が、二峰性を示していないか否かに基づいて、対象Qが障害物26であるか否かが判定され、障害物26が検知される。これにより、障害物検知を精度良く行うことができる。
【選択図】図2
特許請求の範囲
【請求項1】
高速道路を走行する複数の車両から送信される車両走行情報に基づいて前記高速道路上の障害物を検知し、前記障害物から所定範囲内を走行する車両に障害物検知情報を通知する、高速道路の、障害物検知システムであって、
前記車両走行情報に基づいて、障害物であることが疑われる対象の位置及び発生した時間帯を検出する対象検出部と、
前記位置及び前記時間帯を走行した前記複数の車両の速度分布が二峰性を示していないか否かに基づいて、前記対象が前記障害物であるか否かを判定し、前記障害物の検知を行う障害物検知部と、を含む
ことを特徴とする高速道路の障害物検知システム。
発明の詳細な説明
【技術分野】
【0001】
本発明は、高速道路を走行中の車両の車両走行情報に基づいて、高速道路上の障害物を検知する、高速道路の障害物検知システムに関するものである。
続きを表示(約 1,600 文字)
【背景技術】
【0002】
高速道路を走行中の車両の車両走行情報に基づいて、高速道路上の障害物を検知する技術が開示されている。たとえば、特許文献1に記載されたシステムがそれである。
【先行技術文献】
【特許文献】
【0003】
特開2020-87309号公報
【発明の概要】
【発明が解決しようとする課題】
【0004】
上記従来のシステムでは、障害物の検知は、車両毎の操作(ステアリング、アクセル、ブレーキ、ウインカー等)や操作に伴う挙動(加減速、前後左右加速度、ヨー加速度等)の情報、即ち、車両走行情報によって行われており、例えば、障害物に対する回避が疑われる車両走行情報が、同じ場所、同じ時間帯に見られることで、障害物と判定、検知されていた。しかしながら、障害物回避の車両走行情報と、高速道路の出口やサービスエリア、パーキングエリア等への進入口(以下、高速出口とする)へ向かう車両走行情報と、が類似しており、誤検知になりやすいといった課題があった。
【0005】
本発明は、以上の事情を背景として為されたものであり、その目的とするところは、障害物検知を精度良く行うことができる、高速道路の障害物検知システムを提供することにある。
【課題を解決するための手段】
【0006】
本発明の要旨とするところは、(a)高速道路を走行する複数の車両から送信される車両走行情報に基づいて前記高速道路上の障害物を検知し、前記障害物から所定範囲内を走行する車両に障害物検知情報を通知する、高速道路の、障害物検知システムであって、(b)前記車両走行情報に基づいて、障害物であることが疑われる対象の位置及び発生した時間帯を検出する対象検出部と、(c)前記位置及び前記時間帯を走行した前記複数の車両の速度分布が二峰性を示していないか否かに基づいて、前記対象が前記障害物であるか否かを判定し、前記障害物の検知を行う障害物検知部と、を含むことにある。
【発明の効果】
【0007】
本発明の高速道路用の障害物検知システムによれば、前記対象検出部により、前記車両走行情報から、障害物であることが疑われる対象の位置及び発生した時間帯が検出され、前記障害物検知部により、前記位置及び前記時間帯を走行した前記複数の車両の速度分布が二峰性を示していないか否かに基づいて、前記対象が障害物であるか否かが判定され、前記障害物が検知される。これにより、障害物検知を精度良く行うことができる。
【0008】
好適には、前記障害物検知部により、前記速度分布が二峰性を示しており、前記対象が前記障害物でないと判定された場合は、前記高速出口へ向かう走行として、更に、出口渋滞判定部により、前記速度分布の低速域側の中心値が予め設定された閾値以下か否かが判定される。前記中心値が前記閾値以下の場合は、前記高速出口が渋滞中と判定される。これにより、前記高速出口での渋滞検知も精度良く行うことができる。更に、前記高速出口から所定範囲内を走行する車両に高速出口渋滞情報を通知することができる。
【図面の簡単な説明】
【0009】
本発明の一実施例の高速道路の障害物検知システムを説明する概略図である。
図1の高速道路の障害物検知システムの制御作動を説明するフローチャートである。
図1の高速道路において、障害物回避時の車両挙動、速度分布と、高速出口に向かう走行時の車両挙動、速度分布と、の違いを説明する図である。
【発明を実施するための形態】
【0010】
以下、本発明の実施例を図面を参照して詳細に説明する。
【実施例】
(【0011】以降は省略されています)
この特許をJ-PlatPat(特許庁公式サイト)で参照する
関連特許
トヨタ自動車株式会社
車両
25日前
トヨタ自動車株式会社
方法
3日前
トヨタ自動車株式会社
車体
3日前
トヨタ自動車株式会社
車両
10日前
トヨタ自動車株式会社
車体
19日前
トヨタ自動車株式会社
車両
10日前
トヨタ自動車株式会社
車両
3日前
トヨタ自動車株式会社
車両
16日前
トヨタ自動車株式会社
車両
3日前
トヨタ自動車株式会社
電池
16日前
トヨタ自動車株式会社
電池
4日前
トヨタ自動車株式会社
方法
16日前
トヨタ自動車株式会社
治具
11日前
トヨタ自動車株式会社
車両
4日前
トヨタ自動車株式会社
車両
12日前
トヨタ自動車株式会社
方法
18日前
トヨタ自動車株式会社
方法
17日前
トヨタ自動車株式会社
車両
18日前
トヨタ自動車株式会社
方法
17日前
トヨタ自動車株式会社
車両
23日前
トヨタ自動車株式会社
車両
17日前
トヨタ自動車株式会社
電池
23日前
トヨタ自動車株式会社
自動車
17日前
トヨタ自動車株式会社
電動機
16日前
トヨタ自動車株式会社
正極層
16日前
トヨタ自動車株式会社
モータ
18日前
トヨタ自動車株式会社
モータ
2日前
トヨタ自動車株式会社
蓄電池
3日前
トヨタ自動車株式会社
モータ
24日前
トヨタ自動車株式会社
モータ
13日前
トヨタ自動車株式会社
サーバ
13日前
トヨタ自動車株式会社
飛行体
23日前
トヨタ自動車株式会社
蓄電装置
10日前
トヨタ自動車株式会社
蓄電装置
10日前
トヨタ自動車株式会社
樹脂外板
3日前
トヨタ自動車株式会社
充電設備
23日前
続きを見る
他の特許を見る