TOP
|
特許
|
意匠
|
商標
特許ウォッチ
Twitter
他の特許を見る
公開番号
2025155421
公報種別
公開特許公報(A)
公開日
2025-10-14
出願番号
2024059244
出願日
2024-04-01
発明の名称
車両用操舵制御装置
出願人
トヨタ自動車株式会社
代理人
個人
,
個人
主分類
B62D
6/00 20060101AFI20251006BHJP(鉄道以外の路面車両)
要約
【課題】車両の電源投入時に、運転者が正確な操舵ができないまま走行開始してしまうことを回避できる車両用操舵制御装置を提供する。
【解決手段】車両固定制御部52は、操作輪ECU42及び転舵車輪ECU44が転舵車輪32の舵角θwをステアリングホイール22の操舵角θsに基づく目標舵角θtに補正する舵角補正中は、車両10を固定し、舵角補正が完了するまでは、車両固定装置解放操作スイッチ62の操作による車両固定解除要求に拘わらず車両固定装置60による車両固定を解除しない。これにより、車両10の電源投入時に、運転者が正確な操舵ができないまま走行開始してしまうことを回避できる。
【選択図】図2
特許請求の範囲
【請求項1】
ステアリングホイールと転舵車輪とが機械的に切り離され、前記ステアリングホイールの操舵角に応じて前記転舵車輪の舵角を舵角モータの制御で変化させるとともに、
車両の電源投入時に、前記舵角を前記操舵角に応じた角度に補正する舵角補正を行う、車両用操舵制御装置であって、
前記舵角補正中は前記車両を固定し、前記舵角補正が完了するまでは、車両固定解除要求に拘わらず前記車両の固定を解除しない車両固定制御部を、備える
ことを特徴とする車両用操舵制御装置。
発明の詳細な説明
【技術分野】
【0001】
本発明は、ステアバイワイヤ方式の車両用操舵制御装置に関するものである。
続きを表示(約 1,400 文字)
【背景技術】
【0002】
ステアリングホイールと転舵車輪とが機械的に切り離され、ステアリングホイールの操舵角に応じて、転舵車輪の舵角を舵角モータの制御で変化させる、ステアバイワイヤ方式の車両用操舵制御装置が知られている。たとえば、特許文献1に記載された操舵制御装置が、それである。
【先行技術文献】
【特許文献】
【0003】
特開2023-131351号公報
【発明の概要】
【発明が解決しようとする課題】
【0004】
ステアバイワイヤ方式の車両用操舵制御装置は、ステアリングホイールの制御装置と転舵車輪の制御装置との間で、制御信号や制御情報等の通信を介して、前記操舵角と前記舵角とを追従させる制御がされている。つまり、ステアリングホイールと転舵車輪とは、電気的な連結がされて作動している。しかし、車両電源の切断時は、前述の電気的な連結が解除されるので、電源切断中にステアリングホイールが回されると、前記操舵角と前記舵角との間の追従性がずれてしまう。そのため、車両電源投入時に、前記舵角を前記操舵角に応じた角度に補正する制御(舵角補正)が行われる。ところが、舵角補正完了前に走行を開始してしまうと、運転者が正確な操舵をすることができず、車両をコントロールできなくなるといったおそれがあった。
【0005】
本発明は、以上の事情を背景として為されたものであり、その目的とするところは、車両の電源投入時に、運転者が正確な操舵ができないまま走行開始してしまうことを回避できる車両用操舵制御装置を提供することにある。
【課題を解決するための手段】
【0006】
本発明の要旨とするところは、(a)ステアリングホイールと転舵車輪とが機械的に切り離され、前記ステアリングホイールの操舵角に応じて前記転舵車輪の舵角を舵角モータの制御で変化させるとともに、車両の電源投入時に、前記舵角を前記操舵角に応じた角度に補正する舵角補正を行う、車両用操舵制御装置であって、(b)前記舵角補正中は前記車両を固定し、前記舵角補正が完了するまでは、車両固定解除要求に拘わらず前記車両の固定を解除しない車両固定制御部を、備えることにある。
【発明の効果】
【0007】
本発明の車両用操舵制御装置によれば、前記車両固定制御部により、前記舵角補正中は前記車両が固定され、前記舵角補正が完了するまでは、車両固定解除要求に拘わらず前記車両の固定が解除されない。これにより、前記車両の電源投入時に、運転者が正確な操舵ができないまま走行開始してしまうことを回避できる。
【図面の簡単な説明】
【0008】
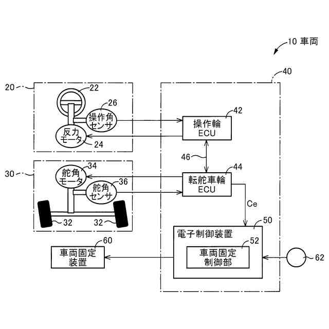
本発明が適用される車両用操舵制御装置の一例を説明する図である。
図1の車両用操舵制御装置の制御作動の要部を説明するタイムチャートである。
図1の車両用操舵制御装置の制御作動の要部を説明するフローチャートである。
【発明を実施するための形態】
【0009】
以下、本発明の実施例を図面を参照して詳細に説明する。
【実施例】
【0010】
図1において、車両10は、操舵機構20と、転舵機構30と、を備えている。操舵機構20と転舵機構30とは、機械的に切り離されており、所謂ステアバイワイヤ方式の操舵装置を構成している。
(【0011】以降は省略されています)
この特許をJ-PlatPat(特許庁公式サイト)で参照する
関連特許
個人
カート
4か月前
個人
走行装置
4か月前
個人
三輪バイク
18日前
個人
電動走行車両
4か月前
個人
乗り物
6か月前
個人
発音装置
8か月前
個人
駐輪設備
2か月前
個人
自転車用歩数計
26日前
個人
閂式ハンドル錠
4か月前
個人
電動モビリティ
8か月前
個人
折り畳み自転車
11か月前
個人
ボギー・フレーム
2か月前
個人
三輪電動車両
26日前
個人
ルーフ付きトライク
3か月前
個人
体重掛けリフト台車
11か月前
個人
“zen-go.”
3か月前
個人
自由方向乗車自転車
8か月前
個人
ルーフ付きトライク
2か月前
井関農機株式会社
作業車両
11日前
個人
車の室内高温防止屋根
4日前
個人
パワーアシスト自転車
2か月前
個人
自転車用荷物台
12か月前
個人
キャンピングトライク
9か月前
個人
ステアリングの操向部材
9か月前
株式会社三五
リアサブフレーム
11か月前
個人
フロントフットブレーキ。
4か月前
株式会社豊田自動織機
産業車両
5か月前
学校法人千葉工業大学
車両
10か月前
豊田鉄工株式会社
小型車両
4か月前
学校法人千葉工業大学
車両
10か月前
学校法人千葉工業大学
車両
10か月前
個人
乗用自動車のディフューザー
1か月前
個人
ホイールハブ駆動構造
5か月前
株式会社カインズ
台車
11か月前
株式会社クボタ
作業車
7か月前
株式会社カインズ
台車
8か月前
続きを見る
他の特許を見る