TOP
|
特許
|
意匠
|
商標
特許ウォッチ
Twitter
他の特許を見る
公開番号
2025155410
公報種別
公開特許公報(A)
公開日
2025-10-14
出願番号
2024059230
出願日
2024-04-01
発明の名称
電池パック構造体
出願人
トヨタ自動車株式会社
代理人
弁理士法人太陽国際特許事務所
主分類
B62D
25/20 20060101AFI20251006BHJP(鉄道以外の路面車両)
要約
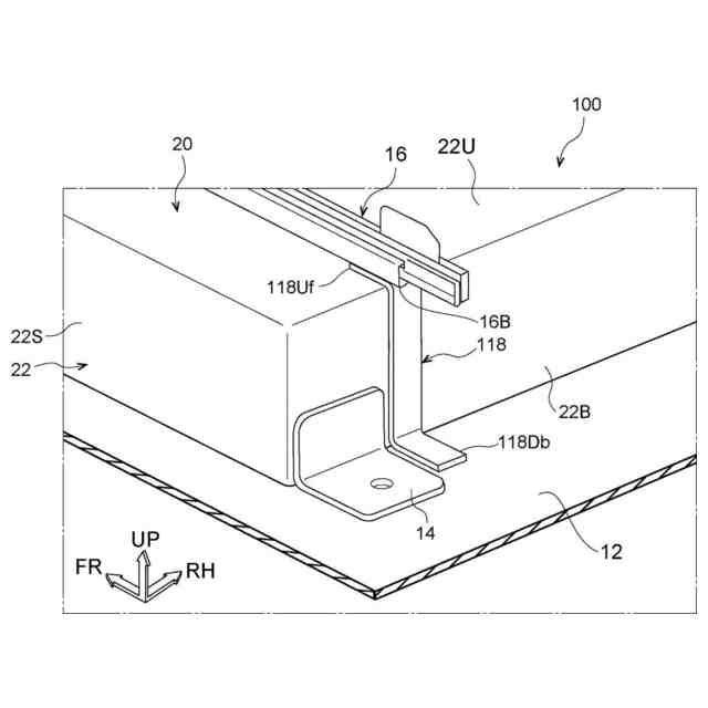
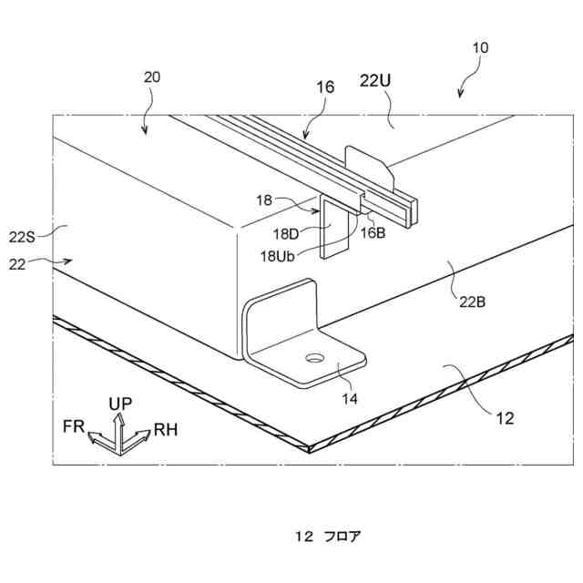
【課題】シートフレームの部品サイズを低減できる電池パック構造体を得る。
【解決手段】車両のフロアに固定された電池パック20と、車両前後方向に延在し、電池パック20の上壁22Uに接触した状態で配置されたシートレール16と、電池パック20の前壁22F及び後壁22Bとシートレール16の前部及び後部とをそれぞれ連結した前後一対のシートフレーム18と、を備えた電池パック構造体10とする。
【選択図】図2
特許請求の範囲
【請求項1】
車両のフロアに固定された電池パックと、
車両前後方向に延在し、前記電池パックの上壁に接触した状態で配置されたシートレールと、
前記電池パックの前壁及び後壁と前記シートレールの前部及び後部とをそれぞれ連結した前後一対のシートフレームと、
を備えた電池パック構造体。
続きを表示(約 94 文字)
【請求項2】
前記前後一対のシートフレームの下部は、それぞれ前記電池パックの前壁及び後壁の車両上下方向中央部から上側に取り付けられている請求項1に記載の電池パック構造体。
発明の詳細な説明
【技術分野】
【0001】
本発明は、電池パック構造体に関する。
続きを表示(約 1,100 文字)
【背景技術】
【0002】
フロアパネル上に設置されたメインバッテリを跨ぐように、シート支持フレームが配置されたバッテリ搭載構造は、従来から知られている(例えば、特許文献1参照)。このシート支持フレームは、シートレール、前側シートレッグ、後側シートレッグで構成されている。
【先行技術文献】
【特許文献】
【0003】
特開2021-017095号公報
【発明の概要】
【発明が解決しようとする課題】
【0004】
しかしながら、このような構成であると、シートレールとバッテリ(電池パック)の上壁との間に隙間(部品隙)が生じてしまうため、シートレッグ(シートフレーム)の部品サイズが大きくなってしまう。
【0005】
そこで、本発明は、シートフレームの部品サイズを低減できる電池パック構造体を得ることを目的とする。
【課題を解決するための手段】
【0006】
上記の目的を達成するために、本発明に係る第1の態様の電池パック構造体は、車両のフロアに固定された電池パックと、車両前後方向に延在し、前記電池パックの上壁に接触した状態で配置されたシートレールと、前記電池パックの前壁及び後壁と前記シートレールの前部及び後部とをそれぞれ連結した前後一対のシートフレームと、を備えている。
【0007】
第1の態様の発明によれば、車両のフロアに固定された電池パックの上壁に、車両前後方向に延在するシートレールが接触した状態で配置され、そのシートレールの前部及び後部と電池パックの前壁及び後壁とがそれぞれ前後一対のシートフレームで連結されている。したがって、シートレールと電池パックの上壁との間に隙間が生じず、シートフレームの部品サイズが低減される。
【0008】
また、本発明に係る第2の態様の電池パック構造体は、第1の態様の電池パック構造体であって、前記前後一対のシートフレームの下部は、それぞれ前記電池パックの前壁及び後壁の車両上下方向中央部から上側に取り付けられている。
【0009】
第2の態様の発明によれば、前後一対のシートフレームの下部が、それぞれ電池パックの前壁及び後壁の車両上下方向中央部から上側に取り付けられている。したがって、シートフレームの車両上下方向に沿った長さを短くすることができ、シートフレームの部品サイズがより一層低減される。
【発明の効果】
【0010】
以上のように、本発明によれば、シートフレームの部品サイズを低減させることができる。
【図面の簡単な説明】
(【0011】以降は省略されています)
この特許をJ-PlatPat(特許庁公式サイト)で参照する
関連特許
トヨタ自動車株式会社
車両
4日前
トヨタ自動車株式会社
車両
10日前
トヨタ自動車株式会社
治具
11日前
トヨタ自動車株式会社
方法
3日前
トヨタ自動車株式会社
車両
3日前
トヨタ自動車株式会社
車両
3日前
トヨタ自動車株式会社
車両
10日前
トヨタ自動車株式会社
電池
4日前
トヨタ自動車株式会社
車体
3日前
トヨタ自動車株式会社
モータ
2日前
トヨタ自動車株式会社
蓄電池
3日前
トヨタ自動車株式会社
濾過装置
4日前
トヨタ自動車株式会社
路側装置
2日前
トヨタ自動車株式会社
路側装置
2日前
トヨタ自動車株式会社
電動車両
2日前
トヨタ自動車株式会社
路側装置
2日前
トヨタ自動車株式会社
制御装置
2日前
トヨタ自動車株式会社
路側装置
2日前
トヨタ自動車株式会社
電動車両
3日前
トヨタ自動車株式会社
電源装置
11日前
トヨタ自動車株式会社
推定装置
2日前
トヨタ自動車株式会社
蓄電装置
10日前
トヨタ自動車株式会社
電動車両
2日前
トヨタ自動車株式会社
鋳造装置
2日前
トヨタ自動車株式会社
蓄電装置
10日前
トヨタ自動車株式会社
蓄電装置
11日前
トヨタ自動車株式会社
蓄電装置
10日前
トヨタ自動車株式会社
樹脂外板
3日前
トヨタ自動車株式会社
電池装置
12日前
トヨタ自動車株式会社
制御装置
2日前
トヨタ自動車株式会社
蓄電装置
2日前
トヨタ自動車株式会社
サーバ装置
10日前
トヨタ自動車株式会社
電池パック
10日前
トヨタ自動車株式会社
全固体電池
10日前
トヨタ自動車株式会社
電池パック
3日前
トヨタ自動車株式会社
情報処理装置
3日前
続きを見る
他の特許を見る