TOP
|
特許
|
意匠
|
商標
特許ウォッチ
Twitter
他の特許を見る
10個以上の画像は省略されています。
公開番号
2025155183
公報種別
公開特許公報(A)
公開日
2025-10-14
出願番号
2024058821
出願日
2024-04-01
発明の名称
注入管継手構造及びトンネル補助工法
出願人
株式会社ケー・エフ・シー
代理人
個人
主分類
E21D
9/04 20060101AFI20251006BHJP(地中もしくは岩石の削孔;採鉱)
要約
【課題】多数の注入管のそれぞれに対して注入圧送管を接続し、取り外す作業が必要とされているトンネル補助工法において、施工作業の労力を大幅に低減し、効率化を図ることができる。
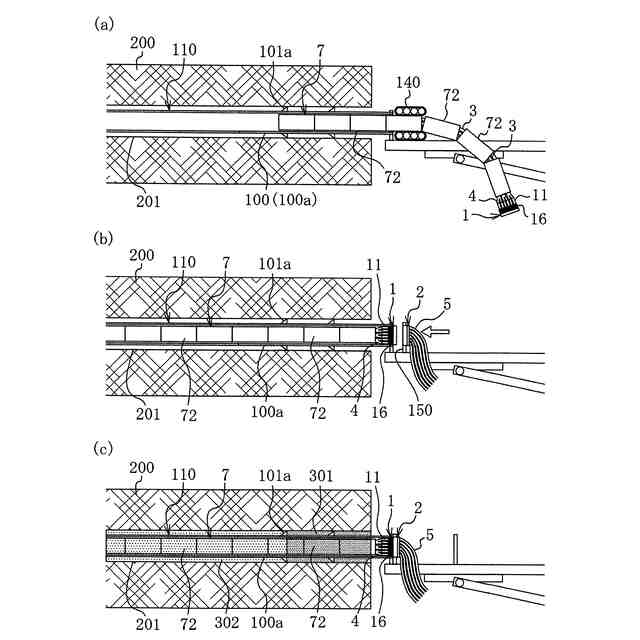
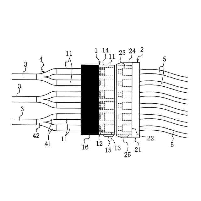
【解決手段】定着材吐出孔が周壁に点在形成され且つトンネルの地山200に打設される補強管100の口元に定置される一方のコネクタ1に、補強管100に内挿される複数の注入管3に定着材を導入する複数の導入管部11が設けられ、導入管部11の各々に逆流防止用の逆止弁12が設置され、一方のコネクタ1と接続される他方のコネクタ2に、複数の注入圧送管5の各々に連通されている複数の導出口部22が設けられ、他方のコネクタ2の導出口部22が、一方のコネクタ1の導入管部11のそれぞれに対応して着脱自在に係着される注入管継手構造。
【選択図】図1
特許請求の範囲
【請求項1】
定着材吐出孔が周壁に点在形成され且つトンネルの地山に打設される補強管の口元に定置される一方のコネクタに、前記補強管に内挿される複数の注入管に定着材を導入する複数の導入管部が設けられ、前記導入管部の各々に逆流防止用の逆止弁が設置され、
前記一方のコネクタと接続される他方のコネクタに、複数の注入圧送管の各々に連通されている複数の導出口部が設けられ、
前記他方のコネクタの前記導出口部が、前記一方のコネクタの前記導入管部のそれぞれに対応して着脱自在に係着されることを特徴とする注入管継手構造。
続きを表示(約 1,800 文字)
【請求項2】
前記導出口部のそれぞれが対応する前記導入管部に対応配置されるように、接続方向に対する前記他方のコネクタと前記一方のコネクタの周方向の位置を合わせる位置合わせ部が設けられていることを特徴とする請求項1記載の注入管継手構造。
【請求項3】
前記一方のコネクタに、前記補強管の内周壁との摩擦で定置される栓材が周設され、
1個の前記注入管に対して複数個の前記導入管部を接続する合流管が前記栓材と前記注入管との間の前記補強管内に配設されることを特徴とする請求項1又は2記載の注入管継手構造。
【請求項4】
定着材吐出孔が周壁に点在形成された補強管を長手方向に連結しながらトンネルの地山に打設して、連結補強管を前記地山に打設する第1工程と、
複数の注入管に定着材を導入する複数の導入管部が設けられ、前記導入管部の各々に逆流防止用の逆止弁が設置されている一方のコネクタと、複数の注入圧送管の各々に連通されている複数の導出口部が設けられている他方のコネクタとから構成され、前記他方のコネクタの前記導出口部が、前記一方のコネクタの前記導入管部のそれぞれに対応して着脱自在に係着される注入管継手構造を用い、前記他方のコネクタに接続されている前記一方のコネクタに取り付けられた前記複数の注入管を前記連結補強管に内挿すると共に、前記連結補強管の地山から一部が突出した端末補強管の口元に前記一方のコネクタを定置する第2工程と、
前記注入圧送管、前記他方のコネクタの前記導出口部、前記一方のコネクタの前記導入管部、前記注入管を介して定着材を構成する薬液若しくは定着材を注入し、前記連結補強管の周囲に前記定着材吐出孔から定着材を吐出させる第3工程と、
前記導出口部を前記導入管部の係着から離脱させて前記他方のコネクタを前記一方のコネクタから取り外す第4工程と、を備えることを特徴とするトンネル補助工法。
【請求項5】
定着材吐出孔が周壁に点在形成された補強管を長手方向に連結しながらトンネルの地山に打設して、連結補強管を前記地山に打設する第1工程と、
複数の注入管に定着材を導入する複数の導入管部が設けられ、前記導入管部の各々に逆流防止用の逆止弁が設置されている一方のコネクタと、複数の注入圧送管の各々に連通されている複数の導出口部が設けられている他方のコネクタとから構成され、前記他方のコネクタの前記導出口部が、前記一方のコネクタの前記導入管部のそれぞれに対応して着脱自在に係着されると共に、前記導出口部のそれぞれが対応する前記導入管部に対応配置されるように、接続方向に対する前記他方のコネクタと前記一方のコネクタの周方向の位置を合わせる位置合わせ部が設けられている注入管継手構造を用い、前記他方のコネクタと離脱状態の前記一方のコネクタに取り付けられた前記複数の注入管を前記連結補強管に内挿すると共に、前記連結補強管の地山から一部が突出した端末補強管の口元に前記一方のコネクタを定置する第2工程と、
前記位置合わせ部で位置合わせして、前記他方のコネクタの前記導出口部を前記一方のコネクタの前記導入管部のそれぞれに係着し、前記他方のコネクタを前記一方のコネクタに接続する第3工程と、
前記注入圧送管、前記他方のコネクタの前記導出口部、前記一方のコネクタの前記導入管部、前記注入管を介して定着材を構成する薬液若しくは定着材を注入し、前記連結補強管の周囲に前記注入材吐出孔から注入材を吐出させる第4工程と、
前記導出口部を前記導入管部の係着から離脱させて前記他方のコネクタを前記一方のコネクタから取り外す第5工程と、を備えることを特徴とするトンネル補助工法。
【請求項6】
前記第2工程において、前記連結補強管の軸線に沿って延びた状態となり且つ前記複数の注入管の各々が係合されているガイド部材によって、各々の前記注入管の相互間の距離が前記注入管の長手方向に亘って維持されている状態となるように、前記ガイド部材及び前記複数の注入管を前記連結補強管に内挿することを特徴とする請求項4又は5記載のトンネル補助工法。
【請求項7】
前記端末補強管の外周に、定着材の漏れ出しを抑制する凸条が周設されていることを特徴とする請求項4又は5記載のトンネル補助工法。
発明の詳細な説明
【技術分野】
【0001】
本発明は、トンネルの地山に打設される補強管に定着材を注入する注入管を接続する注入管継手構造及び注入管継手構造を用いるトンネル補助工法に関する。
続きを表示(約 2,500 文字)
【背景技術】
【0002】
従来、山岳トンネルの構築で切羽前方の地山補強を行う際に、補強管を複数直列に接続して地山に打設していくAGF工法のようなトンネル補助工法が用いられている。AGF工法では、図9及び図10に示すように、地山401の前方上方又は外周に向けて定着材吐出孔403を有する補強管402を複数本直列に接続して打ち込んで連結補強管404を構成し、長尺の連結補強管404から定着材を注入し、定着材を地山401に浸透させて固結領域405を形成する。補強管402を打ち込む際には、トンネル空間Tにおいて、ドリルジャンボ406の削孔用アーム407のガイドセル408上に内部に削孔ロッド409が内挿された補強管402を搭載し、ガイドセル408上で削孔ロッド409が連結された削孔機械410を前進させることにより、削孔しながら補強管402を引き込むようにして地山401に打設する。
【0003】
そして、補強管402及び削孔ロッド409を根元近傍まで地山401に打設したところで、後続する別の補強管402及び削孔ロッド409を連結する作業を行うことにより、長尺の連結補強管404を地山401の穿孔411に打設する。長尺の連結補強管404の打設後には、連結補強管404から削孔ロッド409を抜き出し、連結補強管404に複数の注入管412を内挿し、連結補強管404の内部に注入管412から定着材を注入し、補強管402の定着材吐出孔403から周囲の地山401に定着材を吐出し、地山401に定着材を浸透させて固結領域405を形成し、地山401を補強する(図10参照)。
【0004】
定着材を注入する際には、穿孔411の口元に穿孔411と端末の補強管402との隙間を閉塞する口元コーキング413を設け、長さが異なる複数の注入管412を結束バンド414で束ねたインサート管415を連結補強管404に内挿して端末の補強管402の後端部に管端コーキング416を設ける。端末の補強管402の外側に位置する、インサート管415を構成する各注入管412の後端部にはY字状の合流管417が設けられ、合流管417の一方の分岐管部と他方の分岐管部には二液反応型定着材を構成する第1薬液と第2薬液が注入圧送管を介して注入ポンプでそれぞれ注入される。各々の合流管417から注入412に注入された定着材は、各注入管412の先端部に設けられたスタティックミキサー418で第1薬液と第2薬液の混合・攪拌が促進され、連結補強管404の内部に吐出され、定着材吐出孔から周囲の地山401に吐出される。
【0005】
このようなAGF工法では、施工作業の労力を低減する提案がなされており、例えば特許文献1では、第2の補強管の先端部に円筒状カプラを取り付け、第2の補強管を第1の補強管に差し込む動作により、第2の補強管の先端部の円筒状カプラを第1の補強管の後端部に嵌合連結できるようにし、補強管相互の連結に要する労力を低減できる提案がなされている。
【先行技術文献】
【特許文献】
【0006】
特許第7410631号公報
【発明の概要】
【発明が解決しようとする課題】
【0007】
ところで、AGF工法は、切羽直近の支保工から斜め上方の地山401に向けて多数の長尺の連結補強管404を打設し、それぞれの連結補強管404に長さが異なる複数の注入管412を挿入して定着材の注入を施し、これから掘削する地山領域を傘で覆うように補強するものである。そのため、定着材の注入の際には、多数の注入管412のそれぞれに対してウレタン等の薬液を注入する注入圧送管を接続し、定着材の注入完了後には、それぞれの注入管412に対して接続された注入圧送管を取り外すという、多大な労力と時間を要する人力作業が必要となる。更に、AGF工法では、注入圧送管の接続、取り外し作業を切羽直近の高所にマンケージ419を上げて行う必要があり、より作業に要する労力と時間が大きくなる。
【0008】
また、例えば長尺の連結補強管を切羽前方地山に複数打設し、それぞれの連結補強管に長さが異なる複数の注入管を挿入して定着材の注入を施す長尺鏡補強工等、多数の注入管のそれぞれに対して注入圧送管を接続し、取り外す作業が必要となるAGF工法以外のトンネル補助工法においても、同様に、多大な労力と時間を要する人力作業が必要とされている。
【0009】
本発明は上記課題に鑑み提案するものであり、多数の注入管のそれぞれに対して注入圧送管を接続し、取り外す作業が必要とされているトンネル補助工法において、施工作業の労力を大幅に低減し、効率化を図ることができる注入管継手構造及びトンネル補助工法を提供することを目的とする。
【課題を解決するための手段】
【0010】
本発明の注入管継手構造は、定着材吐出孔が周壁に点在形成され且つトンネルの地山に打設される補強管の口元に定置される一方のコネクタに、前記補強管に内挿される複数の注入管に定着材を導入する複数の導入管部が設けられ、前記導入管部の各々に逆流防止用の逆止弁が設置され、前記一方のコネクタと接続される他方のコネクタに、複数の注入圧送管の各々に連通されている複数の導出口部が設けられ、前記他方のコネクタの前記導出口部が、前記一方のコネクタの前記導入管部のそれぞれに対応して着脱自在に係着されることを特徴とする。
これによれば、他方のコネクタの導出口部を一方のコネクタの導入管部に係着することにより、複数の注入管に対する複数の注入圧送管の接続作業を一度に行うことができると共に、他方のコネクタの導出口部を一方のコネクタの導入管部から取り外すことにより、複数の注入管に対する複数の注入圧送管の取り外し作業を一度に行うことができる。従って、多数の注入管のそれぞれに対して注入圧送管を接続し、取り外す作業が必要とされているトンネル補助工法において、施工作業の労力を大幅に低減し、効率化を図ることができる。
(【0011】以降は省略されています)
この特許をJ-PlatPat(特許庁公式サイト)で参照する
関連特許
個人
掘削機
5か月前
日特建設株式会社
切断装置
1か月前
株式会社奥村組
地山探査装置
3か月前
株式会社奥村組
地山探査装置
3か月前
株式会社奥村組
地山探査装置
3か月前
株式会社奥村組
地山探査方法
3か月前
株式会社奥村組
シールド掘進機
6か月前
株式会社奥村組
シールド掘進機
2か月前
日特建設株式会社
削孔システム
13日前
株式会社笠原建設
横孔形成方法
7か月前
日特建設株式会社
ボーリング装置
7か月前
岐阜工業株式会社
トンネルセントル
2か月前
花王株式会社
岩盤の掘削方法
5か月前
個人
オープンシールド機
3か月前
株式会社奥村組
セグメントの組立方法
2か月前
個人
オープンシールド機
3か月前
個人
掘削機、及び、資源回収システム
7か月前
株式会社奥村組
泥土圧シールド掘進機
6か月前
株式会社熊谷組
天井板撤去装置
7か月前
岐阜工業株式会社
コンクリート分配装置
26日前
個人
箱形ルーフおよびその施工法
2か月前
大阪瓦斯株式会社
牽引装置
6か月前
デンカ株式会社
静的破砕方法
3か月前
株式会社金澤製作所
発進坑口のエントランス装置
6か月前
大阪瓦斯株式会社
切欠開裂治具
6か月前
地中空間開発株式会社
トンネル掘削機
1か月前
個人
メタンハイドレート等海底鉱物資源の採取方法
4か月前
岐阜工業株式会社
トンネルセントルの妻板装置
3か月前
株式会社奥村組
地山探査装置に用いる地山保持材
3か月前
日鉄建材株式会社
構造物用補強リング及び構造物
2か月前
株式会社ケー・エフ・シー
トンネル水圧調整装置
2か月前
大成建設株式会社
トンネルとその施工方法
7か月前
戸田建設株式会社
掘削機切削部側壁
4か月前
株式会社ケー・エフ・シー
モルタル注入管理システム
7か月前
株式会社トーメック
開削型自走シールド管渠接合装置
5日前
株式会社奥村組
先行ビットおよびそれを備える掘削機
3か月前
続きを見る
他の特許を見る