TOP
|
特許
|
意匠
|
商標
特許ウォッチ
Twitter
他の特許を見る
公開番号
2025155027
公報種別
公開特許公報(A)
公開日
2025-10-14
出願番号
2024058341
出願日
2024-03-30
発明の名称
バッテリモジュール及びその製造方法
出願人
本田技研工業株式会社
代理人
個人
,
個人
主分類
H01M
50/262 20210101AFI20251003BHJP(基本的電気素子)
要約
【課題】バッテリセルの充放電による厚みの変化が大きい場合でも、バッテリセルに対して均一な圧力を付与することができ、かつ小型化が可能なバッテリモジュール及びその製造方法を提供すること。
【解決手段】複数個のバッテリセルを積層したセル積層体と、前記セル積層体の積層方向の両端に配置された一対のエンドプレートと、前記バッテリセルと前記バッテリセルとの間及び前記バッテリセルと前記エンドプレートとの間の少なくとも一方に配置されているクッションと、を含み、前記クッションは、内側弾性容器及び前記内側弾性容器を収容する外側弾性容器を有する第1緩衝材であり、前記内側弾性容器の内部は、気体が充填されていて、前記内側弾性容器と前記外側弾性容器の間に液体が充填されていて、前記外側弾性容器は、液体配管に接続し、前記液体配管は、アキュームレータを有する循環配管である、バッテリモジュール。
【選択図】図1
特許請求の範囲
【請求項1】
複数個のバッテリセルを積層したセル積層体と、
前記セル積層体の積層方向の両端に配置された一対のエンドプレートと、
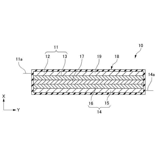
前記バッテリセルと前記バッテリセルとの間及び前記バッテリセルと前記エンドプレートとの間の少なくとも一方に配置されている第1緩衝材と、を含み、
前記第1緩衝材は、内側弾性容器及び前記内側弾性容器を収容する外側弾性容器を有し、
前記内側弾性容器の内部は、気体が充填されていて、
前記内側弾性容器の外面と前記外側弾性容器の内面との間に液体が充填されていて、
前記外側弾性容器は、液体配管に接続し、
前記液体配管は、アキュームレータを有する循環配管である、バッテリモジュール。
続きを表示(約 790 文字)
【請求項2】
前記第1緩衝材は、前記内側弾性容器の容積と前記外側弾性容器の容積の合計容積を100としたときの前記内側弾性容器の容積が30以上70以下の範囲内にある、請求項1に記載のバッテリモジュール。
【請求項3】
さらに、前記液体配管に接続し、内部に液体が充填された第2緩衝材が、前記バッテリセルと前記バッテリセルとの間及び前記バッテリセルと前記エンドプレートとの間の少なくとも一方に配置されている、請求項1に記載のバッテリモジュール。
【請求項4】
前記第1緩衝材は、前記内側弾性容器の容積と前記外側弾性容器の容積の合計容積を100としたときの前記内側弾性容器の容積が50以上90以下の範囲内にある、請求項3に記載のバッテリモジュール。
【請求項5】
前記第1緩衝材が、一対の前記エンドプレートの一方と前記バッテリセルとの間に配置されていて、前記第2緩衝材が前記バッテリセルと前記バッテリセルとの間に配置されている、請求項3又は4に記載のバッテリモジュール。
【請求項6】
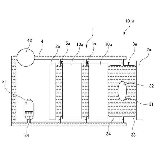
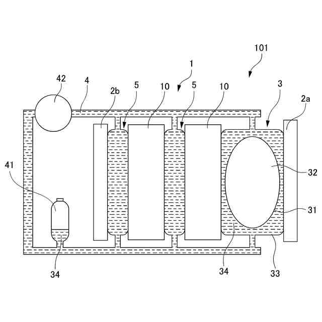
複数個のバッテリセルと、一対のエンドプレートと、内側弾性容器及び前記内側弾性容器を収容する外側弾性容器を有する二重構造体と、を用意する工程と、
複数個の前記バッテリセルを積層し、得られたセル積層体の積層方向の両端に、一対のエンドプレートを配置するとともに、前記バッテリセルと前記バッテリセルとの間及び前記バッテリセルと前記エンドプレートとの間の少なくとも一方に前記二重構造体を配置する工程と、
前記内側弾性容器に気体を充填する工程と、
前記外側弾性容器に、アキュームレータを有する循環配管を接続して、前記内側弾性容器と前記外側弾性容器との間に液体を充填する工程と、を含むバッテリモジュールの製造方法。
発明の詳細な説明
【技術分野】
【0001】
本発明は、バッテリモジュール及びその製造方法に関する。
続きを表示(約 2,200 文字)
【背景技術】
【0002】
近年、より多くの人々が手ごろで信頼でき、持続可能かつ先進的なエネルギーへのアクセスを確保できるようにするため、エネルギーの効率化に貢献するバッテリモジュールに関する研究開発が行われている。バッテリモジュールは、複数個のバッテリセルを組み合わせてモジュール化したものであり、一般に、複数個のバッテリセルを積層したセル積層体と、セル積層体の積層方向の両端に配置された一対のエンドプレートとを含む。バッテリモジュールは、電気自動車やハイブリッド電気自動車のモータ駆動用等、大電流、高電圧を要する用途に用いられる。
【0003】
バッテリモジュールでは、バッテリセルとバッテリセルとの間やセル積層体とエンドプレートとの間にクッション材を配置して、バッテリセルの積層方向に圧力を付与することが検討されている。クッション材としては、変形可能なチャンバと、そのチャンバを変形させる流体を供給するシステムを有するクッション材(特許文献1)、板ばねや液体ばねなどのばね弾性体(特許文献2、特許文献3)が知られている。
【先行技術文献】
【特許文献】
【0004】
特開2020-64848号公報
特開2021-96974号公報
欧州特許出願公開第3886202号明細書
【発明の概要】
【発明が解決しようとする課題】
【0005】
ところで、バッテリモジュールに関する技術においては、電気容量の向上と小型化が課題である。バッテリモジュールの電気容量の向上のために、クッション材を介してバッテリモジュールに組み込まれた各バッテリセルの全体に均一な圧力を付与することは有効である。内部に流体が充填されている流体クッションは内圧の均一性が高いため、バッテリセルの全体に対して高い均一性で圧力を付与することが可能となる。また、流体に液体を用いた第2緩衝材は吸熱性が高いので、バッテリセルの温度を調整する効果がある。一方、バッテリセルとして、電荷移動媒体にリチウムイオンを用い、充電時に負極層にリチウム金属を析出させ、放電時にリチウム金属をリチウムイオンとして正極層に移動させるリチウム金属電池が検討されている。このリチウム金属電池は、充放電による厚みの変化が大きい。このため、流体クッションを用いて、リチウム金属電池に均一な圧力を付与するためには、充電時は内部の流体量を少なくし、放電時は内部の流体量を多くする必要がある。しかしながら、流体クッションの流体量を調整するために、流体タンクを用いるとバッテリモジュールの小型化が困難となる。
【0006】
本発明は、上記の事情に鑑みてなされたものであり、バッテリセルの充放電による厚みの変化が大きい場合でも、バッテリセルに対して均一な圧力を付与することができ、かつ小型化が可能なバッテリモジュール及びその製造方法を提供することを目的としたものである。そして、延いてはエネルギーの効率化に寄与するものである。
【課題を解決するための手段】
【0007】
本発明者らは、バッテリセルとバッテリセルとの間もしくはバッテリセルとエンドプレートとの間に、内側弾性容器と外側弾性容器を有する二重構造で、内側弾性容器に気体が充填され、内側弾性容器の外面と外側弾性容器の内面との間に液体が充填された第1緩衝材を配置し、外側弾性容器を、アキュームレータを有する循環配管に接続することによって上記課題を解決できることを見出し、本発明を完成するに至った。したがって、本発明は、次のものを提供する。
【0008】
(1)複数個のバッテリセルを積層したセル積層体と、前記セル積層体の積層方向の両端に配置された一対のエンドプレートと、前記バッテリセルと前記バッテリセルとの間及び前記バッテリセルと前記エンドプレートとの間の少なくとも一方に配置されている第1緩衝材と、を含み、前記第1緩衝材は、内側弾性容器及び前記内側弾性容器を収容する外側弾性容器を有し、前記内側弾性容器の内部は、気体が充填されていて、前記内側弾性容器の外面と前記外側弾性容器の内面との間に液体が充填されていて、前記外側弾性容器は、液体配管に接続し、前記液体配管は、アキュームレータを有する循環配管である、バッテリモジュール。
【0009】
(1)のバッテリモジュールによれば、充電によってバッテリセルの厚みが増加して、第1緩衝材が押圧されたときの内側弾性容器と外側弾性容器の間に充填された液体の液圧の上昇を、内側弾性容器の収縮とアキュームレータの蓄圧によって抑制することができる。このため、バッテリセルの充放電による厚みの変化が大きい場合でも、バッテリセルに対して均一な圧力を付与することができる。また、液体を貯留するためのタンクとしてアキュームレータを利用するので小型化が容易となる。さらに、第1緩衝材の内部に充填された液体は循環配管内を循環して、液温が均一になるので、バッテリセルの温度上昇を抑制することができる。
【0010】
(2)前記第1緩衝材は、前記内側弾性容器の容積と前記外側弾性容器の容積の合計容積を100としたときの前記内側弾性容器の容積が30以上70以下の範囲内にある、(1)に記載のバッテリモジュール。
(【0011】以降は省略されています)
この特許をJ-PlatPat(特許庁公式サイト)で参照する
関連特許
本田技研工業株式会社
車両
2か月前
本田技研工業株式会社
車両
1か月前
本田技研工業株式会社
車両
2か月前
本田技研工業株式会社
飛行体
4日前
本田技研工業株式会社
電解装置
今日
本田技研工業株式会社
固体電池
2か月前
本田技研工業株式会社
排気装置
2か月前
本田技研工業株式会社
回転電機
6日前
本田技研工業株式会社
二次電池
1か月前
本田技研工業株式会社
内燃機関
2か月前
本田技研工業株式会社
触媒装置
1か月前
本田技研工業株式会社
排気装置
2か月前
本田技研工業株式会社
固体電池
1か月前
本田技研工業株式会社
排気装置
2か月前
本田技研工業株式会社
発電セル
2か月前
本田技研工業株式会社
除草装置
2か月前
本田技研工業株式会社
全固体電池
1か月前
本田技研工業株式会社
電極積層体
2か月前
本田技研工業株式会社
全固体電池
1か月前
本田技研工業株式会社
リアクトル
2か月前
本田技研工業株式会社
鞍乗型車両
2か月前
本田技研工業株式会社
鞍乗型車両
2か月前
本田技研工業株式会社
電動船外機
1か月前
本田技研工業株式会社
灯火器構造
4日前
本田技研工業株式会社
蓄電システム
13日前
本田技研工業株式会社
始動制御装置
2か月前
本田技研工業株式会社
冷却液タンク
11日前
本田技研工業株式会社
燃料電池構造
2か月前
本田技研工業株式会社
始動制御装置
2か月前
本田技研工業株式会社
電池製造装置
2か月前
本田技研工業株式会社
鞍乗り型車両
2か月前
本田技研工業株式会社
車両制御装置
2か月前
本田技研工業株式会社
燃料電池装置
2か月前
本田技研工業株式会社
電池モジュール
1か月前
本田技研工業株式会社
電池モジュール
1か月前
本田技研工業株式会社
電池の処理方法
2か月前
続きを見る
他の特許を見る