TOP
|
特許
|
意匠
|
商標
特許ウォッチ
Twitter
他の特許を見る
10個以上の画像は省略されています。
公開番号
2025154727
公報種別
公開特許公報(A)
公開日
2025-10-10
出願番号
2024057893
出願日
2024-03-29
発明の名称
多点振動計測テストベンチ
出願人
株式会社OptoComb
代理人
個人
,
個人
,
個人
主分類
G01H
9/00 20060101AFI20251002BHJP(測定;試験)
要約
【課題】複数点の振動情報を同時に必要とする場合に対応することができ、広いエリアの振動情報を取得することでより正しく振動要因を調査することが可能となって測定対象の振動情報を複数点同時に計測する多点振動計測テストベンチを提供する。
【解決手段】光源1から光分配器110を介して複数の光路に分配された測定光と参照光を用いて、複数の多点振動計測部170A,170B,・・・により、測定対象物5の測定面上で二次元に分布した複数の測定点の振動情報を同期して取得し、統合処理部190において、上記複数の多点振動計測部により同期して取得される各ローカル座標の振動情報をテストベンチが設置された三次元空間を定義するグローバル座標における三次元振動情報に統合し、統合されたグローバル座標(X
global
,Y
global
,Z
global
)の三次元振動情報についてFFT解析して、震源位置の特定や振動分布の画像表示などを行う。
【選択図】図2
特許請求の範囲
【請求項1】
光を用いて測定対象物の振動情報を複数点同時に計測する多点振動計測テストベンチであって、
所定の周波数間隔のスペクトルであり、干渉性のある測定光と参照光を出力する光源と、
上記光源から出力された測定光と参照光をそれぞれ複数の光路に分配する光分配器と、
テストベンチに設置された上記測定対象物が位置する三次元空間に配置され、それぞれ、上記光分配器により複数の光路に分配された測定光と参照光を用いて、測定対象物の測定面上で二次元に分布した複数の測定点の振動情報を同期して取得する複数の多点振動計測部と、
上記複数の多点振動計測部により同期して取得された各振動情報を三次元振動情報に統合する統合処理部と
を備え、
上記統合処理部では、上記テストベンチが設置された三次元空間において、上記テストベンチ上に設定された原点または上記テストベンチに設置された測定対象物上に設定された原点を基準とするグローバル座標で上記複数の多点振動計測部の各取り付け位置と向きを付与し、上記複数の多点振動計測部が上記測定対象物の測定面上で二次元に分布した複数の測定点に測定光を照射する各照射点のローカル座標や光線ベクトルを各々多点振動計測部のグローバル座標と取り付け角度、測定光射出角度などの情報を元に上記テストベンチが設置された三次元空間を定義するグローバル座標に変換し、上記複数の多点振動計測部により同期して取得される上記各ローカル座標の振動情報を上記三次元空間を定義するグローバル座標における三次元振動情報に統合することを特徴とする多点振動計測テストベンチ。
続きを表示(約 2,800 文字)
【請求項2】
上記多点振動計測部は、
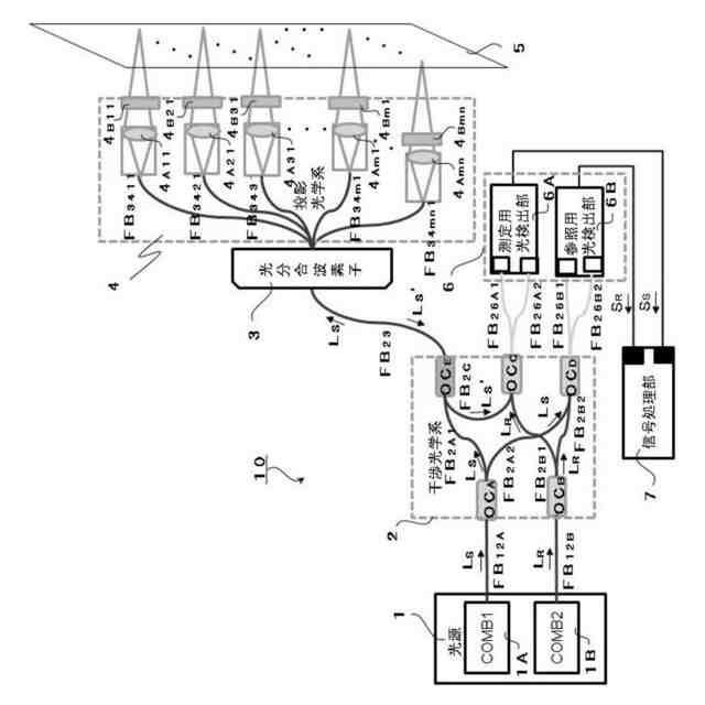
上記光分配器により複数の光路に分配された測定光と参照光がそれぞれ入力される干渉光学系と、上記干渉光学系から入力された測定光に含まれる各周波数成分を分波する光分波素子と、上記光分波素子により分波された各周波数成分を測定対象の測定面上の複数の測定点に照射する投影光学系と、上記測定面上の複数の測定点で反射されて戻ってくる上記測定光の各周波数成分を合波して上記干渉光学系に入力させる光合波素子と、上記光分波素子により分波された上記測定光に含まれる各周波数成分を上記投影光学系に入力させるとともに、上記測定面上の複数の測定点で反射されて戻ってくる上記測定光の各周波数成分を上記光合波素子に入力させる結合光学系とを備える多点計測ヘッドと、
上記干渉光学系において、上記測定面上の複数の測定点で反射されて上記多点計測ヘッドに備えられた上記光合波素子を介して戻ってくる上記各周波数成分を含む測定光と上記光源から出力された参照光とを干渉させた測定用干渉光を受光して電気信号に変換した上記測定対象物の測定面上で二次元に分布した複数の測定点における振動情報を含む測定用干渉信号を得る測定用干渉光検出部と
からなることを特徴とする請求項1に記載の多点振動計測テストベンチ。
【請求項3】
上記測定対象物が位置する三次元空間に配置され、それぞれ、上記光分配器により複数の光路に分配された測定光と参照光を用いて、上記測定対象物の測定面上の一つ測定点の振動情報を同期して取得する少なくとも一つの一点振動計測部を備え、
上記統合処理部では、上記テストベンチが設置された三次元空間において、上記テストベンチ上に設定された原点または上記テストベンチに設置された測定対象物上に設定された原点を基準とするグローバル座標で上記複数の多点振動計測部の各取り付け位置と向きを付与し、上記複数の多点振動計測部が上記測定対象物の測定面上で二次元に分布した複数の測定点に測定光を照射する各照射点のローカル座標や光線ベクトルを各々多点振動計測部のグローバル座標と取り付け角度、測定光射出角度などの情報を元に上記テストベンチが設置された三次元空間を定義するグローバル座標に変換するとともに、上記テストベンチ上に設定された原点または上記テストベンチに設置された測定対象物上に設定された原点を基準とするグローバル座標で上記少なくとも一つの一点振動計測部の取り付け位置と向きを付与し、上記少なくとも一つの一点振動計測部が上記測定対象物の測定面の1つの測定点に測定光を照射する照射点のローカル座標や光線ベクトルを上記少なくとも一つの一点振動計測部のグローバル座標と取り付け角度、測定光射出角度などの情報を元に上記テストベンチが設置された三次元空間を定義するグローバル座標に変換し、上記複数の多点振動計測部と上記少なくとも一つの一点振動計測部により同期して取得される各振動情報を三次元振動情報に統合することを特徴とする請求項1に記載の多点振動計測テストベンチ。
【請求項4】
上記一点振動計測部は、
上記光分配器により複数の光路に分配された測定光と参照光が入力される干渉光学系と、
上記干渉光学系を介して上記測定光が入力される光分合波光学系と、
上記光分合波光学系により上記測定光が分波された該測定光に含まれる複数の周波数成分のうちの1周波数成分が入力され、入力された上記1周波数成分の測定光を測定対象の測定面上の1つの測定点に照射し、上記測定面上の1つの測定点で反射されて戻ってくる上記1周波数成分の測定光の反射光を上記光分合波光学系に入力する投影光学系からなる少なくとも1つの一点計測ヘッドと、
上記干渉光学系により得られる干渉光が入力される一点測定用干渉光検出処理部を備え、
上記干渉光学系は、上記測定面上の少なくとも一つの測定点で反射されて上記一点計測ヘッドを介して戻ってくる上記測定光の1つの周波数成分の反射光を上記光分合波光学系により合波して得られる少なく1つの周波数成分の反射光からなる測定光が入力されることにより、上記光分配器から入力される参照光と上記少なく1つの周波数成分の反射光からなる測定光とを干渉させた一点測定用干渉光を得て、
上記一点測定用干渉光検出部は、上記一点測定用干渉光検出部により得られる一点測定用干渉光を受光して電気信号に変換した上記測定面上の少なくとも一つの測定点における振動情報を含む一点測定用干渉信号を得る
ことを特徴とする請求項3に記載の多点振動計測テストベンチ。
【請求項5】
上記多点計測ヘッドは、測定光に含まれる各周波数成分を上記光分波素子により1周波数成分毎に分波した各周波数成分を上記投影光学系を介して測定対象の測定面上の複数の測定点に照射し、上記測定面上の複数の測定点で反射されて戻ってくる上記測定光の1周波数成分毎の各周波数成分を光合波素子により合波することを特徴とする請求項1乃至請求項4の何れか1項に記載の多点振動計測テストベンチ。
【請求項6】
上記多点計測ヘッドは、測定光に含まれる各周波数成分を上記光分波素子により複数周波数成分毎に分波した各周波数成分を上記投影光学系を介して測定対象の測定面上の複数の測定点に照射し、上記測定面上の複数の測定点で反射されて戻ってくる上記測定光の複数周波数成分毎の各周波数成分を光合波素子により合波することを特徴とする請求項1乃至請求項4の何れか1項に記載の多点振動計測テストベンチ。
【請求項7】
上記結合光学系を上記投影光学系に内蔵させたことを特徴とする請求項1乃至請求項4の何れか1項に記載の多点振動計測テストベンチ。
【請求項8】
上記光分波素子は、上記干渉光学系から1本の光ファイバを介して入力された測定光に含まれる各周波数成分を分波して複数本の光ファイバを介して出力し、上記光合波素子は、複数本の光ファイバを介して入力された各周波数成分を合波して1本の光ファイバを介して出力し、
上記結合光学系は、2本の光ファイバから出力される偏光方向が直交した2本の光ビームの光軸を一致させる偏光光学素子を備えることを特徴とする請求項7に記載の多点振動計測テストベンチ。
【請求項9】
上記偏光光学素子は、複屈折性結晶からなることを特徴とする請求項8に記載の多点振動計測テストベンチ。
【請求項10】
上記偏光光学素子は、ウォラストンプリズムからなることを特徴とする請求項8に記載の多点振動計測テストベンチ。
(【請求項11】以降は省略されています)
発明の詳細な説明
【技術分野】
【0001】
本発明は、光を用いて測定対象の振動情報を複数点同時に計測する多点振動計測テストベンチに関する。
続きを表示(約 1,400 文字)
【背景技術】
【0002】
従来より、例えば内燃機関エンジン、電気モータ、又は内燃機関エンジンと電気モータとから成る組み合わせ(所謂ハイブリッド駆動装置) のような駆動ユニットの各種性能試験を行うためのテストベンチが知られている(例えば、特許文献1-3参照)。
【0003】
上記テストベンチは、駆動ユニットの性能、信頼性、および安全性を評価するために使用され、テストベンチ上で駆動ユニットを動作させて、例えば、振動、温度、騒音、および電気的な安定性など、異常な動作や問題を特定するための信頼性テストを実施する。
【0004】
振動の発生原因や振動による負荷を調査するためには、測定対象の面内の振動分布の計測が求められる。例えば、定常的な振動であれば、振動の周期に合わせて場所をずらしながら振動計測を行うことによって、面内の振動分布を測ることができる。
【0005】
しかしながら、過渡的に変化する振動を実時間で計測したい場合、どのような周波数成分の振動が含まれているか予め分からない場合等、数点の振動情報を同時に必要とする場合には、数点の振動情報を同時に測定できる振動計測装置が必要となる。
【0006】
また、従来のレーザドップラー振動計は、一般的に速度レンジ毎秒10m程度の振動の振幅を測定することができるが、振動の分布を同期して多点で同時に計測することはできない。また、静止状態の高さを得ることはできない。
【0007】
本件出願人は、所定の周波数間隔のスペクトルであり、干渉性のある参照光と測定光との干渉光を検出して、上記参照光と測定光との位相差を求めることにより、測定対象の測定面の振動情報を解析する振動計において、測定光を周波数成分毎に分波して測定対象の測定面の複数点に照射する光分合波ヘッドを用いることにより、上記測定面の複数点における振動情報を同時に測定可能とした振動計測装置及び振動計測方法を先に提案している(例えば、特許文献4-6参照)。
【0008】
また、周波数シフタを用いることなく、中心周波数f
0
(Hz)かつ周波数間隔f
m
の光コムを、プローブ光として生成し、中心周波数f
0
(Hz)かつ周波数間隔f
m
+Δf
m
の光コムを、参照光として生成することにより、装置構成を簡素化された多点計測可能な振動計が提案されている(例えば、特許文献7参照)。
【0009】
さらに、単一の変調器で多数のモードを有する広帯域の光コムを生成することを可能にした光コム発生器を用いた多点計測型のレーザドップラー振動計が提案されている(特許文献8)。
【先行技術文献】
【特許文献】
【0010】
特開2016-035575号公報
特開2003-207421号公報
特表2021-507251号公報
特許第5336921号公報
特開2010-203860号公報
特許第5363231号公報
特許第7276051号公報
特開2022-47249号公報
【発明の概要】
【発明が解決しようとする課題】
(【0011】以降は省略されています)
この特許をJ-PlatPat(特許庁公式サイト)で参照する
関連特許
他の特許を見る