TOP
|
特許
|
意匠
|
商標
特許ウォッチ
Twitter
他の特許を見る
10個以上の画像は省略されています。
公開番号
2025153741
公報種別
公開特許公報(A)
公開日
2025-10-10
出願番号
2024056359
出願日
2024-03-29
発明の名称
コネクタ、カテーテル、カテーテルシステム、及び医療装置
出願人
東レ株式会社
代理人
個人
,
個人
,
個人
,
個人
主分類
A61M
39/06 20060101AFI20251002BHJP(医学または獣医学;衛生学)
要約
【課題】容易に接続できるコネクタを提供する。
【解決手段】コネクタは40、軸方向に突出する凸部を含む第1部品と、軸方向における第1側から凸部を受け入れる凹部を含む第2部品と、凸部上に位置して第1部品及び第2部品の間をシールする環状の第1シール部材47と、凸部上に位置して第1部品及び第2部品の間をシールする環状の第2シール部材と、を含む。第2シール部材は、第1シール部材よりも軸方向における第1側に位置する。第1部品は、第1シール部材よりも軸方向における第2側となる位置に開口する第1液路LP1と、軸方向における第1シール部材及び第2シール部材の間となる位置に開口する第3液路LP3と、を含む。第2部品は、第1シール部材よりも軸方向における第2側となる位置に開口する第2液路LP2と、軸方向における第1シール部材及び第2シール部材の間となる位置に開口する第4液路LP4と、を含む。
【選択図】図2
特許請求の範囲
【請求項1】
軸方向に突出する凸部を含む第1部品と、
前記軸方向における第1側から前記凸部を受け入れる凹部を含む第2部品と、
前記凸部上に位置し、前記第1部品及び前記第2部品の間をシールする環状の第1シール部材と、
前記凸部上に位置し、前記第1部品及び前記第2部品の間をシールする環状の第2シール部材と、を備え、
前記第2シール部材は、前記第1シール部材よりも前記軸方向における第1側に位置し、
前記第1部品は、前記第1シール部材よりも前記軸方向における第2側となる位置に開口する第1液路と、前記軸方向における前記第1シール部材及び前記第2シール部材の間となる位置に開口する第3液路と、を含み、
前記第2部品は、前記第1シール部材よりも前記軸方向における前記第2側となる位置に開口する第2液路と、前記軸方向における前記第1シール部材及び前記第2シール部材の間となる位置に開口する第4液路と、を含む、コネクタ。
続きを表示(約 1,200 文字)
【請求項2】
前記第1部品は、前記第1シール部材及び前記第2シール部材の間に位置し、前記軸方向に平行な軸線を中心とした周方向に延びる第1溝部を含み、前記第3液路は、前記第1溝部に開口し、及び/又は、
前記第2部品は、前記第1シール部材及び前記第2シール部材の間に位置し、前記軸方向に平行な軸線を中心とした周方向に延びる第2溝部を含み、前記第4液路は、前記第2溝部に開口する、請求項1記載のコネクタ。
【請求項3】
前記第1溝部及び/又は前記第2溝部が環状に延びる、請求項2記載のコネクタ。
【請求項4】
前記凸部は、第1収容凹部及び第2収容凹部を含み、
前記第1シール部材は、前記第1収容凹部に配置されたOリングであり、
前記第2シール部材は、前記第2収容凹部に配置されたOリングである、請求項1~3のいずれか一項記載のコネクタ。
【請求項5】
前記凹部に挿入された前記凸部は、前記凹部に対して、前記軸方向に平行な軸線を中心として相対回転可能であり、
前記第1液路は、前記軸線上において前記軸方向における第2側に開口し、
前記第2液路は、前記軸線上において前記軸方向における第1側に開口する、請求項1~4のいずれか一項記載のコネクタ。
【請求項6】
前記凸部上に位置し、前記第1部品及び前記第2部品の間をシールする環状の第3シール部材を更に備え、
前記第3シール部材は、前記第2シール部材よりも前記軸方向における第1側に位置し、
前記第1部品は、前記軸方向における前記第2シール部材及び前記第3シール部材の間となる位置に開口する第5液路を更に含み、
前記第2部品は、前記軸方向における前記第2シール部材及び前記第3シール部材の間となる位置に開口する第6液路を更に含む、請求項1~5のいずれか一項記載のコネクタ。
【請求項7】
前記第1部品は、複数の第1液路及び/又は複数の第3液路を含む、請求項1~6のいずれか一項記載のコネクタ。
【請求項8】
前記第2部品は、複数の第2液路及び/又は複数の第4液路を含む、請求項1~7のいずれか一項記載のコネクタ。
【請求項9】
前記第1部品及び前記第2部品の一方は、前記軸方向と非平行な方向に突出した突出片を含み、
前記第1部品及び前記第2部品の他方は、前記突出片が通過可能な誘導凹部を含み、
前記誘導凹部は、前記軸方向に延びる第1部分と、前記第1部分に接続し前記軸方向と非平行な方向に延びる第2部分と、を含む、請求項1~8のいずれか一項記載のコネクタ。
【請求項10】
前記第1部品及び前記第2部品の前記他方は、複数の誘導凹部を含み、
前記複数の誘導凹部は、前記軸方向と平行な軸線を中心として回転対称な構成を有する、請求項9記載のコネクタ。
(【請求項11】以降は省略されています)
発明の詳細な説明
【技術分野】
【0001】
本発明は、コネクタ、カテーテル、カテーテルシステム、及び医療装置に関する。
続きを表示(約 4,200 文字)
【背景技術】
【0002】
特許文献1は、流路を接続するコネクタを記載している。特許文献1に開示されたコネクタは、雄コネクタ及び雌コネクタを含む。雄コネクタを雌コネクタに軸方向に差し込むことにより、雄コネクタ及び雌コネクタが接続し、流路が形成される。
【0003】
特許文献1では、雄コネクタを雌コネクタに差し込む前に、軸方向と平行な軸線を中心とした周方向を位置決めする。しかしながら、コネクタを差し込む前に周方向の位置決めを行うことは、煩雑であり、準備時間を要する。
【先行技術文献】
【特許文献】
【0004】
特開2023-146749号公報
【発明の概要】
【発明が解決しようとする課題】
【0005】
本発明は、以上の点を考慮してなされたものであり、容易に接続できるコネクタの提供を目的とする。
【課題を解決するための手段】
【0006】
本発明の一実施の形態は、次の<1>~<21>に関する。
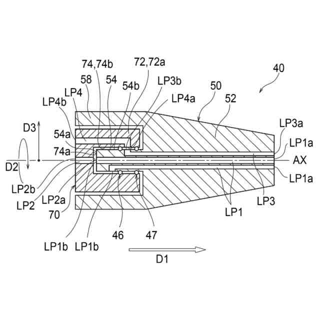
<1> 軸方向に突出する凸部を含む第1部品と、上記軸方向における第1側から上記凸部を受け入れる凹部を含む第2部品と、上記凸部上に位置し、上記第1部品及び上記第2部品の間をシールする環状の第1シール部材と、上記凸部上に位置し、上記第1部品及び上記第2部品の間をシールする環状の第2シール部材と、を備え、上記第2シール部材は、上記第1シール部材よりも上記軸方向における第1側に位置し、上記第1部品は、上記第1シール部材よりも上記軸方向における第2側となる位置に開口する第1液路と、上記軸方向における上記第1シール部材及び上記第2シール部材の間となる位置に開口する第3液路と、を含み、上記第2部品は、上記第1シール部材よりも上記軸方向における上記第2側となる位置に開口する第2液路と、上記軸方向における上記第1シール部材及び上記第2シール部材の間となる位置に開口する第4液路と、を含む、コネクタ。
<2> 上記第1部品は、上記第1シール部材及び上記第2シール部材の間に位置し、上記軸方向に平行な軸線を中心とした周方向に延びる第1溝部を含み、上記第3液路は、上記第1溝部に開口し、及び/又は、上記第2部品は、上記第1シール部材及び上記第2シール部材の間に位置し、上記軸方向に平行な軸線を中心とした周方向に延びる第2溝部を含み、上記第4液路は、上記第2溝部に開口する、<1>記載のコネクタ。
<3> 上記第1溝部及び/又は上記第2溝部が環状に延びる、<2>記載のコネクタ。
<4> 上記第3液路及び上記第4液路は、上記軸方向における上記第1シール部材及び上記第2シール部材の間に位置する上記凸部及び上記凹部の間の隙間に開口している、<1>~<3>のいずれか記載のコネクタ。
<5> 上記凸部は、円柱状である、<1>~<4>のいずれか記載のコネクタ。
<6> 上記凸部は、第1収容凹部及び第2収容凹部を含み、上記第1シール部材は、上記第1収容凹部に配置されたOリングであり、上記第2シール部材は、上記第2収容凹部に配置されたOリングである、<1>~<5>のいずれか記載のコネクタ。
<7> 上記凸部の先端面は、上記凹部の底面に接触する、<1>~<6>のいずれか記載のコネクタ。
<8> 上記凹部に挿入された上記凸部は、上記凹部に対して、上記軸方向に平行な軸線を中心として相対回転可能であり、上記第1液路は、上記軸線上において上記軸方向における第2側に開口し、上記第2液路は、上記軸線上において上記軸方向における第1側に開口する、<1>~<7>のいずれか記載のコネクタ。
<9> 上記凸部上に位置し、上記第1部品及び上記第2部品の間をシールする環状の第3シール部材を更に備え、上記第3シール部材は、上記第2シール部材よりも上記軸方向における第1側に位置し、上記第1部品は、上記軸方向における上記第2シール部材及び上記第3シール部材の間となる位置に開口する第5液路を更に含み、上記第2部品は、上記軸方向における上記第2シール部材及び上記第3シール部材の間となる位置に開口する第6液路を更に含む、<1>~<8>のいずれか記載のコネクタ。
<10> 上記第1部品は、複数の第1液路及び/又は複数の第3液路を含む、<1>~<9>のいずれか記載のコネクタ。
<11> 上記第2部品は、複数の第2液路及び/又は複数の第4液路を含む、<1>~<10>のいずれか記載のコネクタ。
<12> 上記第1部品及び上記第2部品の一方は、上記軸方向と非平行な方向に突出した突出片を含み、上記第1部品及び上記第2部品の他方は、上記突出片が通過可能な誘導凹部を含み、上記誘導凹部は、上記軸方向に延びる第1部分と、上記第1部分に接続し上記軸方向と非平行な方向に延びる第2部分と、を含む、<1>~<11>のいずれか記載のコネクタ。
<13> 上記第1部品及び上記第2部品の上記他方は、複数の誘導凹部を含み、上記複数の誘導凹部は、上記軸方向と平行な軸線を中心として回転対称な構成を有する、<12>記載のコネクタ。
<14> 上記第1部品は、上記凸部に上記軸方向における上記第1側から接続した第1本体部と、上記第1本体部から上記軸方向における上記第2側に突出したカバー筒部と、を含み、上記カバー筒部は、上記凸部の周囲に位置し、上記カバー筒部に、上記突出片及び上記誘導凹部の一方が設けられる、<1>~<13>のいずれか記載のコネクタ。
<15> 上記第1部品及び上記第2部品は互いに着脱可能である、<1>~<14>のいずれか記載のコネクタ。
<16> カテーテル本体と、上記カテーテル本体に接続したハンドルと、<1>~<15>のいずれか記載のコネクタと、を備え、上記第1部品及び上記第2部品の一方は上記ハンドルに接続している、カテーテル。
<17> 上記カテーテル本体は、バルーンと、上記バルーンの近位端に接続した外筒と、上記外筒内を通過して上記バルーン内に延び出し、上記バルーンの遠位端に接続した内筒と、を含む、<16>記載のカテーテル。
<18> <16>又は<17>記載のカテーテルと、上記コネクタに接続した液体源と、を備える、カテーテルシステム。
<19> <1>~<15>のいずれか記載のコネクタを備える、医療装置。
<20> 軸方向に突出する凸部を含む第1部品と、上記軸方向における第1側から上記凸部を受け入れる凹部を有した第2部品と、上記凸部上に位置し、上記第1部品及び上記第2部品の間をシールする環状の第1シール部材と、上記凸部上に位置し、上記第1部品及び上記第2部品の間をシールする環状の第2シール部材と、を備え、上記第2シール部材は、上記第1シール部材よりも上記軸方向における上記第1側に位置し、上記第1部品は、上記軸方向における上記第1シール部材及び上記第2シール部材の間となる位置に開口した第3液路を含み、上記第2部品は、上記軸方向における上記第1シール部材及び上記第2シール部材の間となる位置に開口した第4液路を含む、コネクタ。
<21> 軸方向に突出する凸部を含む第1部品と、上記軸方向における第1側から上記凸部を受け入れる凹部を有した第2部品と、上記凸部上に位置し、上記第1部品及び上記第2部品の間をシールする環状のシール部材と、を備え、上記第1部品は、上記シール部材よりも上記軸方向における第2側となる位置に開口した液路を含み、上記第2部品は、上記シール部材よりも上記軸方向における上記第2側となる位置に開口した液路を含み、上記第1部品及び/又は上記第2部品は、複数の上記流路を含む、コネクタ。
【発明の効果】
【0007】
本発明によれば、コネクタの第1部品と第2部品とを容易に接続することができる。
【図面の簡単な説明】
【0008】
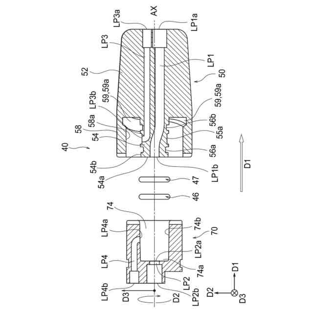
一実施の形態を説明するための図であって、コネクタの一例を示す斜視図。
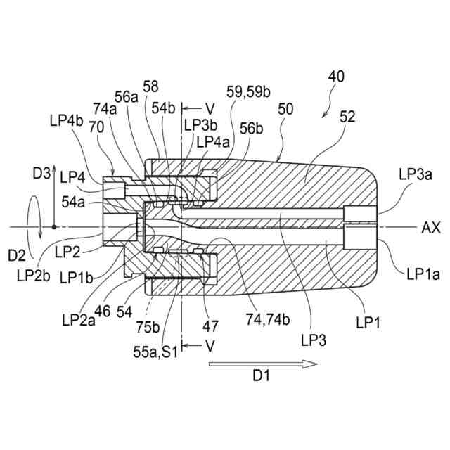
図1に示されたコネクタの断面図。
図1に示されたコネクタの分解斜視図。
図1に示されたコネクタの分解断面図。
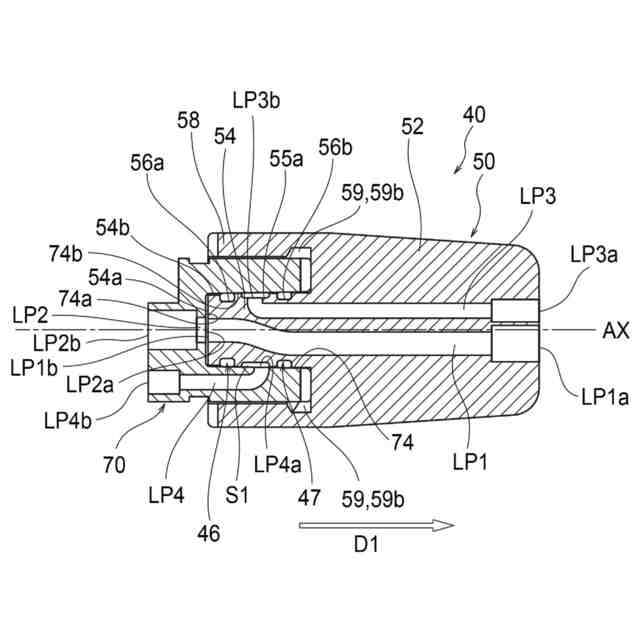
図2のV-V線に沿った断面図。
図1に示されたコネクタの第2部品を示す斜視図。
第1部品及び第2部品を図2とは異なる周方向相対位置で接続した状態で示すコネクタの断面図。
図2対応する断面図であって、コネクタの一変形例を示す模式断面図。
図2対応する断面図であって、コネクタの他の変形例を示す模式断面図。
図2対応する断面図であって、コネクタの更に他の変形例を示す模式断面図。
図2対応する断面図であって、コネクタの更に他の変形例を示す模式断面図。
図2対応する断面図であって、コネクタの更に他の変形例を示す模式断面図。
図2対応する断面図であって、コネクタの更に他の変形例を示す模式断面図。
図2対応する断面図であって、コネクタの更に他の変形例を示す模式断面図。
本実施の形態のコネクタを含む医療装置としてのカテーテルシステムを示す図。
図15に示されたカテーテルシステムの部分拡大図。
【発明を実施するための形態】
【0009】
以下、図面を参照して本開示の一実施の形態について説明する。本件明細書に添付する図面においては、理解のしやすさの便宜上、適宜縮尺及び縦横の寸法比等を、実物のそれらから変更し誇張してある。一部の図において示された構成等が、他の図において省略されていることもある。図面間で、縮尺および縦横の寸法比等が異なることもある。
【0010】
本明細書において、形状や幾何学的条件ならびにそれらの程度を特定する、例えば、「平行」、「直交」、「同一」等の用語や長さや角度の値等については、厳密な意味に限定されることなく、同様の機能を期待し得る程度の範囲を含めて解釈する。
(【0011】以降は省略されています)
この特許をJ-PlatPat(特許庁公式サイト)で参照する
関連特許
東レ株式会社
防護服
19日前
東レ株式会社
浄水器
1か月前
東レ株式会社
化粧料
4日前
東レ株式会社
積層フィルム
1か月前
東レ株式会社
積層フィルム
18日前
東レ株式会社
光透過性表皮材
18日前
東レ株式会社
黒色樹脂組成物
23日前
東レ株式会社
加飾用フィルム
23日前
東レ株式会社
無配向フィルム
12日前
東レ株式会社
多層積層フィルム
1か月前
東レ株式会社
多孔質炭素シート
1か月前
東レ株式会社
不織布の製造装置
17日前
東レ株式会社
飛翔体用ブレード
12日前
東レ株式会社
貼合体の製造方法
12日前
東レ株式会社
赤外線遮蔽構成体
12日前
東レ株式会社
中空糸膜モジュール
23日前
東レ株式会社
遮熱性アクリル繊維
24日前
東レ株式会社
テーパ付き円筒部材
18日前
東レ株式会社
溶融紡糸口金パック
24日前
東レ株式会社
繊維断面の検査方法
24日前
東レ株式会社
フィルムの製造装置
12日前
東レ株式会社
車両用衝撃吸収部材
12日前
東レ株式会社
サンドイッチ構造体
1か月前
東レ株式会社
太陽電池モジュール
18日前
東レ株式会社
ポリエステルフィルム
1か月前
東レ株式会社
複合成形体の製造方法
1か月前
東レ株式会社
ガス拡散層の製造方法
1か月前
東レ株式会社
複合成形体の製造方法
12日前
東レ株式会社
ポリエステルフィルム
9日前
東レ株式会社
ポリプロピレンフィルム
23日前
東レ株式会社
織物およびシート表皮材
1か月前
東レ株式会社
プラスチック光ファイバ
1か月前
東レ株式会社
霧化状活性液体供給装置
1か月前
東レ株式会社
ゴム補強用合成繊維コード
1か月前
東レ株式会社
ゴム補強用合成繊維コード
1か月前
東レ株式会社
織物および織物プリプレグ
1か月前
続きを見る
他の特許を見る